СИСТЕМА ПЕРЕДАЧИ ДАННЫХ CAN (для моделей с левосторонним рулевым управлением), Diagnostic DTC:U023A

Код DTC Наименование DTC
U023A Нарушение связи с модулем передней камеры

ОПИСАНИЕ

№ DTC Неисправность Условие обнаружения DTC Неисправный участок Примечание
U023A Нарушение связи с модулем передней камеры Нарушение связи с внутренним зеркалом заднего вида продолжается.
  • Вспомогательная шина или разъем внутреннего зеркала заднего вида

  • Цепь питания внутреннего зеркала заднего вида в сборе.

  • Цепь массы внутреннего зеркала заднего вида

  • Внутреннее зеркало заднего вида в сборе

Tech Tips

ЭБУ сетевого шлюза сохраняет коды DTC, когда регистрирует прекращение обмена данными или ошибку передачи данных по сети для ЭБУ, подключенных к вспомогательной шине 2.

Tech Tips

Эта диагностическая процедура предназначена для случаев, когда ЭБУ сетевого шлюза выводит код DTC U023A (информация на экране GTS: Gateway).

СХЕМА ЭЛЕКТРИЧЕСКИХ СОЕДИНЕНИЙ

A01UECXE06

ПРЕДОСТЕРЕЖЕНИЕ / ПРИМЕЧАНИЕ / УКАЗАНИЕ

Note


  • Перед измерением сопротивления шины CAN, выключите зажигание и оставьте автомобиль в покое на 1 минуту или более, не приводя в действие ключ, любые другие переключатели и не открывая/закрывая двери. После этого, отсоедините провод от отрицательного (-) вывода аккумуляторной батареи и перед измерением сопротивления оставьте автомобиль в покое на 1 минуту или более.

  • После выключения зажигания следует подождать некоторое время, прежде чем отсоединять провод от отрицательного (-) вывода аккумуляторной батареи. Поэтому, прежде чем приступать к этой работе, обязательно ознакомьтесь с примечанием относительно отсоединения провода от отрицательного (-) вывода аккумуляторной батареи.

    Нажмите здесь Click here

  • Так как порядок проведения диагностики важен для получения корректных результатов, начните поиск неисправностей с раздела "Порядок поиска неисправностей", если выводятся коды DTC, связанные с системой передачей данных CAN.

    Нажмите здесь Click here

  • После ремонта выполните процедуру проверки кодов DTC и убедитесь, что коды DTC не выводятся снова.

  • Процедура проверки кодов DTC: Включите зажигание (IG) и подождите не менее 10 с.

  • После ремонта выполните проверку шины CAN и убедитесь, что отображаются все ЭБУ и датчики, подсоединенные к системе передачи данных CAN.

    Нажмите здесь Click here

  • Перед выполнением последующей процедуры проверки проверьте плавкие предохранители цепей, относящихся к данной системе.

Tech Tips


  • Управление выключателем зажигания, какими-либо выключателями или дверями приводит к обмену данными между ЭБУ и датчиками по шине CAN. При осуществлении обмена данными сопротивление изменяется.

  • Если DTC регистрируется при непродолжительном движении на автомобиле даже после удаления кодов DTC, неисправность может возникать вследствие вибрации автомобиля. В подобных случаях необходимо пошевелить разъемы ЭБУ или жгутов проводов во время проверки, чтобы установить причину неисправности.

ПОРЯДОК ВЫПОЛНЕНИЯ


  1. СНОВА ПРОВЕРЬТЕ ВЫВОДИМЫЕ DTC


    1. Снова проверьте диагностические коды неисправности DTC.


      Body Electrical > Gateway > Trouble Codes

      Tech Tips

      Если шлюз ЭБУ сетевого шлюза выводит код DTC U1002, это указывает на неисправность вспомогательной шины 2. Выполните диагностику для кода DTC U1002 и проверьте исправность вспомогательной шины 2.

      Результат
      Результат Перейти к
      ЭБУ сетевого шлюза не выводит код DTC U1002 (информация на экране GTS: Gateway) А
      ЭБУ сетевого шлюза выводит код DTC U1002 (информация на экране GTS: Gateway) B

    B
    А
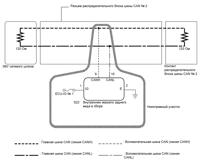
  2. ПРОВЕРЬТЕ ВСПОМОГАТЕЛЬНУЮ ШИНУ 2 НА ОБРЫВ (ВСПОМОГАТЕЛЬНАЯ ШИНА ВНУТРЕННЕГО ЗЕРКАЛА ЗАДНЕГО ВИДА)


    1. Отсоедините провод от отрицательного (-) вывода аккумуляторной батареи.

    2. A01UEOUC06
      *a

      Вид спереди разъема со стороны жгута проводов:

      (к внутреннему зеркалу заднего вида в сборе)

      Отсоедините разъем S22 внутреннего зеркала заднего вида в сборе.

    3. Измерьте сопротивление в соответствии со значениями, приведенными в таблице ниже.

      Номинальное сопротивление
      Подключение диагностического прибора Условие Заданные условия
      S22-9 (CANH) - S22-10 (CANL) Провод отсоединен от отрицательного (-) вывода аккумуляторной батареи 54 - 69 Ом
      Результат
      Результат
      OK
      NG

    NG
    OK
  3. ПРОВЕРЬТЕ ЖГУТ ПРОВОДОВ И РАЗЪЕМ (ЦЕПЬ ПИТАНИЯ)


    1. A01UEOUC09
      *a

      Вид спереди разъема со стороны жгута проводов:

      (к внутреннему зеркалу заднего вида в сборе)

      Измерьте сопротивление в соответствии со значениями, приведенными в таблице ниже.

      Номинальное сопротивление
      Подключение диагностического прибора Условие Заданные условия
      S22-2 (E) - масса Провод отсоединен от отрицательного (-) вывода аккумуляторной батареи Менее 1 Ом
    2. Вновь подсоедините провод к отрицательному (-) выводу аккумуляторной батареи.

    3. Измерьте напряжение в соответствии со значениями, приведенными в таблице.

      Номинальное напряжение
      Подключение диагностического прибора Условие Заданные условия
      S22-1 (IG) - масса Выключатель зажигания в состоянии ON (ВКЛ) (IG) 11-14 В
      Результат
      Результат
      OK
      NG

    OK
    NG