Click here

СИСТЕМА ПЕРЕДАЧИ ДАННЫХ CAN (для моделей с правосторонним рулевым управлением) КОНТАКТЫ ЭБУ

Click here
Click here Click here
Note:
  • После выключения зажигания следует подождать некоторое время, прежде чем отсоединять провод от отрицательного (-) вывода аккумуляторной батареи. Поэтому, прежде чем приступать к этой работе, обязательно ознакомьтесь с примечанием относительно отсоединения провода от отрицательного (-) вывода аккумуляторной батареи.

    Нажмите здесьClick here

  • Выключите зажигание перед измерением сопротивления между линиями главной и вспомогательной (отводной) шин CAN.

  • Выключите зажигание перед проверкой короткого замыкания шины CAN на массу.

  • Перед измерением сопротивления шины CAN, выключите зажигание и оставьте автомобиль в покое на 1 минуту или более, не приводя в действие ключ, любые другие переключатели и не открывая/закрывая двери. После этого отсоедините провод от отрицательного (-) вывода аккумуляторной батареи и перед измерением сопротивления оставьте автомобиль в покое на 1 минуту или более.

  • В данном разделе приведены стандартные значения для всех компонентов, связанных с CAN.

Tip:
  • Управление выключателем зажигания, какими-либо выключателями или дверями приводит к обмену данными между ЭБУ и датчиками по шине CAN. При осуществлении обмена данными сопротивление изменяется.

  • Если DTC регистрируется при непродолжительном движении на автомобиле даже после удаления кодов DTC, неисправность может возникать вследствие вибрации автомобиля. В подобных случаях необходимо пошевелить разъемы ЭБУ или жгутов проводов во время проверки, чтобы установить причину неисправности.


Click here
  1. РАЗЪЕМ РАСПРЕДЕЛИТЕЛЬНОГО БЛОКА ШИНЫ CAN № 1


    1. Проверьте разъем распределительного блока шины CAN № 1.

      Tip:

      Разъемы, подключенные к разъему распределительного блока шины CAN, можно различать по цвету шин CAN. После отсоединения разъемов от разъема распределительного блока шины CAN подсоединение разъемов к ненадлежащим местам разъема распределительного блока шины CAN не влияет на работу системы. Однако желательно подсоединять разъемы к соответствующим местам, чтобы не повредить проводку, например, в результате натяжения жгутов, а также облегчить последующие обслуживание.


      1. A01UD2GC02
        *a

        Устройство с подсоединенным жгутом проводов

        (разъем распределительного блока шины CAN № 1)

        *b

        К переключателю электропривода правого переднего сиденья

        (для моделей с системой запоминания положения сиденья)

        *c

        К ЭБУ электропривода наружного зеркала в сборе (со стороны водителя)

        (для моделей с системой запоминания положения сиденья)

        *d к блоку электропривода правой раздвижной двери
        *e к разъему № 5 распределительного блока шины CAN *f к ЭБУ левой фары

        Схема соединений

      2. Схема соединений устройств, подключенных к разъему распределительного блока шины CAN № 1.

        Номера контактов (обозначения) Цвет проводки Куда подсоединить
        G87-1 (CANH) GR

        Переключатель электропривода правого переднего сиденья*

        (для вспомогательной шины 1)

        G87-2 (CANL) W
        G86-1 (CANH) SB

        ЭБУ электропривода наружного зеркала в сборе (со стороны водителя)*

        (для вспомогательной шины 1)

        G86-2 (CANL) W
        G85-1 (CANH) LG

        Блок электропривода правой раздвижной двери

        (для вспомогательной шины 1)

        G85-2 (CANL) W
        G84-1 (CANH) BE

        Разъем распределительного блока шины CAN № 5

        (для вспомогательной шины 1)

        G84-2 (CANL) W
        G83-1 (CANH) B

        ЭБУ управления левой фарой

        (для вспомогательной шины 1)

        G83-2 (CANL) W

        • *: для моделей с системой запоминания положения сиденья

  2. РАЗЪЕМ РАСПРЕДЕЛИТЕЛЬНОГО БЛОКА ШИНЫ CAN № 3


    1. Проверьте разъем распределительного блока шины CAN № 3.


      1. A01UE4NC67
        *a

        Вид спереди разъема со стороны жгута проводов:

        (к разъему распределительного блока шины CAN № 3)

        *b

        К ЭБУ запуска и останова двигателя

        (для моделей с системой запуска и останова)

        *c К ECM *d К главному ЭБУ кузова (бортовому ЭБУ сети мультиплексной связи)
        *e К ЭБУ системы SRS в сборе *f К ЭБУ стояночного тормоза в сборе
        *g к ЭБУ системы противоскольжения (блоку управления рабочими цилиндрами тормозов) *h к разъему № 4 распределительного блока шины CAN
        *i

        К приемнику системы навигации в сборе

        (для моделей с приемником системы навигации)

        *j К блоку управления системой кондиционирования

        Схема соединений

      2. Схема соединений устройств, подключенных к разъему распределительного блока шины CAN № 3.

        Номера контактов (обозначения) Цвет проводки Куда подсоединить
        G97-1 (CANH) P

        ЭБУ запуска и останова двигателя*1

        (для шины V)

        G97-11 (CANL) W
        G97-3 (CANH) LG

        ECM

        (для шины V)

        G97-13 (CANL) W
        G97-4 (CANH) R

        Главный ЭБУ кузова (бортовой ЭБУ сети мультиплексной связи)

        (для шины V)

        G97-14 (CANL) W
        G97-5 (CANH) Y

        ЭБУ системы SRS в сборе

        (для шины V)

        G97-15 (CANL) W
        G97-6 (CANH) G

        ЭБУ стояночного тормоза в сборе

        (для шины V)

        G97-16 (CANL) W
        G97-7 (CANH) GR

        ЭБУ системы противоскольжения (блок управления рабочими цилиндрами тормозов в сборе)

        (для шины V)

        G97-17 (CANL) W
        G97-8 (CANH) B

        Разъем распределительного блока шины CAN № 4

        (для шины V)

        G97-18 (CANL) W
        G97-9 (CANH) L

        Приемник системы навигации в сборе*2

        (для шины V)

        G97-19 (CANL) W
        G97-10 (CANH) BE

        Блок управления системой кондиционирования в сборе

        (для шины V)

        G97-20 (CANL) W

        • *1: для моделей с системой запуска и останова

        • *2: для моделей с приемником системы навигации

  3. РАЗЪЕМ РАСПРЕДЕЛИТЕЛЬНОГО БЛОКА ШИНЫ CAN № 4


    1. Проверьте разъем распределительного блока шины CAN № 4.


      1. A01UE4NC68
        *a

        Вид спереди разъема со стороны жгута проводов:

        (к разъему распределительного блока шины CAN № 4)

        *b к разъему № 3 распределительного блока шины CAN
        *c К щитку приборов в сборе *d к ЭБУ сертификации (ЭБУ электронного ключа зажигания в сборе)
        *e к ЭБУ рулевого управления с усилителем в сборе *f К DLC3
        *g к датчику положения рулевого колеса *h к ЭБУ предупреждения о недопустимой дистанции
        *i к дополнительному разъему (ЭБУ буфера шины) - -

        Схема соединений

      2. Схема соединений устройств, подключенных к разъему распределительного блока шины CAN № 4.

        Номера контактов (обозначения) Цвет проводки Куда подсоединить
        G98-1 (CANH) B

        Разъем распределительного блока шины CAN № 3

        (для шины V)

        G98-11 (CANL) W
        G98-2 (CANH) Y

        Щиток приборов в сборе

        (для шины V)

        G98-12 (CANL) W
        G98-3 (CANH) G

        ЭБУ сертификации (ЭБУ электронного ключа зажигания в сборе)

        (для шины V)

        G98-13 (CANL) W
        G98-5 (CANH) P

        ЭБУ рулевого управления с усилителем

        (для шины V)

        G98-15 (CANL) W
        G98-6 (CANH) В

        DLC3

        (для шины V)

        G98-16 (CANL) W
        G98-7 (CANH) BE

        Датчик положения рулевого колеса

        (для шины V)

        G98-17 (CANL) W
        G98-9 (CANH) LG

        ЭБУ предупреждения о недопустимой дистанции

        (для шины V)

        G98-19 (CANL) W
        G98-10 (CANH) P

        Дополнительный разъем (ЭБУ буфера шины)

        (для шины V)

        G98-20 (CANL) W
  4. РАЗЪЕМ РАСПРЕДЕЛИТЕЛЬНОГО БЛОКА ШИНЫ CAN № 5


    1. Проверьте разъем распределительного блока шины CAN № 5.

      Tip:

      Разъемы, подключенные к разъему распределительного блока шины CAN, можно различать по цвету шин CAN. После отсоединения разъемов от разъема распределительного блока шины CAN подсоединение разъемов к ненадлежащим местам разъема распределительного блока шины CAN не влияет на работу системы. Однако желательно подсоединять разъемы к соответствующим местам, чтобы не повредить проводку, например, в результате натяжения жгутов, а также облегчить последующее обслуживание.


      1. A01UE85C05
        *a

        Устройство с подсоединенным жгутом проводов

        (разъем распределительного блока шины CAN № 5)

        *b К главному ЭБУ кузова (бортовому ЭБУ сети мультиплексной связи)
        *c к разъему № 1 распределительного блока шины CAN *d к реле управления освещением салона
        *e к блоку электропривода левой раздвижной двери *f

        к блоку электропривода двери багажного отделения

        (для моделей с автоматизированным электроприводом двери багажного отделения)

        *g

        К ЭБУ двери сети мультиплексной связи

        (для моделей с доводчиком двери багажного отделения без автоматизированного привода двери багажного отделения)

        *h

        К ЭБУ электропривода наружного зеркала в сборе (со стороны переднего пассажира)

        (для моделей с системой запоминания положения сиденья)

        Схема соединений

      2. Схема соединений устройств, подключенных к разъему распределительного блока шины CAN № 5.

        Номера контактов (обозначения) Цвет проводки Куда подсоединить
        G99-1 (CANH) G

        Главный ЭБУ кузова (бортовой ЭБУ сети мультиплексной связи)

        (для вспомогательной шины 1)

        G99-2 (CANL) W
        G100-1 (CANH) BE

        Разъем распределительного блока шины CAN № 1

        (для вспомогательной шины 1)

        G100-2 (CANL) W
        G101-1 (CANH) В

        Реле управления освещением салона

        (для вспомогательной шины 1)

        G101-2 (CANL) W
        G102-1 (CANH) P

        Блок электропривода левой раздвижной двери

        (для вспомогательной шины 1)

        G102-2 (CANL) W
        G103-1 (CANH) L

        Блок электропривода двери багажного отделения*1

        (для вспомогательной шины 1)

        G103-2 (CANL) W
        G103-1 (CANH) L

        ЭБУ двери сети мультиплексной связи*2

        (для вспомогательной шины 1)

        G103-2 (CANL) W
        G104-1 (CANH) SB

        ЭБУ электропривода наружного зеркала в сборе (со стороны переднего пассажира)*3

        (для вспомогательной шины 1)

        G104-2 (CANL) W

        • *1: Для моделей с системой автоматизированного привода двери багажного отделения

        • *2: Для моделей с доводчиком двери багажного отделения без автоматизированного привода двери багажного отделения

        • *3: для моделей с системой запоминания положения сиденья

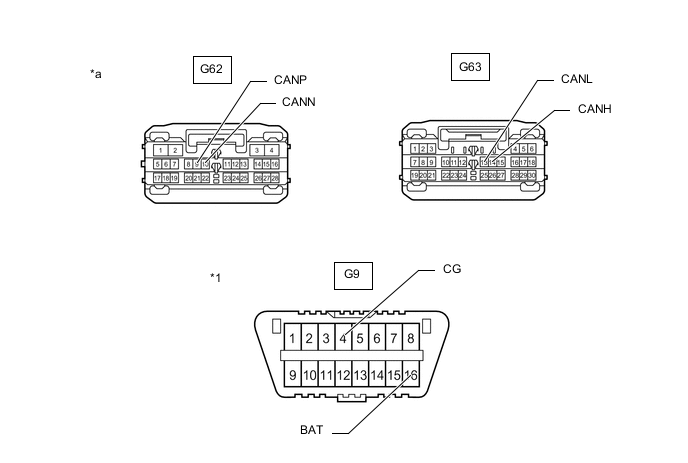
  5. DLC3


    1. Отсоедините провод от отрицательного (-) вывода аккумуляторной батареи.

    2. A01UFDSC28
      *1 DLC3 - -

      Измерьте сопротивление в соответствии со значениями, приведенными в таблице ниже.

      Номинальное сопротивление
      Номера контактов (обозначения) Цвет проводки Назначение контактов Условие Заданные условия
      G9-6 (CANH) - G9-14 (CANL) V - W Линия шины CAN высокого уровня - линия шины CAN низкого уровня Провод отсоединен от отрицательного (-) вывода аккумуляторной батареи 54-69 Ом
      G9-6 (CANH) - G9-4 (CG) V - W-B Линия шины CAN высокого уровня - масса Провод отсоединен от отрицательного (-) вывода аккумуляторной батареи 200 Ом или более
      G9-14 (CANL) - G9-4 (CG) W - W-B Линия шины CAN низкого уровня - масса Провод отсоединен от отрицательного (-) вывода аккумуляторной батареи 200 Ом или более
      G9-6 (CANH) - G9-16 (BAT) V - P Линия шины CAN высокого уровня - положительный вывод аккумуляторной батареи (+) Провод отсоединен от отрицательного (-) вывода аккумуляторной батареи 6 кОм или более
      G9-14 (CANL) - G9-16 (BAT) W - P Линия шины CAN низкого уровня - положительный вывод аккумуляторной батареи (+) Провод отсоединен от отрицательного (-) вывода аккумуляторной батареи 6 кОм или более
  6. A01UDHYC04
    *a

    Устройство с неподсоединенным жгутом проводов

    (ECM)

    - -

    ECM (для моделей с 2GR-FE)


    1. Отсоедините провод от отрицательного (-) вывода аккумуляторной батареи.

    2. Отсоедините разъемы A53 и D73 ЕСМ.

    3. A01UDFSC12
      *a

      Вид спереди разъема со стороны жгута проводов:

      (к ECM)

      - -

      Измерьте сопротивление в соответствии со значениями, приведенными в таблице ниже.

      Номинальное сопротивление
      Номера контактов (обозначения) Цвет проводки Назначение контактов Условие Заданные условия
      A53-13 (CANH) - A53-26 (CANL) B - W Линия шины CAN высокого уровня - линия шины CAN низкого уровня Провод отсоединен от отрицательного (-) вывода аккумуляторной батареи 108-132 Ом
      A53-13 (CANH) - D73-49 (E1) B - BR Линия шины CAN высокого уровня - масса Провод отсоединен от отрицательного (-) вывода аккумуляторной батареи 200 Ом или более
      A53-26 (CANL) - D73-49 (E1) W - BR Линия шины CAN низкого уровня - масса Провод отсоединен от отрицательного (-) вывода аккумуляторной батареи 200 Ом или более
      A53-13 (CANH) - A53-1 (BATT) B - V Линия шины CAN высокого уровня - положительный вывод аккумуляторной батареи (+) Провод отсоединен от отрицательного (-) вывода аккумуляторной батареи 6 кОм или более
      A53-26 (CANL) - A53-1 (BATT) W - V Линия шины CAN низкого уровня - положительный вывод аккумуляторной батареи (+) Провод отсоединен от отрицательного (-) вывода аккумуляторной батареи 6 кОм или более
  7. A01UDHYC05
    *a

    Устройство с неподсоединенным жгутом проводов

    (ECM)

    - -

    ECM (для моделей с 2AR-FE)


    1. Отсоедините провод от отрицательного (-) вывода аккумуляторной батареи.

    2. Отсоедините разъемы A53 и D1 ЕСМ.

    3. A01UDFSC13
      *a

      Вид спереди разъема со стороны жгута проводов:

      (к ECM)

      - -

      Измерьте сопротивление в соответствии со значениями, приведенными в таблице ниже.

      Номинальное сопротивление
      Номера контактов (обозначения) Цвет проводки Назначение контактов Условие Заданные условия
      A53-13 (CANH) - A53-26 (CANL) B - W Линия шины CAN высокого уровня - линия шины CAN низкого уровня Провод отсоединен от отрицательного (-) вывода аккумуляторной батареи 108 - 132 Ом
      A53-13 (CANH) - D1-59 (E1) B - BR Линия шины CAN высокого уровня - масса Провод отсоединен от отрицательного (-) вывода аккумуляторной батареи 200 Ом или более
      A53-26 (CANL) - D1-59 (E1) W - BR Линия шины CAN низкого уровня - масса Провод отсоединен от отрицательного (-) вывода аккумуляторной батареи 200 Ом или более
      A53-13 (CANH) - A53-1 (BATT) B - R Линия шины CAN высокого уровня - положительный вывод аккумуляторной батареи (+) Провод отсоединен от отрицательного (-) вывода аккумуляторной батареи 6 кОм или более
      A53-26 (CANL) - A53-1 (BATT) W-R Линия шины CAN низкого уровня - положительный вывод аккумуляторной батареи (+) Провод отсоединен от отрицательного (-) вывода аккумуляторной батареи 6 кОм или более
  8. A01UD6PC04
    *a

    Устройство с неподсоединенным жгутом проводов

    (ЭБУ сертификации (ЭБУ электронного ключа зажигания в сборе))

    - -

    ЭБУ СЕРТИФИКАЦИИ (ЭБУ ЭЛЕКТРОННОГО КЛЮЧА ЗАЖИГАНИЯ В СБОРЕ)


    1. Отсоедините провод от отрицательного (-) вывода аккумуляторной батареи.

    2. Отсоедините разъем G22 ЭБУ сертификации (ЭБУ электронного ключа зажигания в сборе).

    3. A01UCCHC04
      *a

      Вид спереди разъема со стороны жгута проводов:

      (к ЭБУ сертификации (ЭБУ электронного ключа зажигания в сборе))

      - -

      Измерьте сопротивление в соответствии со значениями, приведенными в таблице ниже.

      Номинальное сопротивление
      Номера контактов (обозначения) Цвет проводки Назначение контактов Условие Заданные условия
      G22-7 (CANH) - G22-8 (CANL) G - W Линия шины CAN высокого уровня - линия шины CAN низкого уровня Провод отсоединен от отрицательного (-) вывода аккумуляторной батареи 54-69 Ом
      G22-7 (CANH) - G22-11 (E) G - W-B Линия шины CAN высокого уровня - масса Провод отсоединен от отрицательного (-) вывода аккумуляторной батареи 200 Ом или более
      G22-8 (CANL) - G22-11 (E) W - W-B Линия шины CAN низкого уровня - масса Провод отсоединен от отрицательного (-) вывода аккумуляторной батареи 200 Ом или более
      G22-7 (CANH) - G22-10 (+B) G - GR Линия шины CAN высокого уровня - положительный вывод аккумуляторной батареи (+) Провод отсоединен от отрицательного (-) вывода аккумуляторной батареи 6 кОм или более
      G22-8 (CANL) - G22-10 (+B) W - GR Линия шины CAN низкого уровня - положительный вывод аккумуляторной батареи (+) Провод отсоединен от отрицательного (-) вывода аккумуляторной батареи 6 кОм или более
  9. A01UCWDC03
    *a

    Устройство с неподсоединенным жгутом проводов

    (главный ЭБУ кузова (бортовой ЭБУ сети мультиплексной связи))

    - -
    A01UEVUC05
    *1 Левый распределительный блок в сборе - -

    ЛЕВЫЙ РАСПРЕДЕЛИТЕЛЬНЫЙ БЛОК И ГЛАВНЫЙ ЭБУ КУЗОВА (БОРТОВОЙ ЭБУ СЕТИ МУЛЬТИПЛЕКСНОЙ СВЯЗИ)


    1. Отсоедините провод от отрицательного (-) вывода аккумуляторной батареи.

    2. Отсоедините разъемы G62 и G63 главного ЭБУ кузова (бортового ЭБУ сети мультиплексной связи).

    3. A01UF2DC04
      *1 DLC3 - -
      *a

      Вид спереди разъема со стороны жгута проводов:

      (к главному ЭБУ кузова (бортовому ЭБУ сети мультиплексной связи))

      - -

      Измерьте сопротивление в соответствии со значениями, приведенными в таблице ниже.

      Номинальное сопротивление
      Table 1. Линии вспомогательной шины V
      Номера контактов (обозначения) Цвет проводки Назначение контактов Условие Заданные условия
      G63-14 (CANH) - G63-13 (CANL) R - W Линия шины CAN высокого уровня - линия шины CAN низкого уровня Провод отсоединен от отрицательного (-) вывода аккумуляторной батареи 54-69 Ом
      G63-14 (CANH) - G9-4 (CG) R - W-B Линия шины CAN высокого уровня - масса Провод отсоединен от отрицательного (-) вывода аккумуляторной батареи 200 Ом или более
      G63-13 (CANL) - G9-4 (CG) W - W-B Линия шины CAN низкого уровня - масса Провод отсоединен от отрицательного (-) вывода аккумуляторной батареи 200 Ом или более
      G63-14 (CANH) - G9-16 (BAT) R - P Линия шины CAN высокого уровня - положительный вывод аккумуляторной батареи (+) Провод отсоединен от отрицательного (-) вывода аккумуляторной батареи 6 кОм или более
      G63-13 (CANL) - G9-16 (BAT) W - P Линия шины CAN низкого уровня - положительный вывод аккумуляторной батареи (+) Провод отсоединен от отрицательного (-) вывода аккумуляторной батареи 6 кОм или более
      Table 2. Главные линии вспомогательной шины 1
      Номера контактов (обозначения) Цвет проводки Назначение контактов Условие Заданные условия
      G62-9 (CANP) - G62-10 (CANN) G - W Линия шины CAN высокого уровня - линия шины CAN низкого уровня Провод отсоединен от отрицательного (-) вывода аккумуляторной батареи 108 - 132 Ом
      G62-9 (CANP) - G9-4 (CG) G - W-B Линия шины CAN высокого уровня - масса Провод отсоединен от отрицательного (-) вывода аккумуляторной батареи 200 Ом или более
      G62-10 (CANN) - G9-4 (CG) W - W-B Линия шины CAN низкого уровня - масса Провод отсоединен от отрицательного (-) вывода аккумуляторной батареи 200 Ом или более
      G62-9 (CANP) - G9-16 (BAT) G - P Линия шины CAN высокого уровня - положительный вывод аккумуляторной батареи (+) Провод отсоединен от отрицательного (-) вывода аккумуляторной батареи 6 кОм или более
      G62-10 (CANN) - G9-16 (BAT) W - P Линия шины CAN низкого уровня - положительный вывод аккумуляторной батареи (+) Провод отсоединен от отрицательного (-) вывода аккумуляторной батареи 6 кОм или более
  10. A01UEU0C20
    *a

    Устройство с неподсоединенным жгутом проводов

    (ЭБУ рулевого управления с усилителем)

    - -

    ЭБУ РУЛЕВОГО УПРАВЛЕНИЯ С УСИЛИТЕЛЕМ


    1. Отсоедините провод от отрицательного (-) вывода аккумуляторной батареи.

    2. Отсоедините разъемы G20 и G53 ЭБУ рулевого управления с усилителем.

    3. A01UDQKC14
      *a

      Вид спереди разъема со стороны жгута проводов:

      (к ЭБУ рулевого управления с усилителем в сборе)

      - -

      Измерьте сопротивление в соответствии со значениями, приведенными в таблице ниже.

      Номинальное сопротивление
      Номера контактов (обозначения) Цвет проводки Назначение контактов Условие Заданные условия
      G20-7 (CANH) - G20-8 (CANL) P - W Линия шины CAN высокого уровня - линия шины CAN низкого уровня Провод отсоединен от отрицательного (-) вывода аккумуляторной батареи 54-69 Ом
      G20-7 (CANH) - G53-2 (PGND) P - W Линия шины CAN высокого уровня - масса Провод отсоединен от отрицательного (-) вывода аккумуляторной батареи 200 Ом или более
      G20-8 (CANL) - G53-2 (PGND) W - W Линия шины CAN низкого уровня - масса Провод отсоединен от отрицательного (-) вывода аккумуляторной батареи 200 Ом или более
      G20-7 (CANH) - G53-1 (PIG) P-B Линия шины CAN высокого уровня - положительный вывод аккумуляторной батареи (+) Провод отсоединен от отрицательного (-) вывода аккумуляторной батареи 6 кОм или более
      G20-8 (CANL) - G53-1 (PIG) W-B Линия шины CAN низкого уровня - положительный вывод аккумуляторной батареи (+) Провод отсоединен от отрицательного (-) вывода аккумуляторной батареи 6 кОм или более
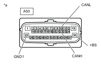
  11. A01UEX4C08
    *a

    Устройство с неподсоединенным жгутом проводов

    (ЭБУ системы противоскольжения (блок управления рабочими цилиндрами тормозов в сборе))

    - -

    ЭБУ СИСТЕМЫ ПРОТИВОСКОЛЬЖЕНИЯ (БЛОК УПРАВЛЕНИЯ РАБОЧИМИ ЦИЛИНДРАМИ ТОРМОЗОВ В СБОРЕ)


    1. Отсоедините провод от отрицательного (-) вывода аккумуляторной батареи.

    2. Отсоедините разъем A50 ЭБУ системы противоскольжения (блока управления рабочими цилиндрами тормозов).

    3. A01UD32C06
      *a

      Вид спереди разъема со стороны жгута проводов:

      (к ЭБУ системы противоскольжения (блоку управления рабочими цилиндрами тормозов))

      Измерьте сопротивление в соответствии со значениями, приведенными в таблице.

      Номинальное сопротивление
      Номера контактов (обозначения) Цвет проводки Назначение контактов Условие Заданные условия
      A50-22 (CANH) - A50-10 (CANL) GR - W Линия шины CAN высокого уровня - линия шины CAN низкого уровня Провод отсоединен от отрицательного (-) вывода аккумуляторной батареи 54-69 Ом
      A50-22 (CANH) - A50-25 (GND1) GR - W-B Линия шины CAN высокого уровня - масса Провод отсоединен от отрицательного (-) вывода аккумуляторной батареи 200 Ом или более
      A50-10 (CANL) - A50-25 (GND1) W - W-B Линия шины CAN низкого уровня - масса Провод отсоединен от отрицательного (-) вывода аккумуляторной батареи 200 Ом или более
      A50-22 (CANH) - A50-38 (+BS) GR - P Линия шины CAN высокого уровня - положительный вывод аккумуляторной батареи (+) Провод отсоединен от отрицательного (-) вывода аккумуляторной батареи 6 кОм или более
      A50-10 (CANL) - A50-38 (+BS) W - P Линия шины CAN низкого уровня - положительный вывод аккумуляторной батареи (+) Провод отсоединен от отрицательного (-) вывода аккумуляторной батареи 6 кОм или более
  12. A01UDGKC03
    *a

    Устройство с неподсоединенным жгутом проводов

    (ЭБУ системы SRS в сборе)

    - -

    ЭБУ СИСТЕМЫ SRS В СБОРЕ


    1. Отсоедините провод от отрицательного (-) вывода аккумуляторной батареи.

    2. Отсоедините разъем G14 ЭБУ системы SRS.

    3. A01UEIBC03
      *1 DLC3 - -
      *a

      Вид спереди разъема со стороны жгута проводов:

      (к ЭБУ системы SRS в сборе)

      - -

      Измерьте сопротивление в соответствии со значениями, приведенными в таблице.

      Номинальное сопротивление
      Номера контактов (обозначения) Цвет проводки Назначение контактов Условие Заданные условия
      G14-13 (CANH) - G14-22 (CANL) Y - W Линия шины CAN высокого уровня - линия шины CAN низкого уровня Провод отсоединен от отрицательного (-) вывода аккумуляторной батареи 54-69 Ом
      G14-13 (CANH) - G14-25 (E1) Y - W-B Линия шины CAN высокого уровня - масса Провод отсоединен от отрицательного (-) вывода аккумуляторной батареи 200 Ом или более
      G14-22 (CANL) - G14-25 (E1) W - W-B Линия шины CAN низкого уровня - масса Провод отсоединен от отрицательного (-) вывода аккумуляторной батареи 200 Ом или более
      G14-13 (CANH) - G9-16 (BAT) Y - P Линия шины CAN высокого уровня - положительный вывод аккумуляторной батареи (+) Провод отсоединен от отрицательного (-) вывода аккумуляторной батареи 6 кОм или более
      G14-22 (CANL) - G9-16 (BAT) W - P Линия шины CAN низкого уровня - положительный вывод аккумуляторной батареи (+) Провод отсоединен от отрицательного (-) вывода аккумуляторной батареи 6 кОм или более
  13. A01UDZZC03
    *a

    Устройство с неподсоединенным жгутом проводов

    (датчик положения рулевого колеса)

    - -

    ДАТЧИК ПОЛОЖЕНИЯ РУЛЕВОГО КОЛЕСА


    1. Отсоедините провод от отрицательного (-) вывода аккумуляторной батареи.

    2. A01UEZGC10
      *a

      Вид спереди разъема со стороны жгута проводов:

      (к датчику положения рулевого колеса)

      - -

      Отсоедините разъем G12 датчика положения рулевого колеса.

    3. Измерьте сопротивление в соответствии со значениями, приведенными в таблице.

      Номинальное сопротивление
      Номера контактов (обозначения) Цвет проводки Назначение контактов Условие Заданные условия
      G12-3 (CANH) - G12-2 (CANL) BE - W Линия шины CAN высокого уровня - линия шины CAN низкого уровня Провод отсоединен от отрицательного (-) вывода аккумуляторной батареи 54-69 Ом
      G12-3 (CANH) - G12-1 (ESS) BE - W-B Линия шины CAN высокого уровня - масса Провод отсоединен от отрицательного (-) вывода аккумуляторной батареи 200 Ом или более
      G12-2 (CANL) - G12-1 (ESS) W - W-B Линия шины CAN низкого уровня - масса Провод отсоединен от отрицательного (-) вывода аккумуляторной батареи 200 Ом или более
      G12-3 (CANH) - G12-5 (BAT) BE - LG Линия шины CAN высокого уровня - положительный вывод аккумуляторной батареи (+) Провод отсоединен от отрицательного (-) вывода аккумуляторной батареи 6 кОм или более
      G12-2 (CANL) - G12-5 (BAT) W - LG Линия шины CAN низкого уровня - положительный вывод аккумуляторной батареи (+) Провод отсоединен от отрицательного (-) вывода аккумуляторной батареи 6 кОм или более
  14. A01UD4NC02
    *a

    Устройство с неподсоединенным жгутом проводов

    (блок управления системой кондиционирования)

    - -

    БЛОК УПРАВЛЕНИЯ СИСТЕМОЙ КОНДИЦИОНИРОВАНИЯ


    1. Отсоедините провод от отрицательного (-) вывода аккумуляторной батареи.

    2. A01UFI3C64
      *a

      Вид спереди разъема со стороны жгута проводов:

      (к блоку управления системой кондиционирования)

      Отсоедините разъем G36 блока управления системой кондиционирования.

    3. Измерьте сопротивление в соответствии со значениями, приведенными в таблице ниже.

      Номинальное сопротивление
      Номера контактов (обозначения) Цвет проводки Назначение контактов Условие Заданные условия
      G36-11 (CANH) - G36-12 (CANL) BE - W Линия шины CAN высокого уровня - линия шины CAN низкого уровня Провод отсоединен от отрицательного (-) вывода аккумуляторной батареи 54-69 Ом
      G36-11 (CANH) - G36-14 (GND) BE - BR Линия шины CAN высокого уровня - масса Провод отсоединен от отрицательного (-) вывода аккумуляторной батареи 200 Ом или более
      G36-12 (CANL) - G36-14 (GND) W - BR Линия шины CAN низкого уровня - масса Провод отсоединен от отрицательного (-) вывода аккумуляторной батареи 200 Ом или более
      G36-11 (CANH) - G36-21 (B) BE - P Линия шины CAN высокого уровня - положительный вывод аккумуляторной батареи (+) Провод отсоединен от отрицательного (-) вывода аккумуляторной батареи 6 кОм или более
      G36-12 (CANL) - G36-21 (B) W - P Линия шины CAN низкого уровня - положительный вывод аккумуляторной батареи (+) Провод отсоединен от отрицательного (-) вывода аккумуляторной батареи 6 кОм или более
  15. A01UENPC06
    *a

    Устройство с неподсоединенным жгутом проводов

    (щиток приборов в сборе)

    - -

    ЩИТОК ПРИБОРОВ В СБОРЕ


    1. Отсоедините провод от отрицательного (-) вывода аккумуляторной батареи.

    2. Отсоедините разъем G16 щитка приборов.

    3. A01UDCNC04
      *a

      Вид спереди разъема со стороны жгута проводов:

      (к щитку приборов в сборе)

      - -

      Измерьте сопротивление в соответствии со значениями, приведенными в таблице ниже.

      Номинальное сопротивление
      Номера контактов (обозначения) Цвет проводки Назначение контактов Условие Заданные условия
      G16-23 (CANH) - G16-22 (CANL) Y - W Линия шины CAN высокого уровня - линия шины CAN низкого уровня Провод отсоединен от отрицательного (-) вывода аккумуляторной батареи 108 - 132 Ом
      G16-23 (CANH) - G16-21 (ES) Y - BR Линия шины CAN высокого уровня - масса Провод отсоединен от отрицательного (-) вывода аккумуляторной батареи 200 Ом или более
      G16-22 (CANL) - G16-21 (ES) W - BR Линия шины CAN низкого уровня - масса Провод отсоединен от отрицательного (-) вывода аккумуляторной батареи 200 Ом или более
      G16-23 (CANH) - G16-1 (B) Y - P Линия шины CAN высокого уровня - положительный вывод аккумуляторной батареи (+) Провод отсоединен от отрицательного (-) вывода аккумуляторной батареи 6 кОм или более
      G16-22 (CANL) - G16-1 (B) W - P Линия шины CAN низкого уровня - положительный вывод аккумуляторной батареи (+) Провод отсоединен от отрицательного (-) вывода аккумуляторной батареи 6 кОм или более
  16. A01UCUOC04
    *a

    Устройство с неподсоединенным жгутом проводов

    (ЭБУ предупреждения о недопустимой дистанции в сборе)

    - -

    ЭБУ ПРЕДУПРЕЖДЕНИЯ О НЕДОПУСТИМОЙ ДИСТАНЦИИ В СБОРЕ


    1. Отсоедините провод от отрицательного (-) вывода аккумуляторной батареи.

    2. Отсоедините разъем G59 ЭБУ предупреждения о недопустимой дистанции.

    3. A01UF7HC04
      *1 DLC3 - -
      *a

      Вид спереди разъема со стороны жгута проводов:

      (к ЭБУ предупреждения о недопустимой дистанции)

      - -

      Измерьте сопротивление в соответствии со значениями, приведенными в таблице ниже.

      Номинальное сопротивление
      Номера контактов (обозначения) Цвет проводки Назначение контактов Условие Заданные условия
      G59-17 (R1) - G59-18 (R2) LG - W Линия шины CAN высокого уровня - линия шины CAN низкого уровня Провод отсоединен от отрицательного (-) вывода аккумуляторной батареи 54 - 69 Ом
      G59-17 (R1) - G59-30 (E) LG - W-B Линия шины CAN высокого уровня - масса Провод отсоединен от отрицательного (-) вывода аккумуляторной батареи 200 Ом или более
      G59-18 (R2) - G59-30 (E) W - W-B Линия шины CAN низкого уровня - масса Провод отсоединен от отрицательного (-) вывода аккумуляторной батареи 200 Ом или более
      G59-17 (R1) - G9-16 (BAT) LG - P Линия шины CAN высокого уровня - положительный вывод аккумуляторной батареи (+) Провод отсоединен от отрицательного (-) вывода аккумуляторной батареи 6 кОм или более
      G59-18 (R2) - G9-16 (BAT) W - P Линия шины CAN низкого уровня - положительный вывод аккумуляторной батареи (+) Провод отсоединен от отрицательного (-) вывода аккумуляторной батареи 6 кОм или более
  17. A01UEVCC07
    *a

    Устройство с неподсоединенным жгутом проводов

    (ЭБУ стояночного тормоза в сборе)

    - -

    ЭБУ СТОЯНОЧНОГО ТОРМОЗА В СБОРЕ


    1. Отсоедините провод от отрицательного (-) вывода аккумуляторной батареи.

    2. Отсоедините разъемы K14 и K15 ЭБУ стояночного тормоза.

    3. A01UE2ZC11
      *a

      Вид спереди разъема со стороны жгута проводов:

      (к ЭБУ стояночного тормоза в сборе)

      Измерьте сопротивление в соответствии со значениями, приведенными в таблице.

      Номинальное сопротивление
      Номера контактов (обозначения) Цвет проводки Назначение контактов Условие Заданные условия
      K14-11 (CANH) - K14-1 (CANL) G-W Линия шины CAN высокого уровня - линия шины CAN низкого уровня Провод отсоединен от отрицательного (-) вывода аккумуляторной батареи 54-69 Ом
      K14-11 (CANH) - K15-9 (GND1) G - W-B Линия шины CAN высокого уровня - масса Провод отсоединен от отрицательного (-) вывода аккумуляторной батареи 200 Ом или более
      K14-1 (CANL) - K15-9 (GND1) W - W-B Линия шины CAN низкого уровня - масса Провод отсоединен от отрицательного (-) вывода аккумуляторной батареи 200 Ом или более
      K14-11 (CANH) - K14-3 (BECU) G - L Линия шины CAN высокого уровня - положительный вывод аккумуляторной батареи (+) Провод отсоединен от отрицательного (-) вывода аккумуляторной батареи 6 кОм или более
      K14-1 (CANL) - K14-3 (BECU) W-L Линия шины CAN низкого уровня - положительный вывод аккумуляторной батареи (+) Провод отсоединен от отрицательного (-) вывода аккумуляторной батареи 6 кОм или более
  18. A01UD8KC02
    *a

    Устройство с неподсоединенным жгутом проводов

    (ЭБУ запуска и останова двигателя)

    - -

    ЭБУ ЗАПУСКА И ОСТАНОВА ДВИГАТЕЛЯ (для моделей с системой запуска и останова)


    1. Отсоедините провод от отрицательного (-) вывода аккумуляторной батареи.

    2. Отсоедините разъемы A59 и G50 ЭБУ запуска и останова двигателя.

    3. A01UEFYC03
      *a

      Вид спереди разъема со стороны жгута проводов:

      (к ЭБУ запуска и останова двигателя)

      Измерьте сопротивление в соответствии со значениями, приведенными в таблице ниже.

      Номинальное сопротивление
      Номера контактов (обозначения) Цвет проводки Назначение контактов Условие Заданные условия
      G50-13 (CANH) - G50-14 (CANL) P - W Линия шины CAN высокого уровня - линия шины CAN низкого уровня Провод отсоединен от отрицательного (-) вывода аккумуляторной батареи 54 - 69 Ом
      G50-13 (CANH) - A59-8 (GND1) P - W-B Линия шины CAN высокого уровня - масса Провод отсоединен от отрицательного (-) вывода аккумуляторной батареи 200 Ом или более
      G50-14 (CANL) - A59-8 (GND1) W - W-B Линия шины CAN низкого уровня - масса Провод отсоединен от отрицательного (-) вывода аккумуляторной батареи 200 Ом или более
      G50-13 (CANH) - A59-3 (BIN1) P - W Линия шины CAN высокого уровня - положительный вывод аккумуляторной батареи (+) Провод отсоединен от отрицательного (-) вывода аккумуляторной батареи 6 кОм или более
      G50-14 (CANL) - A59-3 (BIN1) W - W Линия шины CAN низкого уровня - положительный вывод аккумуляторной батареи (+) Провод отсоединен от отрицательного (-) вывода аккумуляторной батареи 6 кОм или более
  19. ДОПОЛНИТЕЛЬНЫЙ РАЗЪЕМ (ЭБУ БУФЕРА ШИНЫ)


    1. Отсоедините провод от отрицательного (-) вывода аккумуляторной батареи.

    2. A01UDQ6C01
      *1 DLC3 - -
      *a

      Вид спереди разъема со стороны жгута проводов:

      (к дополнительному разъему (ЭБУ буфера шины))

      - -

      Измерьте сопротивление в соответствии со значениями, приведенными в таблице ниже.

      Номинальное сопротивление
      Номера контактов (обозначения) Цвет проводки Назначение контактов Условие Заданные условия
      G112-16 (CA1H) - G112-15 (CA1L) P - W Линия шины CAN высокого уровня - линия шины CAN низкого уровня Провод отсоединен от отрицательного (-) вывода аккумуляторной батареи 54-69 Ом
      G112-16 (CA1H) - G9-4 (CG) P - W-B Линия шины CAN высокого уровня - масса Провод отсоединен от отрицательного (-) вывода аккумуляторной батареи 200 Ом или более
      G112-15 (CA1L) - G9-4 (CG) W - W-B Линия шины CAN низкого уровня - масса Провод отсоединен от отрицательного (-) вывода аккумуляторной батареи 200 Ом или более
      G112-16 (CA1H) - G9-16 (BAT) P - BE Линия шины CAN высокого уровня - положительный вывод аккумуляторной батареи (+) Провод отсоединен от отрицательного (-) вывода аккумуляторной батареи 6 кОм или более
      G112-15 (CA1L) - G9-16 (BAT) W - BE Линия шины CAN низкого уровня - положительный вывод аккумуляторной батареи (+) Провод отсоединен от отрицательного (-) вывода аккумуляторной батареи 6 кОм или более
  20. A01UF4DC02
    *a

    Устройство с неподсоединенным жгутом проводов

    (приемник системы навигации в сборе)

    - -

    ПРИЕМНИК СИСТЕМЫ НАВИГАЦИИ (для моделей с приемником системы навигации)


    1. Отсоедините провод от отрицательного (-) вывода аккумуляторной батареи.

    2. Отсоедините разъемы F1 и F3 приемника системы навигации в сборе.

    3. A01UDBTC32
      *a

      Вид спереди разъема со стороны жгута проводов:

      (к приемнику системы навигации в сборе)

      Измерьте сопротивление в соответствии со значениями, приведенными в таблице ниже.

      Номинальное сопротивление
      Номера контактов (обозначения) Цвет проводки Назначение контактов Условие Заданные условия
      F3-9 (CANH) - F3-10 (CANL) L-W Линия шины CAN высокого уровня - линия шины CAN низкого уровня Провод отсоединен от отрицательного (-) вывода аккумуляторной батареи 54-69 Ом
      F3-9 (CANH) - F1-7 (GND1) L - W-B Линия шины CAN высокого уровня - масса Провод отсоединен от отрицательного (-) вывода аккумуляторной батареи 200 Ом или более
      F3-10 (CANL) - F1-7 (GND1) W - W-B Линия шины CAN низкого уровня - масса Провод отсоединен от отрицательного (-) вывода аккумуляторной батареи 200 Ом или более
      F3-9 (CANH) - F1-4 (+B1) L - SB Линия шины CAN высокого уровня - положительный вывод аккумуляторной батареи (+) Провод отсоединен от отрицательного (-) вывода аккумуляторной батареи 6 кОм или более
      F3-10 (CANL) - F1-4 (+B1) W - SB Линия шины CAN низкого уровня - положительный вывод аккумуляторной батареи (+) Провод отсоединен от отрицательного (-) вывода аккумуляторной батареи 6 кОм или более
  21. A01UD8JC03
    *a

    Устройство с неподсоединенным жгутом проводов

    (ЭБУ управления левой фарой в сборе)

    - -

    ЭБУ УПРАВЛЕНИЯ ЛЕВОЙ ФАРОЙ В СБОРЕ


    1. Отсоедините провод от отрицательного (-) вывода аккумуляторной батареи.

    2. Отсоедините разъем A28 ЭБУ управления левой фарой.

    3. A01UEHZC03
      *1 DLC3 - -
      *a

      Вид спереди разъема со стороны жгута проводов:

      (к ЭБУ левой фары)

      - -

      Измерьте сопротивление в соответствии со значениями, приведенными в таблице ниже.

      Номинальное сопротивление
      Номера контактов (обозначения) Цвет проводки Назначение контактов Условие Заданные условия
      A28-24 (CANH) - A28-23 (CANL) B - W Линия шины CAN высокого уровня - линия шины CAN низкого уровня Провод отсоединен от отрицательного (-) вывода аккумуляторной батареи 108 - 132 Ом
      A28-24 (CANH) - A28-12 (GND) B - W-B Линия шины CAN высокого уровня - масса Провод отсоединен от отрицательного (-) вывода аккумуляторной батареи 200 Ом или более
      A28-23 (CANL) - A28-12 (GND) W - W-B Линия шины CAN низкого уровня - масса Провод отсоединен от отрицательного (-) вывода аккумуляторной батареи 200 Ом или более
      A28-24 (CANH) - G9-16 (BAT) B - P Линия шины CAN высокого уровня - положительный вывод аккумуляторной батареи (+) Провод отсоединен от отрицательного (-) вывода аккумуляторной батареи 6 кОм или более
      A28-23 (CANL) - G9-16 (BAT) W - P Линия шины CAN низкого уровня - положительный вывод аккумуляторной батареи (+) Провод отсоединен от отрицательного (-) вывода аккумуляторной батареи 6 кОм или более
  22. A01UERPC05
    *a

    Устройство с неподсоединенным жгутом проводов

    (ЭБУ электропривода наружного зеркала в сборе (со стороны водителя))

    - -

    ЭБУ ЭЛЕКТРОПРИВОДА НАРУЖНОГО ЗЕРКАЛА (со стороны водителя) (для моделей с системой запоминания положений сидений)


    1. Отсоедините провод от отрицательного (-) вывода аккумуляторной батареи.

    2. A01UF0NC05
      *a

      Вид спереди разъема со стороны жгута проводов:

      (к ЭБУ электропривода наружного зеркала в сборе (со стороны водителя))

      - -

      Отсоедините разъем I13 ЭБУ электропривода наружного зеркала (со стороны водителя).

    3. Измерьте сопротивление в соответствии со значениями, приведенными в таблице ниже.

      Номинальное сопротивление
      Номера контактов (обозначения) Цвет проводки Назначение контактов Условие Заданные условия
      I13-9 (CANP) - I13-8 (CANN) SB - W Линия шины CAN высокого уровня - линия шины CAN низкого уровня Провод отсоединен от отрицательного (-) вывода аккумуляторной батареи 54 - 69 Ом
      I13-9 (CANP) - I13-7 (GND) SB - W-B Линия шины CAN высокого уровня - масса Провод отсоединен от отрицательного (-) вывода аккумуляторной батареи 200 Ом или более
      I13-8 (CANN) - I13-7 (GND) W - W-B Линия шины CAN низкого уровня - масса Провод отсоединен от отрицательного (-) вывода аккумуляторной батареи 200 Ом или более
      I13-9 (CANP) - I13-6 (CPUB) SB - R Линия шины CAN высокого уровня - положительный вывод аккумуляторной батареи (+) Провод отсоединен от отрицательного (-) вывода аккумуляторной батареи 6 кОм или более
      I13-8 (CANN) - I13-6 (CPUB) W-R Линия шины CAN низкого уровня - положительный вывод аккумуляторной батареи (+) Провод отсоединен от отрицательного (-) вывода аккумуляторной батареи 6 кОм или более
  23. A01UERPC06
    *a

    Устройство с неподсоединенным жгутом проводов

    (ЭБУ электропривода наружного зеркала в сборе (со стороны переднего пассажира))

    - -

    ЭБУ ЭЛЕКТРОПРИВОДА НАРУЖНОГО ЗЕРКАЛА (со стороны переднего пассажира) (для моделей с системой запоминания положений сидений)


    1. Отсоедините провод от отрицательного (-) вывода аккумуляторной батареи.

    2. Отсоедините разъем I28 ЭБУ электропривода наружного зеркала (со стороны переднего пассажира).

    3. A01UF0NC06
      *a

      Вид спереди разъема со стороны жгута проводов:

      (к ЭБУ электропривода наружного зеркала в сборе (со стороны переднего пассажира))

      - -

      Измерьте сопротивление в соответствии со значениями, приведенными в таблице ниже.

      Номинальное сопротивление
      Номера контактов (обозначения) Цвет проводки Назначение контактов Условие Заданные условия
      I28-9 (CANP) - I28-8 (CANN) SB - W Линия шины CAN высокого уровня - линия шины CAN низкого уровня Провод отсоединен от отрицательного (-) вывода аккумуляторной батареи 54 - 69 Ом
      I28-9 (CANP) - I28-7 (GND) SB - W-B Линия шины CAN высокого уровня - масса Провод отсоединен от отрицательного (-) вывода аккумуляторной батареи 200 Ом или более
      I28-8 (CANN) - I28-7 (GND) W - W-B Линия шины CAN низкого уровня - масса Провод отсоединен от отрицательного (-) вывода аккумуляторной батареи 200 Ом или более
      I28-9 (CANP) - I28-6 (CPUB) SB - R Линия шины CAN высокого уровня - положительный вывод аккумуляторной батареи (+) Провод отсоединен от отрицательного (-) вывода аккумуляторной батареи 6 кОм или более
      I28-8 (CANN) - I28-6 (CPUB) W-R Линия шины CAN низкого уровня - положительный вывод аккумуляторной батареи (+) Провод отсоединен от отрицательного (-) вывода аккумуляторной батареи 6 кОм или более
  24. A01UEZZC08
    *a

    Устройство с неподсоединенным жгутом проводов

    (переключатель электропривода правого переднего сиденья)

    - -

    ПЕРЕКЛЮЧАТЕЛЬ ЭЛЕКТРОПРИВОДА ПРАВОГО ПЕРЕДНЕГО СИДЕНЬЯ (для моделей с системой запоминания положений сидений)


    1. Отсоедините провод от отрицательного (-) вывода аккумуляторной батареи.

    2. Отсоедините разъемы W6 и W7 переключателя электропривода правого переднего сиденья.

    3. A01UE2BC05
      *a

      Вид спереди разъема со стороны жгута проводов:

      (к переключателю электропривода правого переднего сиденья)

      - -

      Измерьте сопротивление в соответствии со значениями, приведенными в таблице ниже.

      Номинальное сопротивление
      Номера контактов (обозначения) Цвет проводки Назначение контактов Условие Заданные условия
      W7-8 (CANP) - W7-7 (CANN) L - W Линия шины CAN высокого уровня - линия шины CAN низкого уровня Провод отсоединен от отрицательного (-) вывода аккумуляторной батареи 54 - 69 Ом
      W7-8 (CANP) - W6-2 (E) L - W-B Линия шины CAN высокого уровня - масса Провод отсоединен от отрицательного (-) вывода аккумуляторной батареи 200 Ом или более
      W7-7 (CANN) - W6-2 (E) W - W-B Линия шины CAN низкого уровня - масса Провод отсоединен от отрицательного (-) вывода аккумуляторной батареи 200 Ом или более
      W7-8 (CANP) - W6-7 (+B) L - W Линия шины CAN высокого уровня - положительный вывод аккумуляторной батареи (+) Провод отсоединен от отрицательного (-) вывода аккумуляторной батареи 6 кОм или более
      W7-7 (CANN) - W6-7 (+B) W - W Линия шины CAN низкого уровня - положительный вывод аккумуляторной батареи (+) Провод отсоединен от отрицательного (-) вывода аккумуляторной батареи 6 кОм или более
  25. A01UF5XC03
    *a

    Устройство с неподсоединенным жгутом проводов

    (блок электропривода двери багажного отделения)

    - -

    БЛОК ЭЛЕКТРОПРИВОДА ДВЕРИ БАГАЖНОГО ОТДЕЛЕНИЯ (для моделей с автоматизированным приводом двери багажного отделения)


    1. Отсоедините провод от отрицательного (-) вывода аккумуляторной батареи.

    2. Отсоедините разъем K22 блока электропривода двери багажного отделения.

    3. A01UDB8C04
      *a

      Вид спереди разъема со стороны жгута проводов:

      (к блоку электропривода двери багажного отделения)

      Измерьте сопротивление в соответствии со значениями, приведенными в таблице ниже.

      Номинальное сопротивление
      Номера контактов (обозначения) Цвет проводки Назначение контактов Условие Заданные условия
      K22-6 (MPX1) - K22-5 (MPX2) L - W Линия шины CAN высокого уровня - линия шины CAN низкого уровня Провод отсоединен от отрицательного (-) вывода аккумуляторной батареи 54 - 69 Ом
      K22-6 (MPX1) - K22-11 (GND) L - W-B Линия шины CAN высокого уровня - масса Провод отсоединен от отрицательного (-) вывода аккумуляторной батареи 200 Ом или более
      K22-5 (MPX2) - K22-11 (GND) W - W-B Линия шины CAN низкого уровня - масса Провод отсоединен от отрицательного (-) вывода аккумуляторной батареи 200 Ом или более
      K22-6 (MPX1) - K22-10 (ECUB) L - G Линия шины CAN высокого уровня - положительный вывод аккумуляторной батареи (+) Провод отсоединен от отрицательного (-) вывода аккумуляторной батареи 6 кОм или более
      K22-5 (MPX2) - K22-10 (ECUB) W - G Линия шины CAN низкого уровня - положительный вывод аккумуляторной батареи (+) Провод отсоединен от отрицательного (-) вывода аккумуляторной батареи 6 кОм или более
  26. A01UEKCC03
    *a

    Устройство с неподсоединенным жгутом проводов

    (ЭБУ двери сети мультиплексной связи)

    - -

    ЭБУ ДВЕРИ СЕТИ МУЛЬТИПЛЕКСНОЙ СВЯЗИ (для моделей с системой доводчика двери багажного отделения, без автоматизированного привода двери багажного отделения)


    1. Отсоедините провод от отрицательного (-) вывода аккумуляторной батареи.

    2. Отсоедините разъем K21 ЭБУ двери сети мультиплексной связи.

    3. A01UDUCC06
      *a

      Вид спереди разъема со стороны жгута проводов:

      (к ЭБУ двери сети мультиплексной связи)

      Измерьте сопротивление в соответствии со значениями, приведенными в таблице ниже.

      Номинальное сопротивление
      Номера контактов (обозначения) Цвет проводки Назначение контактов Условие Заданные условия
      K21-10 (CANP) - K21-11 (CANN) L - W Линия шины CAN высокого уровня - линия шины CAN низкого уровня Провод отсоединен от отрицательного (-) вывода аккумуляторной батареи 54-69 Ом
      K21-10 (CANP) - K21-1 (GND) L - W-B Линия шины CAN высокого уровня - масса Провод отсоединен от отрицательного (-) вывода аккумуляторной батареи 200 Ом или более
      K21-11 (CANN) - K21-1 (GND) W - W-B Линия шины CAN низкого уровня - масса Провод отсоединен от отрицательного (-) вывода аккумуляторной батареи 200 Ом или более
      K21-10 (CANP) - K21-19 (B) L - R Линия шины CAN высокого уровня - положительный вывод аккумуляторной батареи (+) Провод отсоединен от отрицательного (-) вывода аккумуляторной батареи 6 кОм или более
      K21-11 (CANN) - K21-19 (B) W-R Линия шины CAN низкого уровня - положительный вывод аккумуляторной батареи (+) Провод отсоединен от отрицательного (-) вывода аккумуляторной батареи 6 кОм или более
  27. A01UCZ3C08
    *a

    Устройство с неподсоединенным жгутом проводов

    (блок электропривода левой раздвижной двери)

    - -

    БЛОК ЭЛЕКТРОПРИВОДА ЛЕВОЙ РАЗДВИЖНОЙ ДВЕРИ


    1. Отсоедините провод от отрицательного (-) вывода аккумуляторной батареи.

    2. Отсоедините разъем K19 блока электропривода левой раздвижной двери.

    3. A01UD7AC32
      *a

      Вид спереди разъема со стороны жгута проводов:

      (к блоку электропривода левой раздвижной двери)

      Измерьте сопротивление в соответствии со значениями, приведенными в таблице ниже.

      Номинальное сопротивление
      Номера контактов (обозначения) Цвет проводки Назначение контактов Условие Заданные условия
      K19-7 (MPX1) - K19-6 (MPX2) P - W Линия шины CAN высокого уровня - линия шины CAN низкого уровня Провод отсоединен от отрицательного (-) вывода аккумуляторной батареи 54-69 Ом
      K19-7 (MPX1) - K19-3 (GND) P - W-B Линия шины CAN высокого уровня - масса Провод отсоединен от отрицательного (-) вывода аккумуляторной батареи 200 Ом или более
      K19-6 (MPX2) - K19-3 (GND) W - W-B Линия шины CAN низкого уровня - масса Провод отсоединен от отрицательного (-) вывода аккумуляторной батареи 200 Ом или более
      K19-7 (MPX1) - K19-1 (B) P-L Линия шины CAN высокого уровня - положительный вывод аккумуляторной батареи (+) Провод отсоединен от отрицательного (-) вывода аккумуляторной батареи 6 кОм или более
      K19-6 (MPX2) - K19-1 (B) W-L Линия шины CAN низкого уровня - положительный вывод аккумуляторной батареи (+) Провод отсоединен от отрицательного (-) вывода аккумуляторной батареи 6 кОм или более
  28. A01UCT9C08
    *a

    Устройство с неподсоединенным жгутом проводов

    (блок электропривода правой раздвижной двери)

    - -

    БЛОК ЭЛЕКТРОПРИВОДА ПРАВОЙ РАЗДВИЖНОЙ ДВЕРИ


    1. Отсоедините провод от отрицательного (-) вывода аккумуляторной батареи.

    2. Отсоедините разъем L15 блока электропривода правой раздвижной двери.

    3. A01UD7AC33
      *a

      Вид спереди разъема со стороны жгута проводов:

      (к блоку электропривода правой раздвижной двери)

      Измерьте сопротивление в соответствии со значениями, приведенными в таблице ниже.

      Номинальное сопротивление
      Номера контактов (обозначения) Цвет проводки Назначение контактов Условие Заданные условия
      L15-7 (MPX1) - L15-6 (MPX2) P - W Линия шины CAN высокого уровня - линия шины CAN низкого уровня Провод отсоединен от отрицательного (-) вывода аккумуляторной батареи 54-69 Ом
      L15-7 (MPX1) - L15-3 (GND) P - W-B Линия шины CAN высокого уровня - масса Провод отсоединен от отрицательного (-) вывода аккумуляторной батареи 200 Ом или более
      L15-6 (MPX2) - L15-3 (GND) W - W-B Линия шины CAN низкого уровня - масса Провод отсоединен от отрицательного (-) вывода аккумуляторной батареи 200 Ом или более
      L15-7 (MPX1) - L15-1 (B) P - R Линия шины CAN высокого уровня - положительный вывод аккумуляторной батареи (+) Провод отсоединен от отрицательного (-) вывода аккумуляторной батареи 6 кОм или более
      L15-6 (MPX2) - L15-1 (B) W-R Линия шины CAN низкого уровня - положительный вывод аккумуляторной батареи (+) Провод отсоединен от отрицательного (-) вывода аккумуляторной батареи 6 кОм или более
  29. A01UCU6C03
    *a

    Устройство с неподсоединенным жгутом проводов

    (реле управления освещением салона)

    - -

    РЕЛЕ УПРАВЛЕНИЯ ОСВЕЩЕНИЕМ САЛОНА


    1. Отсоедините провод от отрицательного (-) вывода аккумуляторной батареи.

    2. Отсоедините разъем S30 реле управления освещением салона.

    3. A01UEDHC04
      *a

      Вид спереди разъема со стороны жгута проводов:

      (к реле управления освещением салона)

      Измерьте сопротивление в соответствии со значениями, приведенными в таблице ниже.

      Номинальное сопротивление
      Номера контактов (обозначения) Цвет проводки Назначение контактов Условие Заданные условия
      S30-1 (CANH) - S30-11 (CANL) V - W Линия шины CAN высокого уровня - линия шины CAN низкого уровня Провод отсоединен от отрицательного (-) вывода аккумуляторной батареи 54-69 Ом
      S30-1 (CANH) - S30-2 (E) V - W-B Линия шины CAN высокого уровня - масса Провод отсоединен от отрицательного (-) вывода аккумуляторной батареи 200 Ом или более
      S30-11 (CANL) - S30-2 (E) W - W-B Линия шины CAN низкого уровня - масса Провод отсоединен от отрицательного (-) вывода аккумуляторной батареи 200 Ом или более
      S30-1 (CANH) - S30-4 (ECUB1) V - SB Линия шины CAN высокого уровня - положительный вывод аккумуляторной батареи (+) Провод отсоединен от отрицательного (-) вывода аккумуляторной батареи 6 кОм или более
      S30-11 (CANL) - S30-4 (ECUB1) W - SB Линия шины CAN низкого уровня - положительный вывод аккумуляторной батареи (+) Провод отсоединен от отрицательного (-) вывода аккумуляторной батареи 6 кОм или более