СИСТЕМА БЛОКИРОВКИ РУЛЕВОГО УПРАВЛЕНИЯ, Diagnostic DTC:B2782

Код DTC Наименование DTC
B2782 Неисправность ЭБУ распределения питания

ОПИСАНИЕ

ЭБУ сертификации (ЭБУ электронного ключа зажигания в сборе) выполняет функцию переключения режима источника питания.

Данный DTC регистрируется, когда определяется ненормальное состояние сигнала IGE (сигнал разрешения включения электродвигателя блокировки рулевого управления), который передается напрямую из ЭБУ сертификации (ЭБУ электронного ключа зажигания) в ЭБУ блокировки рулевого управления (привод блокировки рулевого управления или верхний кронштейн в сборе).

Tech Tips

ЭБУ блокировки рулевого управления в сборе (привод блокировки рулевого управления или верхний кронштейн в сборе) не подключен к системе передачи данных CAN. Однако ЭБУ блокировки рулевого управления (привод блокировки рулевого управления или передний кронштейн в сборе) соединен с ЭБУ сертификации (ЭБУ электронного ключа зажигания) по шине LIN и обменивается данными с другими узлами по шине CAN через ЭБУ сертификации (ЭБУ электронного ключа зажигания).

№ DTC Неисправность Условие обнаружения DTC Неисправный участок Примечание
B2782 Неисправность ЭБУ распределения питания

Выполняется одно из следующих условий (логика диагностирования за 1 поездку (выводится только при наличии неисправности и нахождении выключателя зажигания в состоянии ON (ВКЛ) (IG))).:


  • В цепи включения электродвигателя блокировки рулевого управления имеется короткое замыкание.

  • В цепи включения электродвигателя блокировки рулевого управления имеется обрыв.

Tech Tips

Если сигнал источника питания, получаемый по шине LIN, не совпадает с сигналом источника питания, принимаемым напрямую, регистрируется неисправность системы.


  • ЭБУ блокировки рулевого управления (привод блокировки рулевого управления верхний кронштейн в сборе)

  • ЭБУ сертификации (ЭБУ электронного ключа зажигания в сборе)

  • Жгут или разъем

Операция подтверждения вывода DTC: Выполните операцию блокировки/разблокировки рулевого управления. (Рулевое управление блокируется при выключенном зажигании, когда дверь открывается, а рычаг переключения передач установлен в положение P. Рулевое управление разблокируется, когда водитель, имеющий при себе ключ, включает зажигание ([ACC] или [IG]).)
Состояние автомобиля и аварийный режим при обнаружении неисправности
Состояние автомобиля при обнаружении неисправности Аварийный режим при обнаружении неисправности
Невозможна блокировка или разблокировка рулевого управления. Поэтому двигатель не запускается. Запуск двигателя запрещается (коленчатый вал не прокручивается).
Связанные параметры режимов Data List и Active Test
№ DTC Параметр Data List Параметр Active Test
B2782

    Entry&Start

  • Power Supply Short

-

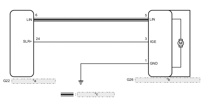
СХЕМА ЭЛЕКТРИЧЕСКИХ СОЕДИНЕНИЙ

A01UEX1E29
*a ЭБУ сертификации (ЭБУ электронного ключа зажигания в сборе)
*b ЭБУ блокировки рулевого управления (привод блокировки рулевого управления верхний кронштейн в сборе)
*c Линия передачи данных LIN

ПРЕДОСТЕРЕЖЕНИЕ / ПРИМЕЧАНИЕ / УКАЗАНИЕ

Note


  • При использовании GTS при выключенном зажигании подключите GTS к автомобилю и с интервалом не более 1,5 секунды включайте и выключайте выключатель освещения дверного проема до тех пор, пока не установится связь между GTS и автомобилем. Затем выберите код модели "KEY REGIST" в ручном режиме и войдите в следующие пункты меню: Body Electrical / Entry&Start(CAN). При использовании GTS периодически включайте и выключайте выключатель освещения дверного проема с интервалом не более 1,5 с, чтобы поддерживать связь между GTS и автомобилем.

  • Система блокировки рулевого управления использует для передачи данных шину LIN. Прежде чем приступать к диагностике, проверьте работу системы передачи данных в соответствии с указаниями раздела "Порядок поиска неисправностей" и убедитесь, что эта система исправна.

    Нажмите здесь Click here

  • Если отрицательный (-) вывод аккумуляторной батареи отсоединялся, после его подсоединения необходимо инициализировать некоторые системы.

    Нажмите здесь Click here

  • После ремонта выполните операцию подтверждения вывода DTC, а затем убедитесь, что коды DTC не выводятся снова.

    Нажмите здесь Click here

  • В случае замены ЭБУ блокировки рулевого управления (привода блокировки рулевого управления или верхнего кронштейна в сборе) или ЭБУ сертификации (ЭБУ электронного ключа зажигания в сборе) необходимо выполнить регистрацию (см. бюллетень технического обслуживания).

ПОРЯДОК ВЫПОЛНЕНИЯ


  1. ПРОВЕРЬТЕ ЭБУ БЛОКИРОВКИ РУЛЕВОГО УПРАВЛЕНИЯ (ПРИВОД БЛОКИРОВКИ РУЛЕВОГО УПРАВЛЕНИЯ ИЛИ ВЕРХНИЙ КРОНШТЕЙН В СБОРЕ) (СИГНАЛ ВКЛЮЧЕНИЯ ЭЛЕКТРОДВИГАТЕЛЯ)


    1. Проверьте, не ослаблены ли фиксирующая и соединительная части разъема.

    2. Отсоедините разъем G26 ЭБУ блокировки рулевого управления (привода блокировки рулевого управления или верхнего кронштейна в сборе).

    3. A01UD5UC98
      *a

      Вид спереди разъема со стороны жгута проводов:

      (к ЭБУ блокировки рулевого управления (приводу блокировки рулевого управления или верхнему кронштейну в сборе))

      Измерьте сопротивление в соответствии со значениями, приведенными в таблице ниже.

      Номинальное сопротивление
      Подключение диагностического прибора Условие Заданные условия
      G26-1 (GND) - масса Всегда Менее 1 Ом
    4. Подсоедините разъем G26 ЭБУ блокировки рулевого управления (привода блокировки рулевого управления или верхнего кронштейна в сборе).

    5. Переведите рычаг переключения передач в положение P и выключите зажигание.

    6. A01UD1SC66
      *a

      Устройство с подсоединенным жгутом проводов

      (ЭБУ блокировки рулевого управления (привод блокировки рулевого управления или верхний кронштейн в сборе))

      *b Электродвигатель блокировки рулевого управления не работает
      *c Электродвигатель блокировки рулевого управления работает

      Проверьте форму сигнала в соответствии с условиями, указанными в таблице ниже.

      Номинальная частота
      Параметр / Устройство Описание
      Подключение диагностического прибора G26-3 (IGE) - G26-1 (GND)
      Настройки прибора 2 В / дел., 200 мс/ дел.
      Состояние автомобиля Электродвигатель блокировки рулевого управления: не работает → работает → не работает

      Tech Tips


      • При проведении измерений, когда двигатель блокировки не работает, не требуется выполнять никаких действий.

      • Чтобы провести измерения во время работы двигателя блокировки, выполните одно из следующих действий:


        • Чтобы разблокировать рулевое управление, возьмите ключ и переведите выключатель зажигания в состояние ON (ВКЛ) (ACC) или ON (ВКЛ) (IG).

        • Чтобы заблокировать рулевое управление, выключите зажигание с рычагом переключения передач в положении P, а затем откройте дверь.

      Результат
      Следующий шаг
      OK
      NG

    NG
    OK
  2. УДАЛИТЕ DTC И ДАННЫЕ DATA LIST О НЕИСПРАВНОСТЯХ


    1. Сбросьте коды DTC.

      Нажмите здесь Click here


      Body Electrical > Entry&Start > Clear DTCs
    2. Отсоедините провод от отрицательного (-) вывода аккумуляторной батареи, подождите не менее 30 с, а затем подсоедините провод к отрицательному (-) выводу аккумуляторной батареи, чтобы удалить запись о неисправностях в режиме Data List.

      CAUTION:

      После выключения двигателя следует подождать некоторое время, прежде чем отсоединять провод от вывода аккумуляторной батареи. Поэтому, прежде чем приступать к этой работе, обязательно ознакомьтесь с примечанием относительно отсоединения провода от вывода аккумуляторной батареи.

      Нажмите здесь Click here

      Результат
      Перейти к
      ДАЛЕЕ

    ДАЛЕЕ
  3. СНИМИТЕ ПОКАЗАНИЯ GTS (POWER SUPPLY SHORT)


    1. Выполните операцию подтверждения вывода DTC.

    2. Проверьте, выводится ли DTC B2782.

      Нажмите здесь Click here


      Body Electrical > Entry&Start > Trouble Codes
    3. Используя режим Data List, убедитесь, что управление блокировкой рулевого управления осуществляется надлежащим образом.


      Body Electrical > Entry&Start > Data List
      Информация на дисплее прибора Измеряемая величина Диапазон Нормальное состояние Замечание по диагностике
      Power Supply Short

      Запись о несоответствии норме сигнала, поступившего в электродвигатель блокировки рулевого управления (привод блокировки рулевого управления или верхний кронштейн в сборе) из ЭБУ сертификации (ЭБУ электронного ключа зажигания в сборе) (короткое замыкание)

      (DTC B2782 выводится)

      OK или NG(Past)

      ОК: Запись о неисправности (коротком замыкании) отсутствует

      NG (Past): запись о неисправности (коротком замыкании) существует

      Этот параметр регистрирует неисправности в цепях между ЭБУ сертификации (ЭБУ электронного ключа зажигания в сборе) и электродвигателем блокировки рулевого управления (приводом блокировки рулевого управления или верхним кронштейном в сборе).

      Body Electrical > Entry&Start > Data List
      Информация на дисплее прибора
      Power Supply Short
      Результат
      Результат Следующий шаг

      • DTC B2782 не выводится.

      • На экране GTS отображается "ОК".

      А

      • Выводится DTC B2782.

      • На экране GTS отображается "NG (Past)".

      B

    А
    B
  4. ПРОВЕРЬТЕ ЖГУТ ПРОВОДОВ И РАЗЪЕМ (ЭБУ БЛОКИРОВКИ РУЛЕВОГО УПРАВЛЕНИЯ (ПРИВОД БЛОКИРОВКИ РУЛЕВОГО УПРАВЛЕНИЯ ИЛИ ВЕРХНИЙ КРОНШТЕЙН В СБОРЕ) - ЭБУ СЕРТИФИКАЦИИ (ЭБУ ЭЛЕКТРОННОГО КЛЮЧА ЗАЖИГАНИЯ В СБОРЕ))


    1. Проверьте, не ослаблены ли фиксирующая и соединительная части разъема.

    2. Отсоедините разъем G26 ЭБУ блокировки рулевого управления (привода блокировки рулевого управления или верхнего кронштейна в сборе).

    3. Отсоедините разъем G22 ЭБУ сертификации (ЭБУ электронного ключа зажигания в сборе).

    4. Проверьте корпус и контакты разъема на наличии деформации и коррозии.

      OK
      Отсутствуют деформация и коррозия корпуса и контактов разъема.
    5. Измерьте сопротивление в соответствии со значениями, приведенными в таблице ниже.

      Номинальное сопротивление
      Подключение диагностического прибора Условие Заданные условия
      G26-3 (IGE) - G22-24 (SLR+) Всегда Менее 1 Ом
      G26-3 (IGE) или G22-24 (SLR+) - масса Всегда 10 кОм или более
      Результат
      Перейти к
      OK
      NG

    OK
    NG