LIGHTING SYSTEM Cornering Light Circuit

DESCRIPTION

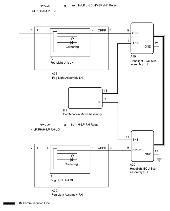
The illumination of the fog light assembly (cornering light) is controlled by the headlight ECU sub-assembly.

WIRING DIAGRAM


  1. B002JSOE03

CAUTION / NOTICE / HINT

Note


  • The light system (exterior) uses the CAN communication system and multiplex communication system (LIN). First perform the communication function checks in "How to Proceed with Troubleshooting" to confirm that there are no communication malfunctions before proceeding with troubleshooting.

    Click here

  • After the headlight ECU sub-assembly LH is replaced, vehicle information registration and initialization are necessary.

    Click here

  • Check that meter/gauge system DTCs B1507 and B1508 are not output.

    Click here

  • Check the fuses for circuits related to this system before performing the following inspection procedure.

PROCEDURE


  1. PERFORM ACTIVE TEST USING GTS (CORNERING LIGHT)


    1. Using the GTS, perform the Active Test.

      Click here


      1. for Triple Beam Headlight:


        Body Electrical > AFS > Active Test
        Tester Display Measurement Item Control Range Diagnostic Note
        Clearance Light Illuminates cornering lights OFF or ON -

        Body Electrical > AFS > Active Test
        Tester Display
        Clearance Light
      2. for Single Beam Headlight:


        Body Electrical > HL AutoLeveling > Active Test
        Tester Display Measurement Item Control Range Diagnostic Note
        Cornering Light Illuminates cornering lights OFF or ON -

        Body Electrical > HL AutoLeveling > Active Test
        Tester Display
        Cornering Light
      Result
      Result Proceed to
      The Active Test is performed normally A
      The Active Test is not performed normally for the right side light only B
      The Active Test is not performed normally for the left side light only C

    A
    C
    B
  2. CHECK HARNESS AND CONNECTOR (FOG LIGHT ASSEMBLY RH - BATTERY)


    1. B002KVNC03
      *a

      Front view of wire harness connector

      (to Fog Light Assembly RH)

      Disconnect the fog light assembly RH connector.

    2. Measure the voltage according to the value(s) in the table below.

      Standard Voltage
      Tester Connection Switch Condition Specified Condition
      A29-2 (B) - Body ground Power switch on (IG) 11 to 14 V
      Result
      Proceed to
      OK
      NG

    NG
    OK
  3. CHECK HARNESS AND CONNECTOR (HEADLIGHT ECU SUB-ASSEMBLY RH - FOG LIGHT ASSEMBLY RH)


    1. Disconnect the A20 headlight ECU sub-assembly RH connector.

    2. Disconnect the A29 fog light assembly RH connector.

    3. Measure the resistance according to the value(s) in the table below.

      Standard Resistance
      Tester Connection Condition Specified Condition
      A20-9 (CRSR) - A29-3 (CRPR) Always Below 1 Ω
      A20-9 (CRSR) or A29-3 (CRPR) - Body ground Always 10 kΩ or higher
      Result
      Proceed to
      OK
      NG

    NG
    OK
  4. INSPECT FOG LIGHT ASSEMBLY RH


    1. Remove the fog light assembly RH.

      Click here

    2. Inspect the fog light assembly RH.

      Click here

      Result
      Proceed to
      OK
      NG

    OK
    NG
  5. INSPECT FOG LIGHT ASSEMBLY RH


    1. B002HL7E08
      *1 CRPR

      Remove the fog light assembly RH.

      Click here

    2. Remove the fog light unit RH from the fog light assembly RH.

      Click here

    3. Measure the resistance according to the value(s) in the table below.

      Standard Resistance
      Tester Connection Condition Specified Condition
      A-1 - B-2 (B) Always Below 1 Ω
      A-4 - B-3 (CRPR) Always 10 kΩ or higher
      Result
      Proceed to
      OK
      NG

    OK
    NG
  6. CHECK HARNESS AND CONNECTOR (FOG LIGHT ASSEMBLY LH - BATTERY)


    1. B002KVNC04
      *a

      Front view of wire harness connector

      (to Fog Light Assembly LH)

      Disconnect the fog light assembly LH connector.

    2. Measure the voltage according to the value(s) in the table below.

      Standard Voltage
      Tester Connection Switch Condition Specified Condition
      A28-2 (B) - Body ground Power switch on (IG) 11 to 14 V
      Result
      Proceed to
      OK
      NG

    NG
    OK
  7. CHECK HARNESS AND CONNECTOR (HEADLIGHT ECU SUB-ASSEMBLY LH - FOG LIGHT ASSEMBLY LH)


    1. Disconnect the A19 headlight ECU sub-assembly LH connector.

    2. Disconnect the A28 fog light assembly LH connector.

    3. Measure the resistance according to the value(s) in the table below.

      Standard Resistance
      Tester Connection Condition Specified Condition
      A19-9 (CRSL) - A28-3 (CRPR) Always Below 1 Ω
      A19-9 (CRSL) or A28-3 (CRPR) - Body ground Always 10 kΩ or higher
      Result
      Proceed to
      OK
      NG

    NG
    OK
  8. INSPECT FOG LIGHT ASSEMBLY LH


    1. Remove the fog light assembly LH.

      Click here

    2. Inspect the fog light assembly LH.

      Click here

      Result
      Proceed to
      OK
      NG

    OK
    NG
  9. INSPECT FOG LIGHT ASSEMBLY LH


    1. B002HL7E08
      *1 CRPR

      Remove the fog light assembly LH.

      Click here

    2. Remove the fog light unit LH from the fog light assembly LH.

      Click here

    3. Measure the resistance according to the value(s) in the table below.

      Standard Resistance
      Tester Connection Condition Specified Condition
      A-1 - B-2 (B) Always Below 1 Ω
      A-4 - B-3 (CRPR) Always 10 kΩ or higher
      Result
      Proceed to
      OK
      NG

    OK
    NG