WINDSHIELD GLASS INSTALLATION

CAUTION / NOTICE / HINT

Note


  • If the windshield glass is replaced on a vehicle equipped with a lane departure alert camera, make sure to use a Toyota genuine part, as the camera may not be able to be installed due to a missing bracket or the lane departure alert system may not operate properly due to a difference in the transmissivity or ceramic line shape.

  • Make sure to use Toyota Genuine Windshield Glass Adhesive (High Modulus Type) or an equivalent high modulus adhesive.

Tech Tips


  • Use the same procedure for RHD and LHD vehicles.

  • The procedure listed below is for LHD vehicles.

  • Use the same procedure for the RH and LH sides.

  • The procedure listed below is for the LH side.

  • A bolt without a torque specification is shown in the standard bolt chart.

    Click here

PROCEDURE


  1. CLEAN WINDSHIELD GLASS


    1. B002J6P

      Clean the outer edge of the windshield glass with non-residue solvent.

      Note


      • Do not touch the windshield glass surface after cleaning it.

      • Be careful not to damage the glass.

      • Even if using a new windshield glass, clean the back door glass with non-residue solvent.

  2. INSTALL NO. 1 WINDSHIELD OUTSIDE MOULDING CLIP

    Tech Tips


    • Perform the following procedure if replacing the No. 1 windshield outside moulding clip.

    • Use the same procedure for the other clips.


    1. B002HAH

      Install a No. 4 nose piece to an air riveter and then insert the mandrel part of a new No. 1 windshield outside moulding clip into the nose piece.

    2. Press the No. 1 windshield outside moulding clip against the installation hole perpendicularly and using an air riveter, install the No. 1 windshield outside moulding clip.

  3. INSTALL NO. 1 WINDSHIELD GLASS STOPPER


    1. B002IUI

      Install 2 new No. 1 windshield glass stoppers to the vehicle body as shown in the illustration.

      Note

      Only 2-piece type windshield glass stoppers are provided as supply parts. Use 2-piece type stoppers as replacements even if 1-piece type stoppers were originally installed.

  4. INSTALL NO. 2 WINDSHIELD GLASS STOPPER


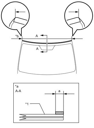
    1. B002JP9C01
      *a Center Line
      *b Ceramic Notch
      *c Back Side
      B002JLO Primer G Application Area

      Using a brush or sponge, coat the application area of 2 new No. 2 windshield glass stoppers with Primer G.

      Note


      • Do not apply too much Primer G.

      • Allow the Primer G to dry for 3 minutes or more.

      • Throw away any leftover Primer G.

      Tech Tips

      If an area other than specified is coated by accident, wipe off the Primer G with a clean piece of cloth before it dries.

    2. Remove the peeling paper from the face of the No. 2 windshield glass stopper.

      Tech Tips

      After removing the peeling paper, keep the exposed adhesive free from foreign matter.

    3. Install the 2 No. 2 windshield glass stoppers to the windshield glass as shown in the illustration.

      Standard
      Area Specified Condition
      a 16.0 mm (0.6299 in.)

      Note


      • Install the No. 2 windshield glass stopper after Primer G has been allowed to dry (approx. 3 min.)

      • Make sure to install the No. 2 windshield glass stopper in the correct orientation.

  5. INSTALL WINDOW GLASS ADHESIVE DAM


    1. Using a brush or sponge, coat the application area of a new window glass adhesive dam with Primer G.

      Note


      • Do not apply too much primer.

      • Allow the Primer G to dry for 3 minutes or more.

      • Throw away any leftover primer.

      Tech Tips

      If an area other than specified is coated by accident, wipe off the Primer G with a clean piece of cloth before it dries.

    2. Remove the peeling paper from the face of the window glass adhesive dam.

      Tech Tips

      After removing the peeling paper, keep the exposed adhesive free from foreign matter.

    3. Install the window glass adhesive dam to the windshield glass as shown in the illustration.

      B002II9C01
      *a Back Side *b Window Glass Adhesive Dam Center Line
      Standard
      Area Specified Condition
      a 7.0 mm (0.2756 in.)

      Note

      Install the window glass adhesive dam after Primer G has been allowed to dry (approx. 3 min.).

  6. INSTALL WINDSHIELD OUTSIDE MOULDING

    B002J0VC02
    *1 Windshield Glass
    *a Back Side
    *b Primer G Application Area
    B002JLO Primer G Application Area

    1. Using a brush or sponge, coat the application area of a new windshield outside moulding with Primer G.

      Standard
      Area Specified Condition
      a 7.0 mm (0.2756 in.) or more

      Note


      • Do not apply too much primer.

      • Allow the Primer G to dry for 3 minutes or more.

      • Throw away any leftover primer.

    2. Remove the peeling paper from the face of the windshield outside moulding.

      Tech Tips

      After removing the peeling paper, keep the exposed adhesive free from foreign matter.

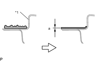
    3. B002JHOC01
      *1 Windshield Glass
      *2 Windshield Outside Moulding
      *a Back Side
      B002HVY R End

      Install a new windshield outside moulding to the windshield glass as shown in the illustration.

      Standard
      Area Specified Condition
      a 7.0 mm (0.2756 in.)

      Tech Tips

      Align the edges of the windshield outside moulding with the R ends and install it.

      Note

      Install the windshield outside moulding after Primer G has been allowed to dry (approx. 3 min.).

  7. INSTALL WINDSHIELD GLASS


    1. B002H7LC01
      *1 Vehicle Body
      B002JLO Adhesive

      Clean and shape the contact surface of the vehicle body.


      1. On the contact surface of the vehicle body, use a knife to cut away excess adhesive as shown in the illustration.

        Standard
        Area Specified Condition
        a 1.0 mm

        Note

        Leave as much adhesive on the vehicle body as possible.

      2. Clean the contact surface of the vehicle body with cleaner.

        Tech Tips

        Even if all the adhesive has been removed, clean the vehicle body.

    2. B002JJEC05
      *a Matchmarks

      Position the windshield glass.


      1. Using suction cups, place the windshield glass in the correct position.

      2. Check that the entire contact surface of the glass rim is perfectly even.

      3. Place matchmarks on the windshield glass and vehicle body at the locations indicated in the illustration.

        Note

        Check that the stoppers are attached to the vehicle body correctly.

      4. Using suction cups, remove the windshield glass.

    3. B002I5CC01
      *a CORRECT
      *b INCORRECT
      *c Primer M
      *d Adhesive
      B002JLO Primer M Application Area

      Using a brush, apply Primer M to the exposed part of the vehicle body.

      Note


      • Allow the primer to dry for 3 minutes or more.

      • Do not apply primer to the adhesive.

      • Throw away any leftover primer.

      • Do not apply too much primer.

    4. Using a brush or sponge, apply Primer G to the contact surface of the glass.

      B002H85C01
      *a Back Side *b Adhesive Center Line
      B002JLO Primer G Application Area - -
      Standard
      Area Specified Condition
      a 8.0 mm (0.3150 in.)
      b 11.0 mm (0.4331 in.) or more
      c 11.0 mm (0.4331 in.) or more
      d 19.0 mm (0.7480 in.) or more

      Tech Tips

      If the primer is applied to an area that is not specified, apply non-residue solvent to a clean cloth and wipe off the excess primer.

      Note


      • Allow the primer to dry for 3 minutes or more.

      • Throw away any leftover primer.

      • Do not apply too much primer.

    5. B002I5FC79
      *1 Sealer Gun
      *2 Nozzle

      Apply adhesive to the windshield glass.

      Adhesive
      Toyota Genuine Windshield Glass Adhesive (High modulus Type) or Equivalent

      1. Cut off the tip of the cartridge nozzle as shown in the illustration.

        Tech Tips

        After cutting off the tip, use all adhesive within the time written in the table below.

        Standard
        Area Specified Condition
        a 12.0 mm (0.4724 in.)
        b 8.0 mm (0.3150 in.)
        Usage Time Frame
        Temperature Usage Time Frame
        35°C (95°F) 15 minutes
        20°C (68°F) 1 hour 40 minutes
        5°C (41°F) 8 hours
      2. Load the sealer gun with the cartridge.

      3. Apply adhesive to the glass as shown in the illustration.

        B002HRRC01
        *a Back Side *b Adhesive Center Line
        Standard
        Area Specified Condition
        a 3.0 mm (0.1181 in.)
        b 3.0 mm (0.1181 in.)
        c 3.0 mm (0.1181 in.)
        d 4.0 mm (0.1575 in.)
        e 8.0 mm (0.3150 in.)
        f 10.0 mm (0.3937 in.)
    6. B002JJEC06
      *a Matchmarks

      Install the windshield glass to the vehicle body.


      1. Using suction cups, position the windshield glass so that the matchmarks are aligned. Press it in gently along the rim.

        Note


        • Check that the stoppers are attached to the vehicle body correctly.

        • Check that the vehicle body and glass have a small gap between them.

      2. Lightly press the outer surface of the glass to ensure that it is securely fit to the vehicle body.

        Tech Tips

        Press the glass with force of 98 N (10 kgf, 22.0 lbf) or more.

      3. Using a scraper, remove any excess or protruding adhesive.

        Note

        Apply adhesive to the glass rim.

      4. Using a scraper, remove any excess or protruding adhesive.

      5. Hold the windshield glass in place securely with protective tape or equivalent until the adhesive hardens.

        Note

        Do not drive the vehicle for the time described in the table below.

        Minimum Time
        Temperature Minimum Time Prior to Driving Vehicle
        35°C (95°F) 7 hours
        20°C (68°F) 12 hours
        5°C (41°F) 54 hours
  8. CHECK FOR LEAKS AND REPAIR


    1. After the adhesive has hardened, apply water from the outside of the vehicle. Check that no water leaks into the cabin.

    2. If water leaks into the cabin, allow the water to dry and add adhesive.

    3. Remove the protective tape.

  9. INSTALL DIGITAL AUDIO BROADCASTING ANTENNA (w/ Digital Audio Broadcasting Antenna)

    Click here

  10. INSTALL ROOF HEADLINING ASSEMBLY

    Click here

  11. INSTALL ASSIST GRIP SUB-ASSEMBLY

    Click here

  12. INSTALL MAP LIGHT ASSEMBLY

    Click here

  13. INSTALL VISOR HOLDER

    Click here

  14. INSTALL VISOR ASSEMBLY LH

    Click here

  15. INSTALL VISOR ASSEMBLY RH

    Tech Tips

    Use the same procedure described for the LH side.

  16. INSTALL VISOR BRACKET COVER

    Click here

  17. INSTALL FRONT PILLAR GARNISH ASSEMBLY LH

    Click here

  18. INSTALL FRONT PILLAR GARNISH ASSEMBLY RH

    Tech Tips

    Use the same procedure described for the LH side.

  19. INSTALL FRONT DOOR OPENING TRIM WEATHERSTRIP LH

    Click here

  20. INSTALL FRONT DOOR OPENING TRIM WEATHERSTRIP RH

    Tech Tips

    Use the same procedure described for the LH side.

  21. INSTALL LANE DEPARTURE WARNING CAMERA (w/ Lane Departure Alert System)

    Click here

  22. INSTALL RAIN SENSOR (w/ Rain Sensor)

    Click here

  23. INSTALL RAIN SENSOR COVER (w/o Lane Departure Alert System)

    Click here

  24. INSTALL INNER REAR VIEW MIRROR ASSEMBLY (w/o Lane Departure Alert System)

    Click here

  25. INSTALL INNER REAR VIEW MIRROR STAY HOLDER COVER (w/o Lane Departure Alert System)

    Click here

  26. INSTALL INNER REAR VIEW MIRROR ASSEMBLY (w/ Lane Departure Alert System)

    Click here

  27. INSTALL NO. 1 LANE RECOGNITION COVER (w/ Lane Departure Alert System)

    Click here

  28. INSTALL WINDSHIELD OUTSIDE MOULDING LH


    1. Attach the 8 claws to install the windshield outside moulding LH.

  29. INSTALL WINDSHIELD OUTSIDE MOULDING RH

    Tech Tips

    Use the same procedure described for the LH side.

  30. INSTALL COWL TOP VENTILATOR LOUVER SUB-ASSEMBLY

    Click here

  31. INSTALL FRONT FENDER TO COWL SIDE SEAL LH


    1. Remove the double-sided tape from the front fender sub-assembly LH surface.

      Note


      • Installing the front fender to cowl side seal LH with any double-sided tape remaining may cause poor adhesion. Therefore, perform this procedure until sufficiently removed.

      • Make sure to use a cloth when removing. Using a screwdriver, etc., may cause damage and poor adhesion.

    2. Wipe off any tape adhesive residue with cleaner.

    3. Remove the peeling paper from the face of the front fender to cowl side seal LH.

      Tech Tips

      After removing the peeling paper, keep the exposed adhesive free from foreign matter.

    4. B002IGFC02
      B002JLO Double-sided Tape

      Attach the 2 guides, 2 claws and double-sided tape to install the front fender to cowl side seal LH.

      Note

      Press the front fender to cowl side seal LH firmly to install it.

  32. INSTALL FRONT FENDER TO COWL SIDE SEAL RH

    Tech Tips

    Use the same procedure described for the LH side.

  33. INSTALL FRONT WIPER ARM LH

    Click here

  34. INSTALL FRONT WIPER ARM RH

    Click here

  35. INSTALL FRONT WIPER ARM HEAD CAP

    Click here

  36. CHECK WINDSHIELD GLASS


    1. Conduct a leak test after the adhesive has completely hardened.

    2. Seal any leaks with auto glass sealer.

  37. ADJUST LANE DEPARTURE WARNING CAMERA (w/ Lane Departure Alert System)

    Click here