AIR CONDITIONING PRESSURE SENSOR ON-VEHICLE INSPECTION

PROCEDURE


  1. INSPECT AIR CONDITIONER PRESSURE SENSOR


    1. A01CQN6C03
      *a

      Component without harness connected

      (Air Conditioner Pressure Sensor)

      *b

      Component without harness connected

      (Air Conditioning Amplifier Assembly)

      Check the wire harness.


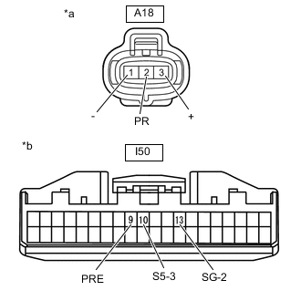
      1. Disconnect the A18 air conditioner pressure sensor connector.

      2. Disconnect the I50 air conditioning amplifier assembly connector.

      3. Measure the resistance according to the value(s) in the table below.

        Standard Resistance
        Tester Connection Condition Specified Condition
        A18-1 (-) - I50-13 (SG-2) Always Below 1 Ω
        A18-2 (PR) - I50-9 (PRE) Always Below 1 Ω
        A18-3 (+) - I50-10 (S5-3) Always Below 1 Ω
        A18-1 (-) - Body ground Always 10 kΩ or higher
        A18-2 (PR) - Body ground Always 10 kΩ or higher
        A18-3 (+) - Body ground Always 10 kΩ or higher

        If the resistance is not as specified, repair the wire harness.

      4. A01CNRLC28
        *a

        Component with harness connected

        (Air Conditioning Amplifier Assembly)

        Reconnect the I50 air conditioning amplifier assembly connector.

      5. Turn the power switch on (IG).

      6. Measure the voltage according to the value(s) in the table below.

        Standard Voltage
        Tester Connection Condition Specified Condition
        A18-3 (+) - Body ground Power switch on (IG) 4.75 to 5.25 V

        If the voltage is not as specified, repair the wire harness or replace the air conditioning amplifier assembly.

    2. Check the air conditioner pressure sensor.


      1. Connect the connector to the air conditioner pressure sensor.

      2. Install a manifold gauge set.

      3. Warm up the engine.

      4. Turn the A/C switch on.

      5. A01COX0C09
        *a

        Component with harness connected

        (Air Conditioning Amplifier Assembly)

        Measure the voltage according to the value(s) in the table below.

        Tech Tips

        Check from the rear of the connector while it is connected to the air conditioning amplifier assembly.

        Standard Voltage
        Tester Connection Condition Specified Condition
        I50-9 (PRE) - I50-13 (SG-2)

        Refrigerant pressure: Normal pressure (less than 3025 kPa (30.8 kgf/cm2, 439 psi) and more than 176 kPa (1.8 kgf/cm2, 26 psi))

        0.74 to 4.71 V

        If the voltage is not as specified, replace the air conditioner pressure sensor.