SEAT POSITION SENSOR(for Manual Seat) INSTALLATION

CAUTION / NOTICE / HINT

CAUTION:

Wear protective gloves. Sharp areas on the parts may injure your hands.

Tech Tips


  • Use the same procedure for RHD and LHD vehicles.

  • The procedure listed below is for LHD vehicles.

PROCEDURE


  1. INSTALL SEAT POSITION AIRBAG SENSOR


    1. B002L0Q

      Attach the guide to install the seat slide position airbag sensor protector.

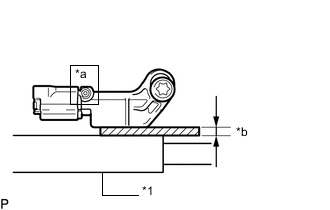
    2. B002JZLC06
      *1 Seat Rail
      *a Adjustment Support
      *b 1.3 mm (0.0512 in.)
      B002JLO Feeler Gauge

      Align the adjustment support and set the seat position airbag sensor into place.

    3. Using a T30 "TORX" socket wrench, temporarily install the seat position airbag sensor with a new "TORX" bolt.

      Note


      • If the seat position airbag sensor has been dropped, or there are any cracks, dents or other defects in the case or connector, replace the seat position airbag sensor with a new one.

      • When installing the seat position airbag sensor, be careful that the SRS wiring does not interfere with or is pinched between other parts.

      Tech Tips

      Temporarily install the seat position airbag sensor so that the sensor does not fall off of the adjustment support.

    4. Insert a 1.3 mm (0.0512 in.) feeler gauge between the seat position airbag sensor and seat rail.

    5. Move the seat position airbag sensor up and down to adjust the clearance between it and the seat rail.

      Tech Tips


      • Using the adjustment support as an axis, move the seat position vertically to adjust the gap.

      • Move the feeler gauge back and forth and adjust the position of the seat position airbag sensor so that a small amount of resistance can be felt.

    6. Using a T30 "TORX" socket wrench, tighten the "TORX" bolt.

      Torque:
      8.0 N*m  { 82 kgf*cm, 71 in.*lbf }
    7. Pull out the feeler gauge.

    8. Check the clearance between the seat position airbag sensor and seat rail.

      OK
      0.6 mm (0.0236 in.) to 2.0 mm (0.0787 in.)
    9. Attach the 2 wire harness clamps.

    10. Connect the connector.

  2. INSTALL FRONT SEAT CUSHION SHIELD LH

    Click here

  3. INSTALL VERTICAL ADJUSTING HANDLE LH

    Click here

  4. INSTALL RECLINING ADJUSTER RELEASE HANDLE LH

    Click here

  5. INSTALL FRONT SEAT ASSEMBLY LH

    Click here

  6. CONNECT CABLE TO NEGATIVE AUXILIARY BATTERY TERMINAL

    Note

    When disconnecting the cable, some systems need to be initialized after the cable is reconnected.

    Click here


    1. Connect the auxiliary battery negative (-) terminal and tighten the nut.

      Torque:
      5.4 N*m  { 55 kgf*cm, 48 in.*lbf }
    2. w/o Spare Tire:

      Attach the 2 claws to install the battery service cover.

  7. INSTALL DECK FLOOR BOX LH (w/ Spare Tire)

    Click here

  8. INSTALL REAR DECK FLOOR BOX (w/ Spare Tire)

    Click here

  9. INSTALL NO. 3 DECK BOARD SUB-ASSEMBLY (w/ Spare Tire)

    Click here

  10. PERFORM DIAGNOSTIC SYSTEM CHECK

    Click here

  11. CHECK SRS WARNING LIGHT

    Click here