ILLUSTRATION
| *A | w/ Memory | *B | w/ Lane Departure Alert System |
| *C | w/ Pre-crash Safety System | - | - |
| *1 | ECM | *2 | BRAKE BOOSTER WITH MASTER CYLINDER ASSEMBLY (SKID CONTROL ECU) |
| *3 | OUTER MIRROR CONTROL ECU ASSEMBLY LH | *4 | OUTER MIRROR CONTROL ECU ASSEMBLY RH |
| *5 | LANE DEPARTURE WARNING CAMERA | *6 | MILLIMETER WAVE RADAR SENSOR ASSEMBLY |
| *7 | HEADLIGHT LIGHT CONTROL ECU SUB-ASSEMBLY LH | - | - |
ILLUSTRATION
| *A | w/ Blind Spot Monitor System | *B | w/ Adaptive Variable Suspension System |
| *C | w/ Power Back Door System | *D | w/ Panoramic View Monitor System |
| *1 | PARKING BRAKE ECU ASSEMBLY | *2 | ABSORBER CONTROL ECU |
| *3 | BLIND SPOT MONITOR SENSOR LH | *4 | MULTIPLEX NETWORK DOOR ECU |
| *5 | PARKING ASSIST ECU | - | - |
ILLUSTRATION
| *A | w/ ASC System | *B | w/ Navigation System or Audio and Visual System |
| *1 | COMBINATION METER ASSEMBLY | *2 | SPIRAL WITH SENSOR CABLE SUB-ASSEMBLY (STEERING ANGLE SENSOR) |
| *3 | RADIO RECEIVER ASSEMBLY | *4 | INSTRUMENT PANEL JUNCTION BLOCK ASSEMBLY |
| *5 | MAIN BODY ECU (MULTIPLEX NETWORK BODY ECU) | *6 | HYBRID VEHICLE CONTROL ECU |
| *7 | STEREO COMPONENT EQUALIZER ASSEMBLY | - | - |
ILLUSTRATION
| *A | w/ LEXUS Parking Assist-sensor System | *B | w/ Memory |
| *C | for Power Tilt and Power Telescopic Steering Column | *D | w/ Pre-crash Safety System |
| *1 | CLEARANCE WARNING ECU ASSEMBLY | *2 | FRONT POWER SEAT SWITCH RH |
| *3 | AIRBAG ECU ASSEMBLY | *4 | MULTIPLEX TILT AND TELESCOPIC ECU |
| *5 | DRIVING SUPPORT ECU ASSEMBLY | *6 | AIR CONDITIONING AMPLIFIER ASSEMBLY |
| *7 | POWER STEERING ECU ASSEMBLY | *8 | CERTIFICATION ECU (SMART KEY ECU ASSEMBLY) |
| *a | Refer to Service Bulletin for installation position. | - | - |
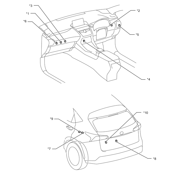
ILLUSTRATION
| *1 | No. 1 CAN JUNCTION CONNECTOR | *2 | No. 2 CAN JUNCTION CONNECTOR |
| *3 | No. 3 CAN JUNCTION CONNECTOR | *4 | No. 4 CAN JUNCTION CONNECTOR |
| *5 | No. 5 CAN JUNCTION CONNECTOR | *6 | No. 6 CAN JUNCTION CONNECTOR |
| *7 | No. 8 CAN JUNCTION CONNECTOR | *8 | No. 9 CAN JUNCTION CONNECTOR |
| *9 | No. 1 CAN JUNCTION TERMINAL | *10 | No. 2 CAN JUNCTION TERMINAL |