DIFFERENTIAL SIDE GEAR SHAFT INSTALLATION

PROCEDURE


  1. INSTALL DUST COVER


    1. for LH Side:


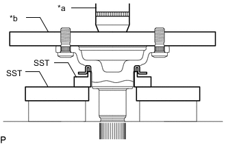
      1. A01CQOOC02
        *a Press
        *b Steel Plate

        Using SST, a steel plate and a press, install a new dust cover to the differential side gear shaft sub-assembly.

        SST
        09527-21011
        09726-40010

        Note


        • Make sure that the edge of the dust cover is securely installed to the differential side gear shaft sub-assembly.

        • Do not damage the dust cover.

    2. for RH Side:


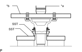
      1. A01CQPSC02
        *a Press
        *b Steel Plate

        Using SST, a steel plate and a press, install a new dust cover to the differential side gear shaft sub-assembly.

        SST
        09309-14010
        09527-20011

        Note


        • Make sure that the edge of the dust cover is securely installed to the differential side gear shaft sub-assembly.

        • Do not damage the dust cover.

  2. INSTALL DIFFERENTIAL SIDE GEAR SHAFT SUB-ASSEMBLY


    1. Install a new differential side gear shaft snap ring to the differential side gear shaft sub-assembly.

    2. Using SST, install the differential side gear shaft sub-assembly to the rear traction motor with transaxle assembly.

      SST
      09520-24010   ( 09520-04010, 09520-32040 )

      Note


      • Position the differential side gear shaft snap ring with the opening facing downward.

      • Do not tap the differential side gear shaft sub-assembly at an angle. If the differential side gear shaft sub-assembly is tapped at an angle, replace the differential side gear shaft snap ring with a new one.

      • Do not damage the rear transaxle side gear oil seal.

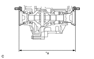
    3. A01COZ8C01
      *a 272.9 mm (10.744 in.) or Less

      Using a vernier caliper, measure the distance between the right and left differential side gear shaft sub-assemblies as shown in the illustration.

      Standard Distance
      272.9 mm (10.744 in.) or Less
  3. INSTALL REAR DRIVE SHAFT ASSEMBLY

    Click here

  4. ADD HYBRID TRANSAXLE FLUID

    Click here

  5. INSPECT HYBRID TRANSAXLE FLUID

    Click here