WATER PUMP ON-VEHICLE INSPECTION

PROCEDURE


  1. INSPECT FOR COOLANT LEAK

    Tech Tips


    • The sliding surface inside the engine water pump assembly is lubricated by engine coolant. As some engine coolant is discharged during normal operation, coolant residue (solids) may be found on the drain plug or the bottom of the engine water pump assembly. Also, engine coolant may leak if foreign matter enters the engine water pump assembly, however the sealing performance will recover when the foreign matter is pushed out or breaks into fine pieces. In this case, check the area around the engine water pump assembly.

    • Before performing this inspection, check that there is no coolant leaking from any parts other than the engine water pump assembly. If there are leaks, inspect those areas.

    • Perform this inspection when the engine is cold.


    1. Visually check the engine water pump assembly.


      1. Check that engine coolant is not dripping from the engine water pump assembly.

        Tech Tips


        • If engine coolant is dripping, replace the engine water pump assembly.

        • If engine coolant is not dripping, perform the following check.

    2. Inspect the area around the engine water pump assembly.

      Tech Tips

      Check for deposits around the drain plug of the engine water pump assembly.


      1. Remove the fan and generator V belt.

        Click here

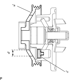
      2. A0001CNC01
        *a Water Pump Pulley
        *b Water Pump Pulley Hole
        *c Drain Plug

        Rotate the crankshaft pulley and align the water pump pulley hole with the drain plug.

        Tech Tips


        • The drain plug is at the bottom of the engine water pump assembly.

        • Use a mirror to check that the pulley hole and drain plug are aligned.

      3. A0001ATC01
        *a Thin Paper Towel

        Wrap a paper towel around an L-shaped tool such as a hexagon wrench, and insert it into the water pump pulley hole.

        Tech Tips


        • Use a 3 mm (0.118 in.) hexagon wrench.

        • The diameter of the water pump pulley hole is 6 mm (0.236 in.).

        • The distance from the water pump pulley hole to the drain plug is 18 mm (0.709 in.).

    3. A0001DUC02
      *a Hexagon Wrench

      Move the hexagon wrench as shown in the illustration, and press the thin paper towel against the coolant (solid matter) adhering to the drain plug or the edge of the drain plug, and check the condition of the thin paper towel.

      Tech Tips


      • If the thin paper towel is wet, replace the engine water pump assembly.

      • If the thin paper towel is dry, clean the area around the engine water pump assembly.

  2. INSPECT ENGINE WATER PUMP ASSEMBLY


    1. A0000Y9

      Turn the pulley and check that the engine water pump assembly bearing moves smoothly without making a clicking noise.

    2. Install the fan and generator V belt.

      Click here