СИСТЕМА ИЗМЕРИТЕЛЬНЫХ ПРИБОРОВ И ИНДИКАТОРОВ, Diagnostic DTC:B150A

Код DTC Наименование DTC
B150A Нарушение связи с HMI-LAN

ОПИСАНИЕ

Щиток приборов в сборе получает сигнал текстовых данных от приемника системы навигации в сборе*1 или радиоприемника с дисплеем в сборе*2 по локальной шине.

На основании этого сигнала на мультиинформационном дисплее отображаются данные системы навигации.

Данный DTC сохраняется, когда щиток приборов не получает сигнал.


№ DTC Неисправность Условие обнаружения DTC Неисправный участок Память Примечание
B150A Нарушение связи с HMI-LAN После того как щиток приборов в сборе не менее 1 раза получает сигнал данных регистрации, который передается приемником системы навигации в сборе*1 или радиоприемником с дисплеем в сборе*2 при нахождении замка зажигания в положении ACC, щиток приборов в сборе не может получить сигнал в течение 30 с или более.
  • Жгут или разъем

  • Приемник системы навигации в сборе*1

  • Радиоприемник с дисплеем в сборе*2

  • Щиток приборов в сборе

Код DTC сохраняется -

СХЕМА ЭЛЕКТРИЧЕСКИХ СОЕДИНЕНИЙ


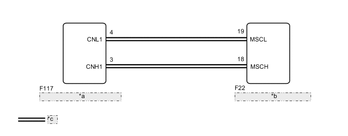
  1. для моделей с приемником системы навигации

    A01QW30E13
    *a Приемник системы навигации в сборе
    *b Щиток приборов в сборе
    *c Линия передачи данных локальной шины
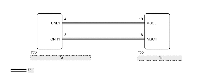
  2. Для моделей с радиоприемником с дисплеем

    A01QW30E14
    *a Радиоприемник с дисплеем
    *b Щиток приборов в сборе
    *c Линия передачи данных локальной шины

ПОРЯДОК ВЫПОЛНЕНИЯ


  1. ПРОВЕРЬТЕ DTC


    1. Проверьте, выводятся ли коды DTC системы навигации.

      для моделей с приемником системы навигации: Нажмите здесь Click here

      для моделей с радиоприемником с дисплеем: Нажмите здесь Click here


      Body Electrical > Navigation System > Trouble Codes
      OK
      Коды DTC системы навигации не выводятся.
      Результат
      Результат Перейти к
      Коды DTC системы навигации не выводятся. А
      Выводятся коды DTC системы навигации. B

    B
    А
  2. ПРОВЕРЬТЕ ЖГУТ ПРОВОДОВ И РАЗЪЕМ (ЩИТОК ПРИБОРОВ В СБОРЕ - ПРИЕМНИК СИСТЕМЫ НАВИГАЦИИ В СБОРЕ ИЛИ РАДИОПРИЕМНИК С ДИСПЛЕЕМ В СБОРЕ)


    1. Отсоедините разъем F22 щитка приборов.

    2. Отсоедините разъем F117 приемника системы навигации в сборе*1 или разъем F72 радиоприемника с дисплеем в сборе*2.

    3. Измерьте сопротивление в соответствии со значениями, приведенными в таблице ниже.

      Номинальное сопротивление
      Подключение диагностического прибора Условие Заданные условия
      F117-3 (CNH1) - F22-18 (MSCH)*1 Всегда Менее 1 Ом
      F117-4 (CNL1) - F22-19 (MSCL)*1 Всегда Менее 1 Ом
      F72-3 (CNH1) - F22-18 (MSCH)*2 Всегда Менее 1 Ом
      F72-4 (CNL1) - F22-19 (MSCL)*2 Всегда Менее 1 Ом
      F22-18 (MSCH) - масса Всегда 10 кОм или более
      F22-19 (MSCL) - масса Всегда 10 кОм или более

      • *1: для моделей с приемником системы навигации

        *2: для моделей с радиоприемником с дисплеем

      Результат
      Перейти к
      OK
      NG

    NG
    OK
  3. ЗАМЕНИТЕ ЩИТОК ПРИБОРОВ В СБОРЕ


    1. Замените щиток приборов в сборе новым или заведомо исправным.

      Нажмите здесь Click here

    2. Включите зажигание и подождите 30 с.

      Note

      На передачу/прием данных регистрации между щитком приборов в сборе и радиоприемником с дисплеем в сборе*1 или приемником системы навигации*2 требуется не более 30 с.


      • *1: для моделей с приемником системы навигации

        *2: для моделей с радиоприемником с дисплеем

    3. Приведите в действие переключатель на рулевом колесе и убедитесь, что светится закладка аудиосистемы.

    4. Проверьте наличие кодов DTC.

      Нажмите здесь Click here


      Body Electrical > Combination Meter > Trouble Codes
      Результат
      Результат Следующий шаг
      Светится вкладка аудиосистемы, и не выводится DTC B150A. А
      Вкладка аудиосистемы не светится, и выводится DTC B150A. (для моделей с приемником системы навигации) B
      Вкладка аудиосистемы не светится, и выводится DTC B150A. (для моделей с радиоприемником с дисплеем) C

    А
    B
    C