СИСТЕМА ПОМОЩИ ПРИ ПАРКОВКЕ, Diagnostic DTC:C1621

Код DTC Наименование DTC
C1621 Неисправность источника питания камеры заднего вида

ОПИСАНИЕ

Этот DTC регистрируется, если телекамера в результате самодиагностики определяет, что сигналы или сигнальные линии между телекамерой и радиоприемником с дисплеем не в норме.

№ DTC Неисправность Условие обнаружения DTC Неисправный участок
C1621 Неисправность источника питания камеры заднего вида Неисправность источника питания телекамеры в сборе
  • Жгут или разъем

  • Телекамера в сборе

  • Радиоприемник с дисплеем в сборе

СХЕМА ЭЛЕКТРИЧЕСКИХ СОЕДИНЕНИЙ

A0029GVE55

ПРЕДОСТЕРЕЖЕНИЕ / ПРИМЕЧАНИЕ / УКАЗАНИЕ

Note


  • Если отсоединялся провод от отрицательного (-) вывода аккумуляторной батареи, расчетные направляющие линии могут не отображаться на изображении зоны позади автомобиля. В этом случае скорректируйте нейтральное положение рулевого колеса.

    Нажмите здесь Click here

  • В зависимости от замененных деталей или операций, которые были выполнены при проверке или обслуживании автомобиля, может потребоваться калибровка других систем, а также системы помощи при парковке.

    Нажмите здесь Click here

ПОРЯДОК ВЫПОЛНЕНИЯ


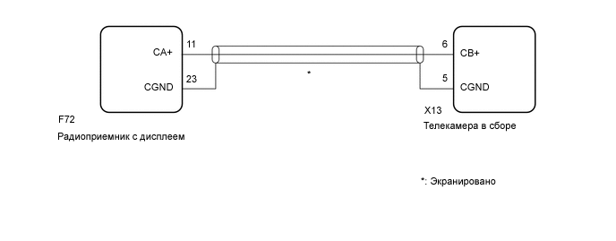
  1. ПРОВЕРЬТЕ ЖГУТ ПРОВОДОВ И РАЗЪЕМ (РАДИОПРИЕМНИК С ДИСПЛЕЕМ В СБОРЕ - ТЕЛЕКАМЕРА В СБОРЕ)


    1. Отсоедините разъем F72 радиоприемника с дисплеем в сборе.

    2. Отсоедините разъем X13 телекамеры в сборе.

    3. Измерьте сопротивление в соответствии со значениями, приведенными в таблице ниже.

      Номинальное сопротивление
      Подключение диагностического прибора Условие Заданные условия
      F72-11 (CA+) - X13-6 (CB+) Всегда Менее 1 Ом
      F72-23 (CGND) - X13-5 (CGND) Всегда Менее 1 Ом
      F72-11 (CA+) - F72-23 (CGND) Всегда 10 кОм или более
      F72-11 (CA+) - масса Всегда 10 кОм или более
      F72-23 (CGND) - масса Всегда 10 кОм или более
      Результат
      Следующий шаг
      OK
      NG

    NG
    OK
  2. ПРОВЕРЬТЕ РАДИОПРИЕМНИК С ДИСПЛЕЕМ В СБОРЕ (CGND, CA+)


    1. Подсоедините разъем F72 радиоприемника с дисплеем в сборе.

    2. A00283KC18
      *a

      Устройство с подсоединенным жгутом проводов

      (Радиоприемник с дисплеем в сборе)

      Измерьте напряжение в соответствии со значениями, приведенными в таблице.

      Номинальное напряжение
      Подключение диагностического прибора Условие Заданные условия
      F72-11 (CA+) - F72-23 (CGND) Выключатель зажигания в положении ACC 5,5 - 7,05 В
      Результат
      Перейти к
      OK
      NG

    OK
    NG