РЕГУЛИРОВКА УГЛОВ УСТАНОВКИ ПЕРЕДНИХ КОЛЕС РЕГУЛИРОВКА

ПРЕДОСТЕРЕЖЕНИЕ / ПРИМЕЧАНИЕ / УКАЗАНИЕ

Note

После регулировки углов установки колес, а также после снятия/установки или замены деталей подвески или нижней части кузова обязательно выполните описанную ниже процедуру инициализации, чтобы система могла функционировать нормально:


  • Выполните калибровку "нуля" датчика замедления и рысканья.

ПОРЯДОК ВЫПОЛНЕНИЯ


  1. ПРОВЕРЬТЕ ШИНЫ

    Нажмите здесь Click here

  2. ИЗМЕРЬТЕ ВЫСОТУ АВТОМОБИЛЯ

    Note


    • Перед проверкой углов установки колес отрегулируйте высоту автомобиля в соответствии с требованиями.

    • Измерения следует выполнять на горизонтальной поверхности.

    • Если при измерениях требуется выполнять работы под автомобилем, удостоверьтесь, что включен стояночный тормоз, а под колеса установлены колодки.

    • Проверку следует выполнять на автомобиле в ненагруженном состоянии.

    • Указанная здесь номинальная величина используется для регулировки углов установки колес и не отражает высоту для конкретного автомобиля.


    1. Стабилизируйте подвеску, покачав автомобиль за углы.

    2. A002B7HN01

      Измерьте высоту автомобиля.


        Точки измерения:

      • A: Дорожный просвет по центру передних колес


      • B: дорожный просвет по центру установочного болта втулки нижнего рычага передней подвески


      • C: Дорожный просвет по центру задних колес


      • D: Дорожный просвет по центру установочного болта рычага задней подвески № 2

      Высота автомобиля (в ненагруженном состоянии)
      Спереди, A - B Сзади, C - D
      110,8 мм (4,36 дюйма) 44,0 мм (1,73 дюйма)
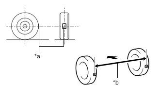
  3. ПРОВЕРЬТЕ РАЗВАЛ, УГОЛ ПРОДОЛЬНОГО НАКЛОНА ШКВОРНЯ И УГОЛ ПОПЕРЕЧНОГО НАКЛОНА ОСИ ПОВОРОТА

    Note

    Проверку следует выполнять на автомобиле в ненагруженном состоянии.


    1. A0029FMC16
      *a Датчик радиуса поворота
      *b Датчик развала – угла продольного наклона оси поворота – угла поперечного наклона оси поворота

      Установите датчик развала – угла продольного наклона оси поворота – угла поперечного наклона оси поворота и поместите передние колеса в центр шаблона радиуса разворота.

    2. Проверьте развал, угол продольного наклона оси поворота и угол поперечного наклона оси поворота.

      Развал колес (в ненагруженном состоянии)
      Развал колес Разница между правой и левой сторонами
      -0,55° +/- 0,75° (-0°33' +/- 0°45') 0,75° (0°45') или менее
      Продольный наклон шкворня (в ненагруженном состоянии)
      Угол продольного наклона оси поворота Разница между правой и левой сторонами
      2,66° +/- 0,75° (2°40' +/- 0°45') 0,75° (0°45') или менее
      Поперечный угол наклона оси поворота (в ненагруженном состоянии автомобиля)
      Поперечный угол наклона оси поворота: Для справки
      10,83° (10°50')
  4. РЕГУЛИРОВКА РАЗВАЛА

    Note

    После регулировки развала колес проверьте схождение колес.


    1. Снимите переднее колесо.

    2. A0028FX

      Отверните 2 гайки с нижней стороны переднего амортизатора в сборе.

      Note

      Болты должны оставаться вставленными.

    3. Поочередно выверните верхний и нижний болты, и убедитесь в том, что поворотный кулак свободно движется в переднем амортизаторе.

      Tech Tips


      • После выворачивания каждого болта и подтверждения подвижности поворотного кулака устанавливайте болт на место.

      • Если поворотный кулак не может свободно двигаться в переднем амортизаторе, очистите установочные поверхности переднего амортизатора и поворотного кулака.

    4. Временно заверните 2 гайки. (Шаг A)

    5. A00270EN01

      Полностью вставьте или вытяните ступицу переднего колеса (в зависимости от того, что требуется для выполнения регулировки). (Шаг B)

    6. A0028FX

      Затяните 2 гайки.

      Torque:
      290 Н*м  { 2957 кгс*см, 214 фунт-сила-футов }

      Note

      Затягивая гайки, фиксируйте болты.

    7. Установите переднее колесо.

      Torque:
      103 Н*м  { 1050 кгс*см, 76 фунт-сила-футов }
    8. A0028YYN01

      Проверьте развал колес.

      Если измеренное значение не соответствует требованиям, рассчитайте требуемую величину регулировки с помощью следующей формулы.

      Величина регулировки развала колес = среднее значение заданного диапазона – измеренное значение.

      Проверьте комбинацию установленных болтов. Выберите подходящие болты из приведенных ниже таблиц и отрегулируйте развал колес в соответствии с требованиями.

      Tech Tips

      Постарайтесь установить развал равным центральному значению допустимого диапазона.

      Чтобы сместить ступицу колеса в направлении (+) на шаге B Чтобы сместить ступицу колеса в направлении (-) на шаге B
      Обратитесь к таблице (1) (чтобы сместить ступицу колеса в положительном направлении) Обратитесь к таблице (2) (чтобы сместить ступицу колеса в отрицательном направлении)

      Если развал колес не будет должным образом отрегулирован в соответствии с приведенной выше таблицей, кузов и подвеска могут быть повреждены.

      Note

      При замене болта замените гайку новой.


      1. Таблица (1) (ступицу моста следует смещать в прямом направлении)

        A0029T0C01
        *A Таблица (1) (ступицу моста следует смещать в прямом направлении) *B Выбранный набор болтов
        *a Установленный болт *b Регулировочные данные
        *c 90105-A0052 *d 90105-17013
        *e 90105-17014 *f 90105-17015
      2. Таблица (2) (ступицу моста следует смещать в обратном направлении)

        A0028VSC01
        *A Таблица (2) (ступицу моста следует смещать в обратном направлении) *B Выбранный набор болтов
        *a Установленный болт *b Регулировочные данные
        *c 90105-A0052 *d 90105-17013
        *e 90105-17014 *f 90105-17015
    9. Если развал колес на предыдущем шаге оказался разрегулированным, выполните описанные выше шаги последовательности регулировки развала. На шаге A замените имеющиеся болты выбранными болтами.

      Tech Tips

      В случае замены обоих болтов за один раз следует заменять один болт.

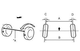
  5. ПРОВЕРЬТЕ СХОЖДЕНИЕ КОЛЕС

    Note

    Проверку следует выполнять на автомобиле в ненагруженном состоянии.


    1. Стабилизируйте подвеску, покачав автомобиль за углы.

    2. Отпустите стояночный тормоз и переведите рычаг переключения передач в нейтральное положение.

    3. Толкайте автомобиль в прямом направлении, чтобы он проехал расстояние приблизительно 5 м (16,4 фута). (Шаг C)

    4. A002BIMC01
      *a Метка центральной линии
      *b Размер B
      B003ZIE Передняя сторона автомобиля

      Нанесите метки центральной линии на крайние задние точки передних колес и измерьте расстояние между метками (размер B).

    5. Медленно продвиньте автомобиль прямо вперед, чтобы повернуть передние колеса на 180°. В качестве базовой точки используйте вентиль шины переднего колеса.

      Tech Tips

      Не допускайте, чтобы колеса поворачивались более чем на 180°. В случае поворота колес на угол, превышающий 180°, повторите процедуру, начиная с шага C.

    6. A00289DC01
      *a Размер A
      B003ZIE Передняя сторона автомобиля

      Измерьте расстояние между метками центральной линии спереди колес (размер A).

      Схождение колес (в ненагруженном состоянии)
      Заданные условия
      C + D: 0,08° +/- 0,17° (0°05' +/- 0°10')
      B - A: 1,0 +/- 2,0 мм (0,0394 +/- 0,0787 дюйма)

      Tech Tips

      Измеряйте "B - A" только в том случае, если невозможно измерить "C + D".

      Если схождение не соответствует техническим требованиям, отрегулируйте его на наконечниках реек рулевого механизма.

  6. ОТРЕГУЛИРУЙТЕ СХОЖДЕНИЕ КОЛЕС


    1. A002A9IC02
      *a Длина резьбовой части

      Убедитесь, что длины резьбовой части левой и правой рулевых тяг примерно одинаковы.

      Номинальное различие
      не более 1,5 мм (0,0591 дюйма)
    2. Снимите фиксаторы защитного чехла рулевого механизма.

    3. A00275Y

      Ослабьте контргайки наконечников рулевых тяг в сборе.

    4. Отрегулируйте рулевые тяги, если расхождение длины резьбы правого и левого наконечников не соответствует заданному диапазону.


      1. Если измеренное схождение превышает верхний предел указанного диапазона, выдвиньте более короткий наконечник рейки, так, чтобы расхождение длины находилось в заданном диапазоне.

      2. Если измеренное схождение меньше нижнего предела указанного диапазона, уменьшите длину более длинного наконечника рейки, так, чтобы длина находилась в заданном диапазоне.

      3. Измерьте схождение колес.

    5. Для регулировки схождения поверните левый и правый наконечники на одинаковое расстояние.

    6. Убедитесь, что длины резьбовой части левой и правой рулевых тяг одинаковы.

    7. Затяните контргайки наконечников рулевых тяг в сборе.

      Torque:
      88 Н*м  { 897 кгс*см, 65 фунт-сила-футов }
    8. Установите защитные чехлы рулевого механизма и закрепите их фиксаторами.

      Tech Tips

      Проследите, чтобы фиксаторы защитного чехла рулевого механизма не были перекручены.

  7. ПРОВЕРЬТЕ УГЛЫ ПОВОРОТА КОЛЕС


    1. A0028KHC03
      *a Внутрь
      *b Наружу
      B003ZIE Передняя сторона автомобиля

      Нанесите метки центральной линии колеи в крайних задних точках шаблона радиуса разворота.

    2. Поверните рулевое колесо влево и вправо до упора и измерьте угол поворота.

      Note

      Проверку следует выполнять на автомобиле в ненагруженном состоянии.

      Углы поворота колес (в ненагруженном состоянии)
      Внутреннее колесо Наружное колесо
      35,76° +/- 1,50° (35°46' +/- 1°30' ) 31,24° (31°14')

      • Если углы поворота левого и правого внутренних колес отличаются от указанного значения, проверьте и отрегулируйте длины реек рулевого механизма справа и слева.

  8. РАСПОЛОЖИТЕ ПЕРЕДНИЕ КОЛЕСА СТРОГО ПРЯМО

  9. ВЫПОЛНИТЕ КАЛИБРОВКУ ДАТЧИКА ЗАМЕДЛЕНИЯ И РЫСКАНЬЯ

    Нажмите здесь Click here