СИСТЕМА КУРСОВОЙ УСТОЙЧИВОСТИ, Diagnostic DTC:C1337

Код DTC Наименование DTC
C1337 Диаметр шин не является одинаковым

ОПИСАНИЕ

ЭБУ системы противоскольжения (блок управления рабочими цилиндрами тормозов в сборе) определяет частоту вращения всех колес по сигналам датчика частоты вращения. Эти сигналы позволяют установить, что все 4 колеса работают должным образом.

Поэтому сигналы для всех колес должны быть аналогичны.

№ DTC Неисправность Условие обнаружения DTC Неисправный участок
C1337 Диаметр шин не является одинаковым

3 раза подряд происходит следующее:

На скорости автомобиля 20 км/час (12 миль в час) или выше в течение не менее 20 с средние частоты вращения передних и задних колес различаются, по крайней мере, на 20%.


  • Размер шин и колес

  • Деформация шин

  • Ротор датчика частоты вращения

  • Датчик частоты вращения

  • Цепь датчика частоты вращения

  • ЭБУ системы противоскольжения (блок управления рабочими цилиндрами тормозов в сборе)

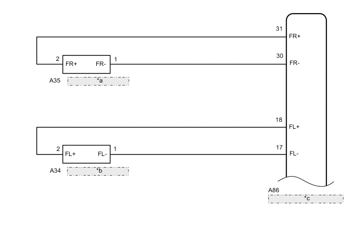
СХЕМА ЭЛЕКТРИЧЕСКИХ СОЕДИНЕНИЙ

A0027RTE05
*a Правый передний датчик частоты вращения
*b Левый передний датчик частоты вращения
*c ЭБУ системы противоскольжения (блок управления рабочими цилиндрами тормозов в сборе)
A002C95E07

ПРЕДОСТЕРЕЖЕНИЕ / ПРИМЕЧАНИЕ / УКАЗАНИЕ

Note

В случае замены ЭБУ системы противоскольжения (блока управления рабочими цилиндрами тормозов в сборе) выполните калибровку "нуля" датчика и сохраните системную информацию.

Нажмите здесь Click here

ПОРЯДОК ВЫПОЛНЕНИЯ


  1. ПРОВЕРЬТЕ ШИНЫ


    1. Проверьте размер и состояние всех 4 колес.

      Нажмите здесь Click here

      Tech Tips

      Данный код DTC выводится при обнаружении деформации или различия размеров шин.

      OK
      Диаметр и давление воздуха во всех четырех шинах должны быть одинаковы.
      Результат
      Перейти к
      OK
      NG

    NG
    OK
  2. СНИМИТЕ ПОКАЗАНИЯ GTS (SPEED SENSOR)


    1. Подключите GTS к DLC3.

    2. Запустите двигатель.

    3. Выберите Data List на дисплее GTS.

      Нажмите здесь Click here


      Chassis > ABS/VSC/TRC > Data List
      Информация на дисплее прибора Измеряемая величина Диапазон Нормальное состояние Замечание по диагностике
      FR Wheel Speed Показания датчика частоты вращения правого переднего колеса Мин.: 0 км/час (0 миль в час), макс.: 326 км/час (202 мили в час) Автомобиль неподвижен: 0 км/час (0 миль в час) При движении с постоянной скоростью: нет больших колебаний
      FL Wheel Speed Показания датчика частоты вращения левого переднего колеса Мин.: 0 км/час (0 миль в час), макс.: 326 км/час (202 мили в час) Автомобиль неподвижен: 0 км/час (0 миль в час) При движении с постоянной скоростью: нет больших колебаний
      RR Wheel Speed Показания датчика частоты вращения правого заднего колеса Мин.: 0 км/час (0 миль в час), макс.: 326 км/час (202 мили в час) Автомобиль неподвижен: 0 км/час (0 миль в час) При движении с постоянной скоростью: нет больших колебаний
      RL Wheel Speed Показания датчика частоты вращения левого заднего колеса Мин.: 0 км/час (0 миль в час), макс.: 326 км/час (202 мили в час) Автомобиль неподвижен: 0 км/час (0 миль в час) При движении с постоянной скоростью: нет больших колебаний

      Chassis > ABS/VSC/TRC > Data List
      Информация на дисплее прибора
      FR Wheel Speed
      FL Wheel Speed
      RR Wheel Speed
      RL Wheel Speed
    4. Проверьте показание датчика частоты вращения на экране GTS.

      Tech Tips

      На отображаемую скорсть автомобиля влияют такие факторы, как размер, давление в шинах и износ шин. Скорость, отображаемая на спидометре, имеет допустимую погрешность. Ее можно определить с помощью стенда проверки спидометра (откалиброванного динамометрического стенда). Подробная информация о проверке и допустимой погрешности приведена в справочной таблице.

      Нажмите здесь Click here

      OK
      Значение скорости, передаваемое датчиком частоты вращения и отображаемое на GTS, совпадает с показаниями спидометра.
      Результат
      Результат Перейти к
      OK А
      NG (для переднего) B
      NG (для моделей с задним приводом) C
      NG (для моделей с постоянным полным приводом сзади) D

    B
    C
    D
    А
  3. ВЫПОЛНИТЕ ПРОВЕРКУ В РЕЖИМЕ АКТИВНОЙ ДИАГНОСТИКИ (ПРОВЕРКА СИГНАЛОВ)


    1. Выключите зажигание.

    2. Выполните проверку датчика, используя режим активной диагностики.

      Нажмите здесь Click here

      OK
      Коды DTC режима активной диагностики не выводятся.

      Chassis > ABS/VSC/TRC > Utility
      Информация на дисплее прибора
      Signal Check
      Результат
      Результат Перейти к
      OK А
      NG (для переднего) B
      NG (для моделей с задним приводом) C
      NG (для моделей с постоянным полным приводом сзади) D

    А
    C
    D
    B
  4. ПРОВЕРЬТЕ ПЕРЕДНИЙ ДАТЧИК ЧАСТОТЫ ВРАЩЕНИЯ И РОТОР ДАТЧИКА


    1. Выключите зажигание.

    2. Снимите передний датчик частоты вращения и узел с ротором датчика.

      для датчика частоты вращения: Нажмите здесь Click here

      Для ротора датчика (для моделей с 1AR-FE): Нажмите здесь Click here

      для ротора датчика (для моделей с двигателем 2GR-FKS): Нажмите здесь Click here

    3. Проверьте наконечник и ротор датчика частоты вращения.

      OK
      Отсутствие царапин, масла и посторонних частиц на наконечнике датчика и роторе.

      Note


      • Если в ходе данной проверки повреждения наконечника датчика частоты вращения не обнаружены, не заменяйте датчик частоты вращения.

        Если к ротору пристала железная стружка, это приведет к неправильной работе датчика, поэтому перед заменой датчика убедитесь, что ротор не загрязнен посторонними частицами.

      • Проверьте сигнал датчика частоты вращения после очистки или замены.

        Нажмите здесь Click here

      Результат
      Перейти к
      OK
      NG

    NG
    OK
  5. ПРОВЕРЬТЕ ЖГУТ ПРОВОДОВ И РАЗЪЕМ (БЛОК УПРАВЛЕНИЯ РАБОЧИМИ ЦИЛИНДРАМИ ТОРМОЗОВ В СБОРЕ – ПЕРЕДНИЙ ДАТЧИК ЧАСТОТЫ ВРАЩЕНИЯ)


    1. Проверьте, не ослаблены ли фиксирующая и соединительная части разъема.

    2. Отсоедините разъем A86 ЭБУ системы противоскольжения (блока управления рабочими цилиндрами тормозов в сборе).

    3. Отсоедините разъем A35 или A34 переднего датчика частоты вращения.

    4. Измерьте сопротивление в соответствии со значениями, приведенными в таблице ниже.

      Номинальное сопротивление
      Для правой стороны
      Подключение диагностического прибора Условие Заданные условия
      A86-31 (FR+) - A35-2 (FR+) Всегда Менее 1 Ом
      A86-31 (FR+) или A35-2 (FR+) - масса Всегда 10 кОм или более
      A86-30 (FR-) - A35-1 (FR-) Всегда Менее 1 Ом
      A86-30 (FR-) или A35-1 (FR-) - масса Всегда 10 кОм или более
      Для левой стороны
      Подключение диагностического прибора Условие Заданные условия
      A86-18 (FL+) - A34-2 (FL+) Всегда Менее 1 Ом
      A86-18 (FL+) или A34-2 (FL+) - масса Всегда 10 кОм или более
      A86-17 (FL-) - A34-1 (FL-) Всегда Менее 1 Ом
      A86-17 (FL-) или A34-1 (FL-) - масса Всегда 10 кОм или более
      Результат
      Перейти к
      OK
      NG

    NG
    OK
  6. ПРОВЕРЬТЕ БЛОК УПРАВЛЕНИЯ РАБОЧИМИ ЦИЛИНДРАМИ ТОРМОЗОВ В СБОРЕ (ВХОДНОЙ СИГНАЛ ДАТЧИКА)


    1. A0027ZXC36
      *A Правая сторона
      *B Левая сторона
      *a

      Вид спереди разъема со стороны жгута проводов:

      (к переднему датчику частоты вращения)

      Подсоедините разъем A86 ЭБУ системы противоскольжения (блока управления рабочими цилиндрами тормозов в сборе).

    2. Установите замок зажигания в положение ON (ВКЛ).

    3. Измерьте напряжение в соответствии со значениями, приведенными в таблице.

      Номинальное напряжение
      Для правой стороны
      Подключение диагностического прибора Условие Заданные условия
      A35-2 (FR+) - масса Зажигание включено 5,7 - 14 В
      Для левой стороны
      Подключение диагностического прибора Условие Заданные условия
      A34-2 (FL+) - масса Зажигание включено 5,7 - 14 В

      Note

      Проверьте сигнал датчика частоты вращения после замены.

      Нажмите здесь Click here

      Результат
      Перейти к
      OK
      NG

    NG
    OK
  7. СНОВА ПРОВЕРЬТЕ DTC


    1. Выключите зажигание.

    2. Подсоедините разъем A35 или A34 переднего датчика частоты вращения.

    3. Удалите коды DTC.

      Нажмите здесь Click here


      Chassis > ABS/VSC/TRC > Clear DTCs
    4. Выключите зажигание.

    5. Запустите двигатель.

    6. Проведите дорожные испытания.

    7. Проверьте, выводится ли такой же DTC.

      Нажмите здесь Click here


      Chassis > ABS/VSC/TRC > Trouble Codes
      Результат
      Результат Перейти к
      Выводится DTC C1337. A
      DTC C1337 не выводится. B

    B
    A
  8. ЗАМЕНИТЕ ПРАВЫЙ ПЕРЕДНИЙ ДАТЧИК ЧАСТОТЫ ВРАЩЕНИЯ


    1. Выключите зажигание.

    2. Замените передний датчик частоты вращения.

      Нажмите здесь Click here

      Note

      Проверьте сигнал датчика частоты вращения после замены.

      Нажмите здесь Click here

      Результат
      Перейти к
      ДАЛЕЕ

    ДАЛЕЕ
  9. СНОВА ПРОВЕРЬТЕ DTC


    1. Выключите зажигание.

    2. Удалите коды DTC.

      Нажмите здесь Click here


      Chassis > ABS/VSC/TRC > Clear DTCs
    3. Выключите зажигание.

    4. Запустите двигатель.

    5. Проведите дорожные испытания.

    6. Проверьте, выводится ли такой же DTC.

      Нажмите здесь Click here


      Chassis > ABS/VSC/TRC > Trouble Codes
      Результат
      Результат Перейти к
      Выводится DTC C1337. А
      DTC C1337 не выводится. B

    B
    А
  10. ЗАМЕНИТЕ ПЕРЕДНИЙ ПРИВОДНОЙ ВАЛ В СБОРЕ


    1. Выключите зажигание.

    2. Замените ротор переднего датчика частоты вращения (передний приводной вал в сборе).

      Для моделей с 1AR-FE: Нажмите здесь Click here

      для моделей с 2GR-FKS: Нажмите здесь Click here

      Note

      Проверьте сигнал датчика частоты вращения после замены.

      Нажмите здесь Click here

      Tech Tips

      Если требуется заменить ротор переднего датчика частоты вращения, заменяйте его вместе с передним приводным валом в сборе.

      Результат
      Перейти к
      ДАЛЕЕ

    ДАЛЕЕ
  11. СНОВА ПРОВЕРЬТЕ DTC


    1. Выключите зажигание.

    2. Удалите коды DTC.

      Нажмите здесь Click here


      Chassis > ABS/VSC/TRC > Clear DTCs
    3. Выключите зажигание.

    4. Запустите двигатель.

    5. Проведите дорожные испытания.

    6. Проверьте, выводится ли такой же DTC.

      Нажмите здесь Click here


      Chassis > ABS/VSC/TRC > Trouble Codes
      Результат
      Результат Перейти к
      Выводится DTC C1337. А
      DTC C1337 не выводится. B

    А
    B
  12. ПРОВЕРЬТЕ ПРОВОД ДАТЧИКА СИСТЕМЫ ПРОТИВОСКОЛЬЖЕНИЯ


    1. A002970C01
      *A Правая сторона
      *B Левая сторона
      *a Вид спереди провода датчика системы противоскольжения
      *b

      Вид спереди разъема со стороны жгута проводов:

      (к разъему со стороны датчика)

      *c

      Вид спереди разъема со стороны жгута проводов:

      (к разъему со стороны автомобиля)

      Выключите зажигание.

    2. Проверьте, не ослаблены ли фиксирующая и соединительная части разъема.

    3. Снимите провод датчика системы противоскольжения.

    4. Измерьте сопротивление в соответствии со значениями, приведенными в таблице ниже.

      Номинальное сопротивление
      Для правой стороны
      Подключение диагностического прибора Условие Заданные условия
      o1-2 (RR+) - Oo1-2 (RR+) Всегда Менее 1 Ом
      o1-2 (RR+) - Oo1-1 (RR-) Всегда 10 кОм или более
      o1-2 (RR+) или Oo1-2 (RR+) - масса Всегда 10 кОм или более
      o1-1 (RR-) - Oo1-1 (RR-) Всегда Менее 1 Ом
      o1-1 (RR-) - Oo1-2 (RR+) Всегда 10 кОм или более
      o1-1 (RR-) или Oo1-1 (RR-) - масса Всегда 10 кОм или более
      Для левой стороны
      Подключение диагностического прибора Условие Заданные условия
      r1-2 (RL+) - Or1-3 (RL+) Всегда Менее 1 Ом
      r1-2 (RL+) - Or1-1 (RL-) Всегда 10 кОм или более
      r1-2 (RL+) или Or1-3 (RL+) - масса Всегда 10 кОм или более
      r1-1 (RL-) - Or1-1 (RL-) Всегда Менее 1 Ом
      r1-1 (RL-) - Or1-3 (RL+) Всегда 10 кОм или более
      r1-1 (RL-) или Or1-1 (RL-) - масса Всегда 10 кОм или более

      Note

      Проверьте сигнал датчика частоты вращения после замены.

      Нажмите здесь Click here

      Результат
      Перейти к
      OK
      NG

    NG
    OK
  13. ПРОВЕРЬТЕ ЖГУТ ПРОВОДОВ И РАЗЪЕМ (БЛОК УПРАВЛЕНИЯ РАБОЧИМИ ЦИЛИНДРАМИ ТОРМОЗОВ - ПРОВОД ДАТЧИКА СИСТЕМЫ ПРОТИВОСКОЛЬЖЕНИЯ)


    1. Проверьте, не ослаблены ли фиксирующая и соединительная части разъема.

    2. Отсоедините разъем A86 ЭБУ системы противоскольжения (блока управления рабочими цилиндрами тормозов в сборе).

    3. Измерьте сопротивление в соответствии со значениями, приведенными в таблице ниже.

      Номинальное сопротивление
      Для правой стороны
      Подключение диагностического прибора Условие Заданные условия
      A86-16 (RR+) - Oo1-2 (RR+) Всегда Менее 1 Ом
      A86-16 (RR+) или Oo1-2 (RR+) - масса Всегда 10 кОм или более
      A86-15 (RR-) - Oo1-1 (RR-) Всегда Менее 1 Ом
      A86-15 (RR-) или Oo1-1 (RR-) - масса Всегда 10 кОм или более
      Для левой стороны
      Подключение диагностического прибора Условие Заданные условия
      A86-29 (RL+) - Or1-3 (RL+) Всегда Менее 1 Ом
      A86-29 (RL+) или Or1-3 (RL+) - масса Всегда 10 кОм или более
      A86-28 (RL-) - Or1-1 (RL-) Всегда Менее 1 Ом
      A86-28 (RL-) или Or1-1 (RL-) - масса Всегда 10 кОм или более
      Результат
      Перейти к
      OK
      NG

    NG
    OK
  14. ПРОВЕРЬТЕ БЛОК УПРАВЛЕНИЯ РАБОЧИМИ ЦИЛИНДРАМИ ТОРМОЗОВ В СБОРЕ (ВХОДНОЙ СИГНАЛ ДАТЧИКА)


    1. A002BQ6C05
      *A Правая сторона
      *B Левая сторона
      *a

      Вид спереди разъема со стороны жгута проводов:

      (к проводу датчика системы противоскольжения)

      Подсоедините разъем A86 ЭБУ системы противоскольжения (блока управления рабочими цилиндрами тормозов в сборе).

    2. Установите замок зажигания в положение ON (ВКЛ).

    3. Измерьте напряжение в соответствии со значениями, приведенными в таблице.

      Номинальное напряжение
      Для правой стороны
      Подключение диагностического прибора Условие Заданные условия
      Oo1-2 (RR+) - масса Зажигание включено 5,7 - 14 В
      Для левой стороны
      Подключение диагностического прибора Условие Заданные условия
      Or1-3 (RL+) - масса Зажигание включено 5,7 - 14 В

      Note

      Проверьте сигнал датчика частоты вращения после замены.

      Нажмите здесь Click here

      Результат
      Перейти к
      OK
      NG

    NG
    OK
  15. СНОВА ПРОВЕРЬТЕ DTC


    1. Выключите зажигание.

    2. Установите провод датчика системы противоскольжения.

    3. Удалите коды DTC.

      Нажмите здесь Click here


      Chassis > ABS/VSC/TRC > Clear DTCs
    4. Выключите зажигание.

    5. Запустите двигатель.

    6. Проведите дорожные испытания.

    7. Проверьте, выводится ли такой же DTC.

      Нажмите здесь Click here


      Chassis > ABS/VSC/TRC > Trouble Codes
      Результат
      Результат Перейти к
      Выводится DTC C1337. A
      DTC C1337 не выводится. B

    B
    A
  16. ЗАМЕНИТЕ СТУПИЦУ В СБОРЕ С ПОДШИПНИКОМ ЗАДНЕГО КОЛЕСА И ЗАДНИМ ДАТЧИКОМ ЧАСТОТЫ ВРАЩЕНИЯ


    1. Выключите зажигание.

    2. Замените ротор заднего датчика частоты вращения с задним датчиком частоты вращения (подшипник и ступицу заднего колеса в сборе).

      Нажмите здесь Click here

      Note

      Проверьте сигнал датчика частоты вращения после замены.

      Нажмите здесь Click here

      Tech Tips

      Задний датчик частоты вращения и ротор заднего датчика частоты вращения встроены в подшипник и ступицу заднего колеса в сборе.

      Если ротор заднего датчика частоты вращения нуждаются в замене, следует заменить ступицу заднего колеса с подшипником в сборе с задним датчиком скорости.

      Результат
      Перейти к
      ДАЛЕЕ

    ДАЛЕЕ
  17. СНОВА ПРОВЕРЬТЕ DTC


    1. Удалите коды DTC.

      Нажмите здесь Click here


      Chassis > ABS/VSC/TRC > Clear DTCs
    2. Выключите зажигание.

    3. Запустите двигатель.

    4. Проведите дорожные испытания.

    5. Проверьте, выводится ли такой же DTC.

      Нажмите здесь Click here


      Chassis > ABS/VSC/TRC > Trouble Codes
      Результат
      Результат Перейти к
      Выводится DTC C1337. А
      DTC C1337 не выводится. B

    А
    B
  18. ПРОВЕРЬТЕ ЗАДНИЙ ДАТЧИК ЧАСТОТЫ ВРАЩЕНИЯ И РОТОР ДАТЧИКА


    1. Выключите зажигание.

    2. Снимите задний датчик частоты вращения и узел с ротором датчика.

      для датчика частоты вращения: Нажмите здесь Click here

      для ротора датчика: Нажмите здесь Click here

    3. Проверьте наконечник и ротор датчика частоты вращения.

      OK
      Отсутствие царапин, масла и посторонних частиц на наконечнике датчика и роторе.

      Note


      • Если в ходе данной проверки повреждения наконечника датчика частоты вращения не обнаружены, не заменяйте датчик частоты вращения.

        Если к ротору пристала железная стружка, это приведет к неправильной работе датчика, поэтому перед заменой датчика убедитесь, что ротор не загрязнен посторонними частицами.

      • Проверьте сигнал датчика частоты вращения после очистки или замены.

        Нажмите здесь Click here

      Результат
      Перейти к
      OK
      NG

    NG
    OK
  19. ПРОВЕРЬТЕ ЖГУТ ПРОВОДОВ И РАЗЪЕМ (БЛОК УПРАВЛЕНИЯ РАБОЧИМИ ЦИЛИНДРАМИ ТОРМОЗОВ В СБОРЕ – ЗАДНИЙ ДАТЧИК ЧАСТОТЫ ВРАЩЕНИЯ)


    1. Установите задний датчик частоты вращения и узел с ротором датчика.

    2. Проверьте, не ослаблены ли фиксирующая и соединительная части разъема.

    3. Отсоедините разъем A86 ЭБУ системы противоскольжения (блока управления рабочими цилиндрами тормозов в сборе).

    4. Отсоедините разъем O3 или O2 заднего датчика частоты вращения.

    5. Измерьте сопротивление в соответствии со значениями, приведенными в таблице ниже.

      Номинальное сопротивление
      Для правой стороны
      Подключение диагностического прибора Условие Заданные условия
      A86-16 (RR+) - O3-2 (RR+) Всегда Менее 1 Ом
      A86-16 (RR+) или O3-2 (RR+) - масса Всегда 10 кОм или более
      A86-15 (RR-) - O3-1 (RR-) Всегда Менее 1 Ом
      A86-15 (RR-) или O3-1 (RR-) - масса Всегда 10 кОм или более
      Для левой стороны
      Подключение диагностического прибора Условие Заданные условия
      A86-29 (RL+) - O2-3 (RL+) Всегда Менее 1 Ом
      A86-29 (RL+) или O2-3 (RL+) - масса Всегда 10 кОм или более
      A86-28 (RL-) - O2-1 (RL-) Всегда Менее 1 Ом
      A86-28 (RL-) или O2-1 (RL-) - масса Всегда 10 кОм или более
      Результат
      Перейти к
      OK
      NG

    NG
    OK
  20. ПРОВЕРЬТЕ БЛОК УПРАВЛЕНИЯ РАБОЧИМИ ЦИЛИНДРАМИ ТОРМОЗОВ В СБОРЕ (ВХОДНОЙ СИГНАЛ ДАТЧИКА)


    1. A002BQ6C04
      *A Правая сторона
      *B Левая сторона
      *a

      Вид спереди разъема со стороны жгута проводов:

      (к заднему датчику частоты вращения)

      Подсоедините разъем A86 ЭБУ системы противоскольжения (блока управления рабочими цилиндрами тормозов в сборе).

    2. Установите замок зажигания в положение ON (ВКЛ).

    3. Измерьте напряжение в соответствии со значениями, приведенными в таблице.

      Номинальное напряжение
      Для правой стороны
      Подключение диагностического прибора Условие Заданные условия
      O3-2 (RR+) - масса Зажигание включено 5,7 - 14 В
      Для левой стороны
      Подключение диагностического прибора Условие Заданные условия
      O2-3 (RL+) - масса Зажигание включено 5,7 - 14 В

      Note

      Проверьте сигнал датчика частоты вращения после замены.

      Нажмите здесь Click here

      Результат
      Перейти к
      OK
      NG

    NG
    OK
  21. СНОВА ПРОВЕРЬТЕ DTC


    1. Выключите зажигание.

    2. Подсоедините разъем O3 или O2 заднего датчика частоты вращения.

    3. Удалите коды DTC.

      Нажмите здесь Click here


      Chassis > ABS/VSC/TRC > Clear DTCs
    4. Выключите зажигание.

    5. Запустите двигатель.

    6. Проведите дорожные испытания.

    7. Проверьте, выводится ли такой же DTC.

      Нажмите здесь Click here


      Chassis > ABS/VSC/TRC > Trouble Codes
      Результат
      Результат Перейти к
      Выводится DTC C1337. А
      DTC C1337 не выводится. B

    B
    А
  22. ЗАМЕНИТЕ ЗАДНИЙ ДАТЧИК ЧАСТОТЫ ВРАЩЕНИЯ


    1. Выключите зажигание.

    2. Замените задний датчик частоты вращения.

      Нажмите здесь Click here

      Note

      Проверьте сигнал датчика частоты вращения после замены.

      Нажмите здесь Click here

      Результат
      Перейти к
      ДАЛЕЕ

    ДАЛЕЕ
  23. СНОВА ПРОВЕРЬТЕ DTC


    1. Удалите коды DTC.

      Нажмите здесь Click here


      Chassis > ABS/VSC/TRC > Clear DTCs
    2. Выключите зажигание.

    3. Запустите двигатель.

    4. Проведите дорожные испытания.

    5. Проверьте, выводится ли такой же DTC.

      Нажмите здесь Click here


      Chassis > ABS/VSC/TRC > Trouble Codes
      Результат
      Результат Перейти к
      Выводится DTC C1337. A
      DTC C1337 не выводится. B

    B
    A
  24. ЗАМЕНИТЕ СТУПИЦУ И ПОДШИПНИК ЗАДНЕГО КОЛЕСА В СБОРЕ


    1. Выключите зажигание.

    2. Замените ротор заднего датчика частоты вращения (подшипник и ступицу заднего колеса в сборе).

      Нажмите здесь Click here

      Note

      Проверьте сигнал датчика частоты вращения после замены.

      Нажмите здесь Click here

      Tech Tips

      Ротор заднего датчика частоты вращения встроен в ступицу и подшипник заднего колеса в сборе.

      Если ротор заднего датчика частоты вращения нуждаются в замене, следует заменить ступицу заднего колеса с подшипником в сборе.

      Результат
      Перейти к
      ДАЛЕЕ

    ДАЛЕЕ
  25. СНОВА ПРОВЕРЬТЕ DTC


    1. Удалите коды DTC.

      Нажмите здесь Click here


      Chassis > ABS/VSC/TRC > Clear DTCs
    2. Выключите зажигание.

    3. Запустите двигатель.

    4. Проведите дорожные испытания.

    5. Проверьте, выводится ли такой же DTC.

      Нажмите здесь Click here


      Chassis > ABS/VSC/TRC > Trouble Codes
      Результат
      Результат Перейти к
      Выводится DTC C1337. А
      DTC C1337 не выводится. B

    А
    B