| Sender | Receiver | Signal | Communication Line |
|---|---|---|---|
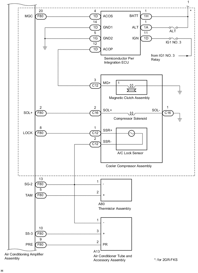
| Air conditioning amplifier assembly | ECM | Magnetic clutch request signal*1 | CAN |
| Idle up request signal | |||
| Heater idle up request signal | |||
| Super cooling control state signal | |||
| Charging control inhibit signal*1 | |||
| Prior A/C control request signal | |||
| Acceleration cut inhibit signal | |||
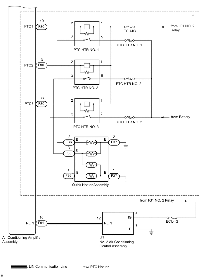
| PTC heater control request signal*2 | |||
| Generator control inhibit signal*1 | |||
| Transmission system heating performance assistance request signal*1 | |||
| Ambient temperature before correction signal | |||
| Refrigerant information signal*1 | |||
| Evaporator temperature sensor signal | |||
| Variable compressor solenoid current signal | |||
| Air conditioner tube and accessory assembly signal | |||
| Rear defogger drive request signal | |||
| Ambient temperature display signal | |||
| Air conditioning amplifier assembly | Navigation receiver assembly*4 or Radio and display receiver assembly*5 | Ambient temperature display signal | CAN |
| Air conditioning amplifier assembly | Main body ECU (multiplex network body ECU) | Rear defogger drive request signal | CAN |
| Mirror heater drive request signal*3 | |||
| In vehicle temperature signal | |||
| Ambient temperature display signal | |||
| Switch signal of 0 or 0.5°C below decimal point of ambient temperature display signal | |||
| A/C control state signal | |||
| Air conditioning amplifier assembly | Combination meter assembly | Ambient temperature display signal | CAN |
| ECM | Air conditioning amplifier assembly | Engine type information signal | CAN |
| ECO run flag signal | |||
| Engine rpm data signal | |||
| Alternative field duty value signal | |||
| Engine coolant temperature signal | |||
| A/C control cut-off signal | |||
| Variable control inhibition signal | |||
| Air conditioner cut-off instruction flag at deceleration signal | |||
| Air conditioning super cooling command flag at deceleration signal | |||
| Number of PTC heaters which are permitted signal*2 | |||
| Main body ECU (multiplex network body ECU) | Air conditioning amplifier assembly | Trip count signal | CAN |
| Time count signal | |||
| Auto dimmer signal | |||
| High beam headlight request signal | |||
| Low beam headlight request signal | |||
| Destination symbol signal | |||
| Destination package signal | |||
| Steering wheel signal | |||
| Solar data (R) signal | |||
| Solar data (L) signal | |||
| Combination meter assembly | Air conditioning amplifier assembly | Vehicle speed signal (meter to other) | CAN |
| Power steering ECU assembly | Air conditioning amplifier assembly | Loading control level signal | CAN |
| Air conditioning control assembly | Air conditioning amplifier assembly | AUTO switch operation signal | LIN |
| OFF switch operation signal | |||
| REAR switch operation signal | |||
| Blower switch operation signal (up, down) | |||
| Rear passenger side set temperature switch operation signal | |||
| Mode switch operation signal | |||
| Front defroster switch operation signal | |||
| Rear defogger switch operation signal | |||
| SYNC switch operation signal | |||
| Recirculation/fresh switch operation signal | |||
| A/C switch operation signal | |||
| Driver side set temperature switch operation signal | |||
| Front passenger side set temperature switch operation signal | |||
| Air conditioning amplifier assembly | Air conditioning control assembly | Entire front panel display instruction signal | LIN |
| AUTO display instruction signal | |||
| Blower level display instruction signal | |||
| A/C display instruction signal | |||
| Recirculation/fresh display instruction signal | |||
| Air outlet display instruction signal | |||
| Rear defogger display instruction signal | |||
| Driver side set temperature display instruction signal | |||
| Front passenger side set temperature display instruction signal | |||
| Dimmer signal | |||
| REAR display instruction signal | |||
| Front passenger side SYNC display instruction signal | |||
| Rear passenger side SYNC display instruction signal | |||
| No. 2 air conditioning control assembly | Air conditioning amplifier assembly | AUTO switch operation signal | LIN |
| OFF switch operation signal | |||
| Blower switch operation signal (up, down) | |||
| Mode switch operation signal | |||
| Set temperature switch operation signal | |||
| Air conditioning amplifier assembly | No. 2 air conditioning control assembly | Entire rear panel display instruction signal | LIN |
| AUTO display instruction signal | |||
| Blower level display instruction signal | |||
| Air outlet display instruction signal | |||
| Set temperature display instruction signal | |||
| Dimmer signal |
*1: for 2GR-FKS
*2: w/ PTC Heater
*3: w/ Mirror Heater
*4: for Navigation Receiver Type
*5: for Radio and Display Type