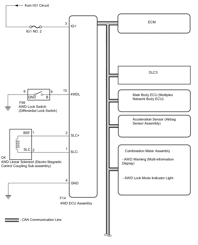
DYNAMIC TORQUE CONTROL 4WD/AWD SYSTEM SYSTEM DIAGRAM

A0027D2E04
A002BNQE04
Communication Table
Transmitting ECU Receiving ECU Signal Communication Method
Skid control ECU (Brake actuator assembly) 4WD ECU assembly
  • Wheel speed sensor signal

  • Stop light switch signal

CAN communication system
ECM 4WD ECU assembly
  • Shift position sensor signal

  • Throttle position sensor signal

  • Crankshaft position sensor signal

CAN communication system
Main body ECU (Multiplex network body ECU) 4WD ECU assembly
  • Parking brake switch signal

  • Ambient temperature signal

CAN communication system
4WD ECU assembly Combination meter assembly
  • AWD warning signal

  • AWD lock mode indicator light signal

CAN communication system
Steering sensor 4WD ECU assembly Steering angle sensor signal CAN communication system
Acceleration sensor (Airbag sensor assembly) 4WD ECU assembly Acceleration sensor signal CAN communication system