CAN COMMUNICATION SYSTEM Central Gateway ECU Communication Stop Mode

DESCRIPTION

Detection Item Symptom Trouble Area
Central Gateway ECU Communication Stop Mode

Communication system DTCs (DTCs that start with U) that correspond to "Central Gateway ECU Communication Stop Mode" in "DTC Combination Table" are output.

Click here


  • Central gateway ECU (network gateway ECU) main line or connector

  • Central gateway ECU (network gateway ECU) branch line or connector

  • Power source circuit of central gateway ECU (network gateway ECU)

  • Central gateway ECU (network gateway ECU) ground circuit

  • Central gateway ECU (network gateway ECU)

WIRING DIAGRAM

Figure 1. Bus 2

B003YKDE01

Figure 2. Bus 3

B003YC4E01

Figure 3. Bus 5

B003XXZE03

CAUTION / NOTICE / HINT

CAUTION:

When performing the confirmation driving pattern, obey all speed limits and traffic laws.

Note


  • Before measuring the resistance of the CAN bus, turn the power switch off and leave the vehicle for 1 minute or more without operating the key or any switches, or opening or closing the doors. After that, disconnect the cable from the negative (-) auxiliary battery terminal and leave the vehicle for 1 minute or more before measuring the resistance.

  • After turning the power switch off, waiting time may be required before disconnecting the cable from the negative (-) auxiliary battery terminal. Therefore, make sure to read the disconnecting the cable from the negative (-) auxiliary battery terminal notices before proceeding with work.

    Click here

  • Because the order of diagnosis is important to allow correct diagnosis, make sure to begin troubleshooting using How to Proceed with Troubleshooting when CAN communication system related DTCs are output.

    Click here

  • After performing repairs, perform the DTC check procedure and confirm that the DTCs are not output again.

    DTC check procedure: Turn the power switch on (IG) and wait for 1 minute or more. Then operate the suspected malfunctioning system and drive the vehicle at 60 km/h (37 mph) or more for 5 minutes or more.

  • After the repair, perform the CAN bus check and check that all the ECUs and sensors connected to the CAN communication system are displayed as normal.

    Click here

  • Inspect the fuses for circuits related to this system before performing the following procedure.

Tech Tips


  • Before disconnecting related connectors for inspection, push in on each connector body to check that the connector is not loose or disconnected.

  • When a connector is disconnected, check that the terminals and connector body are not cracked, deformed or corroded.

PROCEDURE


  1. CHECK FOR OPEN IN CAN BUS LINES (CENTRAL GATEWAY ECU (NETWORK GATEWAY ECU) MAIN LINE AND BRANCH LINE)


    1. Disconnect the cable from the negative (-) auxiliary battery terminal.

    2. Disconnect the K146 central gateway ECU (network gateway ECU) connector.

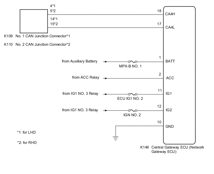
    3. B003Y5BC10
      *a

      Front view of wire harness connector

      (to Central Gateway ECU (Network Gateway ECU))

      Measure the resistance according to the value(s) in the table below.

      Standard Resistance
      Bus 2 Branch Lines
      Tester Connection Condition Specified Condition
      K146-18 (CA4H) - K146-17 (CA4L) Cable disconnected from negative (-) auxiliary battery terminal 54 to 69 Ω
      Bus 3 Main Lines
      Tester Connection Condition Specified Condition
      K146-6 (CA3H) - K146-19 (CAYH) Cable disconnected from negative (-) auxiliary battery terminal Below 1 Ω
      K146-21 (CA3L) - K146-20 (CAYL)
      Bus 5 Main Lines
      Tester Connection Condition Specified Condition
      K146-15 (CA5H) - K146-16 (CA5L) Cable disconnected from negative (-) auxiliary battery terminal 108 to 132 Ω
      Result
      Result Proceed to
      OK A
      NG (Bus 2 branch lines) B
      NG (Bus 3 main lines) C
      NG (Bus 5 main lines) D

    B
    C
    D
    A
  2. CHECK HARNESS AND CONNECTOR (POWER SOURCE CIRCUIT)


    1. B003YESC21
      *a

      Front view of wire harness connector

      (to Central Gateway ECU (Network Gateway ECU))

      Measure the resistance according to the value(s) in the table below.

      Standard Resistance
      Tester Connection Condition Specified Condition
      K146-10 (GND) - Body ground Cable disconnected from negative (-) auxiliary battery terminal Below 1 Ω
    2. Reconnect the cable to the negative (-) auxiliary battery terminal.

    3. Measure the voltage according to the value(s) in the table below.

      Standard Voltage
      Tester Connection Condition Specified Condition
      K146-1 (BATT) - Body ground power switch off 11 to 14 V
      K146-2 (ACC) - Body ground Power switch on (ACC) 11 to 14 V
      K146-11 (IG1) - Body ground Power switch on (IG) 11 to 14 V
      K146-12 (IG2) - Body ground Power switch on (IG) 11 to 14 V
      Result
      Result
      OK
      NG

    OK
    NG