CAN COMMUNICATION SYSTEM Check CAN Bus Lines for Short Circuit (RHD Models)

DESCRIPTION

There may be a short circuit between the V bus main lines and/or CAN branch lines when the resistance between terminals 6 (CANH) and 14 (CANL) of the DLC3 is below 54 Ω.

Symptom Trouble Area
Resistance between terminals 6 (CANH) and 14 (CANL) of DLC3 is below 54 Ω.
  • Short in CAN main bus line

  • Short in CAN branch line

  • Combination meter assembly

  • Power steering ECU assembly

  • Main body ECU (multiplex network body ECU)

  • Steering sensor

  • Airbag sensor assembly

  • ECM

  • Skid control ECU assembly

  • Air conditioning amplifier assembly

  • Certification ECU (smart key ECU assembly)

  • Network gateway ECU*1

  • Option connector (bus buffer ECU)*2

  • Radio receiver assembly*3*4

  • Stereo component equalizer assembly*5

  • Yaw rate sensor

  • Headlight leveling ECU assembly

  • Power management control ECU

  • No. 1 CAN junction connector

  • No. 2 CAN junction connector


WIRING DIAGRAM

A00233OE02
A0022FZE02
A0022FTE01

CAUTION / NOTICE / HINT

Note


  • Before measuring the resistance of the CAN bus, turn the power switch off and leave the vehicle for 1 minute or more without operating the key, switches or opening or closing the doors. After that, disconnect the cable from the negative (-) auxiliary battery terminal and leave the vehicle for 1 minute or more before measuring the resistance.

  • After turning the power switch off, waiting time may be required before disconnecting the cable from the negative (-) auxiliary battery terminal. Therefore, make sure to read the disconnecting the cable from the negative (-) auxiliary battery terminal notices before proceeding with work.

    Click here

  • Because the order of diagnosis is important to allow correct diagnosis, make sure to begin troubleshooting using How to Proceed with Troubleshooting when CAN communication system related DTCs are output.

    Click here

  • After performing repairs, perform the DTC check procedure and confirm that the DTCs are not output again.

  • DTC check procedure: Turn the power switch on (IG) and wait at least 300 seconds, and then drive the vehicle at a speed of 36 km/h (22 mph) or more for 7 seconds or more.

  • After the repair, perform the CAN bus check and check that all the ECUs and sensors connected to the CAN communication system are displayed.

    Click here

  • If the main body ECU (multiplex network body ECU) is replaced, refer to Service Bulletin.

Tech Tips


  • Operating the power switch, any other switches or a door triggers related ECU and sensor communication on the CAN. This communication will cause the resistance value to change.

  • Even after DTCs are cleared, if a DTC is stored again after driving the vehicle for a while, the malfunction may be occurring due to vibration of the vehicle. In such a case, wiggling the ECUs or wire harness while performing the inspection below may help determine the cause of the malfunction.

PROCEDURE


  1. CHECK FOR SHORT IN CAN BUS LINES (COMBINATION METER ASSEMBLY - NO. 1 CAN JUNCTION CONNECTOR)


    1. Disconnect the cable from the negative (-) auxiliary battery terminal.

    2. A0022APC10
      *a

      Front view of wire harness connector

      (to Combination Meter Assembly)

      Disconnect the K3 combination meter assembly connector.

    3. Measure the resistance according to the value(s) in the table below.

      Standard Resistance
      Tester Connection Condition Specified Condition
      K3-29 (CANH) - K3-30 (CANL) Cable disconnected from negative (-) auxiliary battery terminal 108 to 132 Ω
      Result
      Result
      OK
      NG

    OK
    NG
  2. CHECK FOR SHORT IN CAN BUS LINES (ECM - NO. 2 CAN JUNCTION CONNECTOR)


    1. Reconnect the K3 combination meter assembly connector.

    2. A0020UQC16
      *a

      Front view of wire harness connector

      (to ECM)

      Disconnect the A78 ECM connector.

    3. Measure the resistance according to the value(s) in the table below.

      Standard Resistance
      Tester Connection Condition Specified Condition
      A78-13 (CANH) - A78-26 (CANL) Cable disconnected from negative (-) auxiliary battery terminal 108 to 132 Ω
      Result
      Result
      OK
      NG

    OK
    NG
  3. CHECK FOR SHORT IN CAN BUS LINES (NO. 1 CAN JUNCTION CONNECTOR)


    1. Reconnect the A78 ECM connector.

    2. Disconnect the K109 No. 1 CAN junction connector.

      A0020AZC25
      *a

      Front view of wire harness connector

      (to No. 1 CAN Junction Connector)

      *b to No. 2 CAN Junction Connector
      *c to Combination Meter Assembly *d

      to Radio Receiver Assembly

      (w/ Navigation System)

      (w/o Navigation System)

      *e to Airbag Sensor Assembly *f to Yaw Rate Sensor
      *g to Skid Control ECU Assembly *h to Steering Sensor
      *i to DLC3 - -
    3. Measure the resistance according to the value(s) in the table below.

      Standard Resistance
      Tester Connection Condition Specified Condition Connected to
      K109-1 (CANH) - K109-11 (CANL) Cable disconnected from negative (-) auxiliary battery terminal 108 to 132 Ω No. 2 CAN junction connector
      K109-2 (CANH) - K109-12 (CANL) Cable disconnected from negative (-) auxiliary battery terminal 108 to 132 Ω Combination meter assembly
      K109-3 (CANH) - K109-13 (CANL) Cable disconnected from negative (-) auxiliary battery terminal 200 Ω or higher Radio receiver assembly*1*2
      K109-4 (CANH) - K109-14 (CANL) Cable disconnected from negative (-) auxiliary battery terminal 200 Ω or higher Airbag sensor assembly
      K109-5 (CANH) - K109-15 (CANL) Cable disconnected from negative (-) auxiliary battery terminal 200 Ω or higher Yaw rate sensor
      K109-6 (CANH) - K109-16 (CANL) Cable disconnected from negative (-) auxiliary battery terminal 200 Ω or higher Skid control ECU assembly
      K109-7 (CANH) - K109-17 (CANL) Cable disconnected from negative (-) auxiliary battery terminal 200 Ω or higher Steering sensor
      K109-8 (CANH) - K109-18 (CANL) Cable disconnected from negative (-) auxiliary battery terminal 1 MΩ or higher DLC3

      • *1: w/ Navigation system

      • *2: w/o Navigation system

      Result
      Result Proceed to
      OK A
      NG (No. 2 CAN junction connector main line) B
      NG (ECU or sensor branch line) C
      NG (DLC3 branch line) D
      NG (Combination meter assembly main line) E

    A
    C
    D
    E
    B
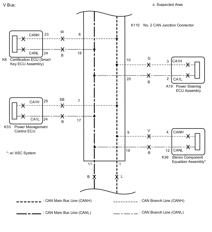
  4. CHECK FOR SHORT IN CAN BUS LINES (NO. 2 CAN JUNCTION CONNECTOR)


    1. Reconnect the K109 No. 1 CAN junction connector.

    2. Disconnect the K110 No. 2 CAN junction connector.

      A0020AZC26
      *a

      Front view of wire harness connector

      (to No. 2 CAN Junction Connector)

      *b to No. 1 CAN Junction Connector
      *c to Main Body ECU (Multiplex Network Body ECU) *d to ECM
      *e to Headlight Leveling ECU Assembly *f

      to Network Gateway ECU

      (w/ Network Gateway ECU)

      *g

      to Option Connector (Bus Buffer ECU)

      (w/o Network Gateway ECU)

      *h to Air Conditioning Amplifier Assembly
      *i to Power Management Control ECU *j to Certification ECU (Smart Key ECU Assembly)
      *k

      to Stereo Component Equalizer Assembly

      (w/ ASC System)

      *l to Power Steering ECU Assembly
    3. Measure the resistance according to the value(s) in the table below.

      Standard Resistance
      Tester Connection Condition Specified Condition Connected to
      K110-1 (CANH) - K110-11 (CANL) Cable disconnected from negative (-) auxiliary battery terminal 108 to 132 Ω No. 1 CAN junction connector
      K110-2 (CANH) - K110-12 (CANL) Cable disconnected from negative (-) auxiliary battery terminal 200 Ω or higher Main body ECU (multiplex network body ECU)
      K110-3 (CANH) - K110-13 (CANL) Cable disconnected from negative (-) auxiliary battery terminal 108 to 132 Ω ECM
      K110-4 (CANH) - K110-14 (CANL) Cable disconnected from negative (-) auxiliary battery terminal 200 Ω or higher Headlight leveling ECU assembly
      K110-5 (CANH) - K110-15 (CANL) Cable disconnected from negative (-) auxiliary battery terminal
      • 1 MΩ or higher*1

      • 200 Ω or higher*2


      • Option connector (Bus buffer ECU)*1

      • Network gateway ECU*2

      K110-6 (CANH) - K110-16 (CANL) Cable disconnected from negative (-) auxiliary battery terminal 200 Ω or higher Air conditioning amplifier assembly
      K110-7 (CANH) - K110-17 (CANL) Cable disconnected from negative (-) auxiliary battery terminal 200 Ω or higher Power management control ECU
      K110-8 (CANH) - K110-18 (CANL) Cable disconnected from negative (-) auxiliary battery terminal 200 Ω or higher Certification ECU (smart key ECU assembly)
      K110-9 (CANH) - K110-19 (CANL) Cable disconnected from negative (-) auxiliary battery terminal 200 Ω or higher Stereo component equalizer assembly*3
      K110-10 (CANH) - K110-20 (CANL) Cable disconnected from negative (-) auxiliary battery terminal 200 Ω or higher Power steering ECU assembly

      • *1: w/o Network gateway ECU

      • *2: w/ Network gateway ECU

      • *3: w/ ASC system

      Result
      Result Proceed to
      OK A
      NG (No. 1 CAN junction connector main line) B
      NG (ECU or sensor branch line) C
      NG (ECM main line) D

    A
    B
    D
    C
  5. CHECK FOR SHORT IN CAN BUS LINES (ECU, SENSOR)


    1. Reconnect all wire harness connectors.

    2. Disconnect the connector that includes terminals CANH and CANL from the ECU (or sensor) to which the short circuited branch line is connected.

      Click here

    3. B003XRFC35
      *1 DLC3

      Measure the resistance according to the value(s) in the table below.

      Standard Resistance
      Tester Connection Condition Specified Condition
      K9-6 (CANH) - K9-14 (CANL) Cable disconnected from negative (-) auxiliary battery terminal 54 to 69 Ω

      Tech Tips

      If the resistance becomes normal (between 54 and 69 Ω) when the connector is disconnected from the ECU (or sensor), there may be a short in the ECU (or sensor).

      Result
      Result
      OK
      NG

    OK
    NG