CAN COMMUNICATION SYSTEM Open in CAN Main Bus Line (LHD Models)

DESCRIPTION

There may be an open circuit in one of the V bus main lines and/or a DLC3 branch line when the resistance between terminals 6 (CANH) and 14 (CANL) of the DLC3 is 70 Ω or higher.

Symptom Trouble Area
Resistance between terminals 6 (CANH) and 14 (CANL) of DLC3 is 70 Ω or higher.
  • DLC3 branch line or connector

  • CAN main bus line or connector

  • ECM

  • Combination meter assembly

  • No. 1 CAN junction connector

  • No. 2 CAN junction connector

This malfunction is not related to the lines of a CAN main bus branch or to ECUs or sensors connected to a CAN main bus branch.

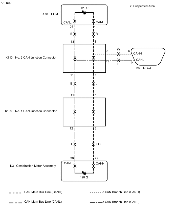
WIRING DIAGRAM

B003XRME09

CAUTION / NOTICE / HINT

Note


  • Before measuring the resistance of the CAN bus, turn the power switch off and leave the vehicle for 1 minute or more without operating the key, switches or opening or closing the doors. After that, disconnect the cable from the negative (-) auxiliary battery terminal and leave the vehicle for 1 minute or more before measuring the resistance.

  • After turning the power switch off, waiting time may be required before disconnecting the cable from the negative (-) auxiliary battery terminal. Therefore, make sure to read the disconnecting the cable from the negative (-) auxiliary battery terminal notices before proceeding with work.

    Click here

  • Because the order of diagnosis is important to allow correct diagnosis, make sure to begin troubleshooting using How to Proceed with Troubleshooting when CAN communication system related DTCs are output.

    Click here

  • After performing repairs, perform the DTC check procedure and confirm that the DTCs are not output again.

  • DTC check procedure: Turn the power switch on (IG) and wait at least 60 seconds, and then drive the vehicle at a speed of 36 km/h (22 mph) or more for 7 seconds or more.

  • After the repair, perform the CAN bus check and check that all the ECUs and sensors connected to the CAN communication system are displayed.

    Click here

Tech Tips


  • Operating the power switch, any other switches or a door triggers related ECU and sensor communication on the CAN. This communication will cause the resistance value to change.

  • Even after DTCs are cleared, if a DTC is stored again after driving the vehicle for a while, the malfunction may be occurring due to vibration of the vehicle. In such a case, wiggling the ECUs or wire harness while performing the inspection below may help determine the cause of the malfunction.

PROCEDURE


  1. CHECK FOR OPEN IN CAN BUS LINES (DLC3 BRANCH LINE)


    1. Disconnect the cable from the negative (-) auxiliary battery terminal.

    2. B003XRFC32
      *1 DLC3

      Measure the resistance according to the value(s) in the table below.

      Standard Resistance
      Tester Connection Condition Specified Condition
      K9-6 (CANH) - K9-14 (CANL) Cable disconnected from negative (-) auxiliary battery terminal 108 to 132 Ω

      Note

      When the measured value is 133 Ω or higher and a CAN communication system DTC is output, there may be a fault besides disconnection of the DLC3 branch line. For that reason, troubleshooting should be performed again from How to Proceed with Troubleshooting after repairing the trouble area.

      Click here

      Result
      Result
      OK
      NG

    NG
    OK
  2. CHECK FOR OPEN IN CAN BUS LINES (COMBINATION METER ASSEMBLY - NO. 1 CAN JUNCTION CONNECTOR)


    1. B003YI3C14
      *a

      Front view of wire harness connector

      (to Combination Meter Assembly)

      Disconnect the K3 combination meter assembly connector.

    2. Measure the resistance according to the value(s) in the table below.

      Standard Resistance
      Tester Connection Condition Specified Condition
      K3-29 (CANH) - K3-30 (CANL) Cable disconnected from negative (-) auxiliary battery terminal 108 to 132 Ω
      Result
      Result
      OK
      NG

    OK
    NG
  3. CHECK FOR OPEN IN CAN BUS LINES (ECM - NO. 2 CAN JUNCTION CONNECTOR)


    1. Reconnect the K3 combination meter assembly connector.

    2. B003XRUC12
      *a

      Front view of wire harness connector

      (to ECM)

      Disconnect the A78 ECM connector.

    3. Measure the resistance according to the value(s) in the table below.

      Standard Resistance
      Tester Connection Condition Specified Condition
      A78-13 (CANH) - A78-26 (CANL) Cable disconnected from negative (-) auxiliary battery terminal 108 to 132 Ω
      Result
      Result
      OK
      NG

    OK
    NG
  4. CHECK FOR OPEN IN CAN BUS LINES (NO. 1 CAN JUNCTION CONNECTOR)


    1. Reconnect the A78 ECM connector.

    2. B003XPIC05
      *a

      Front view of wire harness connector

      (to No. 1 CAN Junction Connector)

      *b to No. 2 CAN Junction Connector
      *c to Combination Meter Assembly

      Disconnect the K109 No. 1 CAN junction connector.

    3. Measure the resistance according to the value(s) in the table below.

      Standard Resistance
      Tester Connection Condition Specified Condition Connected to
      K109-1 (CANH) - K109-11 (CANL) Cable disconnected from negative (-) auxiliary battery terminal 108 to 132 Ω No. 2 CAN junction connector
      K109-2 (CANH) - K109-12 (CANL) Cable disconnected from negative (-) auxiliary battery terminal 108 to 132 Ω Combination meter assembly
      Result
      Result Proceed to
      OK A
      NG (Combination meter assembly main line) B
      NG (No. 2 CAN junction connector main line) C

    A
    B
    C
  5. CHECK FOR OPEN IN CAN BUS LINES (NO. 2 CAN JUNCTION CONNECTOR)


    1. Reconnect the K109 No. 1 CAN junction connector.

    2. B003XPIC06
      *a

      Front view of wire harness connector

      (to No. 2 CAN Junction Connector)

      *b to No. 1 CAN Junction Connector
      *c to ECM

      Disconnect the K110 No. 2 CAN junction connector.

    3. Measure the resistance according to the value(s) in the table below.

      Standard Resistance
      Tester Connection Condition Specified Condition Connected to
      K110-1 (CANH) - K110-11 (CANL) Cable disconnected from negative (-) auxiliary battery terminal 108 to 132 Ω No. 1 CAN junction connector
      K110-3 (CANH) - K110-13 (CANL) Cable disconnected from negative (-) auxiliary battery terminal 108 to 132 Ω ECM
      Result
      Result Proceed to
      OK A
      NG (ECM main line) B
      NG (No. 1 CAN junction connector main line) C

    A
    B
    C