CAN COMMUNICATION SYSTEM Power Steering ECU Communication Stop Mode

DESCRIPTION

Detection Item Symptom Trouble Area
Power Steering ECU Communication Stop Mode

Either condition is met:


  • "Power Steering (EPS)" is not displayed on the CAN Bus Check screen of the GTS

    Click here

  • Communication system DTCs (DTCs that start with U) that correspond to "Power Steering ECU Communication Stop Mode" in "DTC Combination Table" are output

    Click here


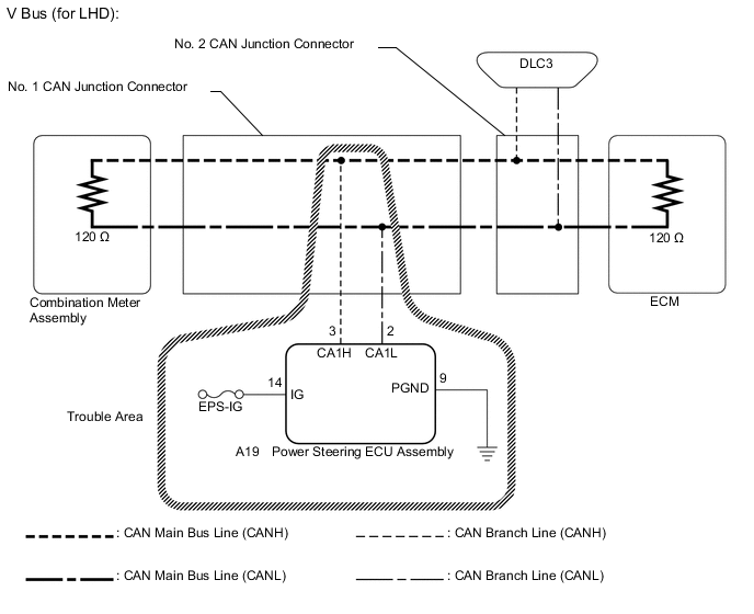
  • Power steering ECU assembly branch line or connector

  • Power source circuit of power steering ECU assembly

  • Power steering ECU assembly ground circuit

  • Power steering ECU assembly

WIRING DIAGRAM

B003Y8CE07
B003Y8CE08

CAUTION / NOTICE / HINT

Note


  • Before measuring the resistance of the CAN bus, turn the power switch off and leave the vehicle for 1 minute or more without operating the key, switches or opening or closing the doors. After that, disconnect the cable from the negative (-) auxiliary battery terminal and leave the vehicle for 1 minute or more before measuring the resistance.

  • After turning the power switch off, waiting time may be required before disconnecting the cable from the negative (-) auxiliary battery terminal. Therefore, make sure to read the disconnecting the cable from the negative (-) auxiliary battery terminal notices before proceeding with work.

    Click here

  • Because the order of diagnosis is important to allow correct diagnosis, make sure to begin troubleshooting using How to Proceed with Troubleshooting when CAN communication system related DTCs are output.

    Click here

  • After performing repairs, perform the DTC check procedure and confirm that the DTCs are not output again.

  • DTC check procedure: Turn the power switch on (IG) and wait at least 300 seconds.

  • After the repair, perform the CAN bus check and check that all the ECUs and sensors connected to the CAN communication system are displayed.

    Click here

  • Inspect the fuses for circuits related to this system before performing the following procedure.

Tech Tips


  • Operating the power switch, any other switches or a door triggers related ECU and sensor communication on the CAN. This communication will cause the resistance value to change.

  • Even after DTCs are cleared, if a DTC is stored again after driving the vehicle for a while, the malfunction may be occurring due to vibration of the vehicle. In such a case, wiggling the ECUs or wire harness while performing the inspection below may help determine the cause of the malfunction.

PROCEDURE


  1. CHECK FOR OPEN IN CAN BUS LINES (POWER STEERING ECU ASSEMBLY BRANCH LINE)


    1. Disconnect the cable from the negative (-) auxiliary battery terminal.

    2. B003Y90C29
      *a

      Front view of wire harness connector

      (to Power Steering ECU Assembly)

      Disconnect the A19 power steering ECU assembly connector.

    3. Measure the resistance according to the value(s) in the table below.

      Standard Resistance
      Tester Connection Condition Specified Condition
      A19-3 (CA1H) - A19-2 (CA1L) Cable disconnected from negative (-) auxiliary battery terminal 54 to 69 Ω
      Result
      Result
      OK
      NG

    NG
    OK
  2. CHECK HARNESS AND CONNECTOR (POWER SOURCE CIRCUIT)


    1. B003Y90C30
      *a

      Front view of wire harness connector

      (to Power Steering ECU Assembly)

      Measure the resistance according to the value(s) in the table below.

      Standard Resistance
      Tester Connection Condition Specified Condition
      A19-9 (PGND) - Body ground Cable disconnected from negative (-) auxiliary battery terminal Below 1 Ω
    2. Reconnect the cable to the negative (-) auxiliary battery terminal.

    3. B003Y90C31
      *a

      Front view of wire harness connector

      (to Power Steering ECU Assembly)

      Measure the voltage according to the value(s) in the table below.

      Standard Voltage
      Tester Connection Condition Specified Condition
      A19-14 (IG) - Body ground Power switch ON (IG) 11 to 14 V
      Result
      Result Proceed to
      OK (for LHD) A
      OK (for RHD) B
      NG C

    A
    B
    C