CAN COMMUNICATION SYSTEM, Diagnostic DTC:U1002, U0235

DTC Code DTC Name
U1002 Lost Communication with Gateway Module (Sensor Bus)
U0235 Lost Communication with Cruise Control Front Distance Range Sensor

DESCRIPTION


DTC No. Detection Item DTC Detection Condition Trouble Area Note
U0235 Lost Communication with Cruise Control Front Distance Range Sensor No communication from the Millimeter Wave Radar Sensor Assembly continues.
  • Open or short in sub bus 13 main line or connector

  • Millimeter wave radar sensor assembly

  • Power source circuit of millimeter wave radar sensor assembly

  • Millimeter wave radar sensor assembly ground circuit

Tech Tips

The driving support ECU assembly stores DTCs when it detects a communication stop or network communication error for ECUs connected to sub bus 13.

U1002 Lost Communication with Gateway Module (Sensor Bus) The driving support ECU assembly cannot receive signals from all ECUs that have been memorized as those connected to sub bus 13.
  • Open or short in sub bus 13 main line or connector

  • Driving support ECU assembly

  • Power source circuit of driving support ECU assembly

  • Driving support ECU assembly ground circuit

  • Millimeter wave radar sensor assembly

  • Power source circuit of millimeter wave radar sensor assembly

  • Millimeter wave radar sensor assembly ground circuit

Tech Tips

The driving support ECU assembly stores DTCs when it detects a communication stop or network communication error for ECUs connected to sub bus 13.

Tech Tips

The diagnosis procedure is for when DTC U1002 is output by the driving support ECU assembly (GTS display: Pre-crash 2).

WIRING DIAGRAM

A0022TUE06

CAUTION / NOTICE / HINT

Note


  • Before measuring the resistance of the CAN bus, turn the power switch off and leave the vehicle for 1 minute or more without operating the key, switches or opening or closing the doors. After that, disconnect the cable from the negative (-) auxiliary battery terminal and leave the vehicle for 1 minute or more before measuring the resistance.

  • After turning the power switch off, waiting time may be required before disconnecting the cable from the negative (-) auxiliary battery terminal. Therefore, make sure to read the disconnecting the cable from the negative (-) auxiliary battery terminal notices before proceeding with work.

    Click here

  • Because the order of diagnosis is important to allow correct diagnosis, make sure to begin troubleshooting using How to Proceed with Troubleshooting when CAN communication system related DTCs are output.

    Click here

  • After performing repairs, perform the DTC check procedure and confirm that the DTCs are not output again.

  • After the repair, perform the CAN bus check and check that all the ECUs and sensors connected to the CAN communication system are displayed.

    Click here

Tech Tips


  • Operating the power switch, any other switches or a door triggers related ECU and sensor communication on the CAN. This communication will cause the resistance value to change.

  • Even after DTCs are cleared, if a DTC is stored again after driving the vehicle for a while, the malfunction may be occurring due to vibration of the vehicle. In such a case, wiggling the ECUs or wire harness while performing the inspection below may help determine the cause of the malfunction.

PROCEDURE


  1. RECONFIRM DTC OUTPUT


    1. Reconfirm DTCs.


      Body Electrical > Gateway > Trouble Codes
      Result
      Result Proceed to
      U0104 is not output from network gateway ECU (GTS display: Gateway) A
      U0104 is output from network gateway ECU (GTS display: Gateway) B

    B
    A
  2. CHECK SUB BUS 13


    1. Turn the power switch off.

    2. Disconnect the cable from the negative (-) auxiliary battery terminal.

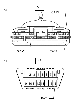
    3. A0020J6C01
      *1 DLC3
      *a

      Component with harness connected

      (Driving Support ECU Assembly)

      Measure the resistance according to the value(s) in the table below.

      Standard Resistance
      Tester Connection Condition Specified Condition Result
      M1-40 (CA1P) - M1-18 (CA1N) Cable disconnected from negative (-) auxiliary battery terminal 54 to 69 Ω Below 54 Ω: Short circuit between bus lines
      70 Ω or more: Open circuit in main bus line
      M1-40 (CA1P) - M1-25 (GND) Cable disconnected from negative (-) auxiliary battery terminal 200 Ω or higher Below 200 Ω: CANH ground short
      M1-18 (CA1N) - M1-25 (GND) Cable disconnected from negative (-) auxiliary battery terminal 200 Ω or higher Below 200 Ω: CANL ground short
      M1-40 (CA1P) - K9-16 (BAT) Cable disconnected from negative (-) auxiliary battery terminal 6 kΩ or higher Below 6 kΩ: CANH +B short
      M1-18 (CA1N) - K9-16 (BAT) Cable disconnected from negative (-) auxiliary battery terminal 6 kΩ or higher Below 6 kΩ: CANL +B short
      Result
      Result Proceed to
      OK A
      Open circuit in CAN main bus line B
      Short circuit between bus lines C

      • Ground short

      • +B short

      D

    B
    C
    D
    A
  3. CHECK FOR POWER SOURCE CIRCUIT (MILLIMETER WAVE RADAR SENSOR ASSEMBLY)


    1. Check the millimeter wave radar sensor assembly power source circuit.

      Click here

      Result
      Result
      OK
      NG

    NG
    OK
  4. CHECK FOR DTC OUTPUT


    1. Reconnect the cable to the negative (-) auxiliary battery terminal.

    2. Connect the GTS to the DLC3.

    3. Turn the power switch on (IG).

    4. Turn the GTS on.

    5. Clear the DTCs.


      Body Electrical > Pre-Crash 2 > Clear DTCs
    6. Turn the power switch off.

    7. Turn the power switch on (IG).

    8. Check for DTCs.


      Body Electrical > Pre-Crash 2 > Trouble Codes
      Result
      Result Proceed to
      U1002 is not output from driving support ECU assembly (GTS display: Pre-Crash 2) A
      U1002 is output from driving support ECU assembly (GTS display: Pre-Crash 2) B

    A
    B
  5. REPLACE DRIVING SUPPORT ECU ASSEMBLY


    1. Replace the driving support ECU assembly.

      Click here

      Result
      Result
      NEXT

    NEXT
  6. CHECK FOR DTC OUTPUT


    1. Reconnect the cable to the negative (-) auxiliary battery terminal.

    2. Turn the power switch off.

    3. Turn the power switch on (IG).

    4. Check for DTCs.


      Body Electrical > Pre-Crash 2 > Trouble Codes
      Result
      Result Proceed to
      U1002 is output from driving support ECU assembly (GTS display: Pre-Crash 2) A
      U1002 is not output from driving support ECU assembly (GTS display: Pre-Crash 2) B

    A
    B
  7. CHECK FOR OPEN IN SUB BUS 13 MAIN LINES (DRIVING SUPPORT ECU ASSEMBLY)


    1. Disconnect the M1 driving support ECU assembly connector.

    2. A0021TSC07
      *a

      Front view of wire harness connector

      (to Driving Support ECU Assembly)

      Measure the resistance according to the value(s) in the table below.

      Standard Resistance
      Tester Connection Condition Specified Condition
      M1-40 (CA1P) - M1-18 (CA1N) Cable disconnected from negative (-) auxiliary battery terminal 108 to 132 Ω
      Result
      Result
      OK
      NG

    OK
    NG
  8. CHECK FOR OPEN IN SUB BUS 13 MAIN LINES (MILLIMETER WAVE RADAR SENSOR ASSEMBLY)


    1. Reconnect the M1 driving support ECU assembly connector.

    2. Disconnect the B8 millimeter wave radar sensor assembly connector.

    3. A0022Q1C09
      *a

      Front view of wire harness connector

      (to Millimeter Wave Radar Sensor Assembly)

      Measure the resistance according to the value(s) in the table below.

      Standard Resistance
      Tester Connection Condition Specified Condition
      B8-3 (CA1P) - B8-2 (CA1N) Cable disconnected from negative (-) auxiliary battery terminal 108 to 132 Ω
      Result
      Result
      OK
      NG

    OK
    NG
  9. CHECK FOR SHORT IN SUB BUS 13 LINES (DRIVING SUPPORT ECU ASSEMBLY)


    1. Disconnect the M1 driving support ECU assembly connector.

    2. A0021TSC09
      *a

      Front view of wire harness connector

      (to Driving Support ECU Assembly)

      Measure the resistance according to the value(s) in the table below.

      Standard Resistance
      Tester Connection Condition Specified Condition
      M1-40 (CA1P) - M1-18 (CA1N) Cable disconnected from negative (-) auxiliary battery terminal 108 to 132 Ω
      Result
      Result
      OK
      NG

    OK
    NG
  10. CHECK FOR SHORT IN SUB BUS 13 LINES (MILLIMETER WAVE RADAR SENSOR ASSEMBLY)


    1. Reconnect the M1 driving support ECU assembly connector.

    2. Disconnect the B8 millimeter wave radar sensor assembly connector.

    3. A0022Q1C10
      *a

      Front view of wire harness connector

      (to Millimeter Wave Radar Sensor Assembly)

      Measure the resistance according to the value(s) in the table below.

      Standard Resistance
      Tester Connection Condition Specified Condition
      B8-3 (CA1P) - B8-2 (CA1N) Cable disconnected from negative (-) auxiliary battery terminal 108 to 132 Ω
      Result
      Result
      OK
      NG

    OK
    NG
  11. CHECK FOR SHORT IN SUB BUS 13 LINE (DRIVING SUPPORT ECU ASSEMBLY)


    1. Disconnect the M1 driving support ECU assembly connector.

    2. A0022TWC01
      *1 DLC3
      *a

      Front view of wire harness connector

      (to Driving Support ECU Assembly)

      Measure the resistance according to the value(s) in the table below.

      Standard Resistance
      Tester Connection Condition Specified Condition Purpose
      M1-40 (CA1P) - M1-25 (GND) Cable disconnected from negative (-) auxiliary battery terminal 200 Ω or higher Below 200 Ω: CANH ground short
      M1-18 (CA1N) - M1-25 (GND) Cable disconnected from negative (-) auxiliary battery terminal 200 Ω or higher Below 200 Ω: CANL ground short
      M1-40 (CA1P) - K9-16 (BAT) Cable disconnected from negative (-) auxiliary battery terminal 6 kΩ or higher Below 6 kΩ: CANH +B short
      M1-18 (CA1N) - K9-16 (BAT) Cable disconnected from negative (-) auxiliary battery terminal 6 kΩ or higher Below 6 kΩ: CANH +B short

      Tech Tips


      • It is only necessary to perform the inspection in the above table for the result (short circuit) that was obtained in the Check Sub Bus 13 inspection.

      • Find the necessary inspection from the Purpose column that matches the result in the Result column from the Check Sub Bus 13 inspection.

      Result
      Result
      OK
      NG

    OK
    NG
  12. CHECK FOR SHORT IN SUB BUS 13 LINE (MILLIMETER WAVE RADAR SENSOR ASSEMBLY)


    1. Reconnect the M1 driving support ECU assembly connector.

    2. Disconnect the B8 millimeter wave radar sensor assembly connector.

    3. A002360C01
      *1 DLC3
      *a

      Front view of wire harness connector

      (to Millimeter Wave Radar Sensor Assembly)

      Measure the resistance according to the value(s) in the table below.

      Standard Resistance
      Tester Connection Condition Specified Condition Purpose
      B8-3 (CA1P) - K9-4 (CG) Cable disconnected from negative (-) auxiliary battery terminal 200 Ω or higher Below 200 Ω: CANH ground short
      B8-2 (CA1N) - K9-4 (CG) Cable disconnected from negative (-) auxiliary battery terminal 200 Ω or higher Below 200 Ω: CANL ground short
      B8-3 (CA1P) - K9-16 (BAT) Cable disconnected from negative (-) auxiliary battery terminal 6 kΩ or higher Below 6 kΩ: CANH +B short
      B8-2 (CA1N) - K9-16 (BAT) Cable disconnected from negative (-) auxiliary battery terminal 6 kΩ or higher Below 6 kΩ: CANH +B short

      Tech Tips


      • It is only necessary to perform the inspection in the above table for the result (short circuit) that was obtained in the Check Sub Bus 13 inspection.

      • Find the necessary inspection from the Purpose column that matches the result in the Result column from the Check Sub Bus 13 inspection.

      Result
      Result
      OK
      NG

    OK
    NG