CAN COMMUNICATION SYSTEM SYSTEM DIAGRAM


  1. OVERALL CAN BUS DIAGRAM (LHD)


    1. w/o Network Gateway ECU

      The CAN communication system is composed of 3 buses.

      A01MTHBC01
      1

      Combination Meter Assembly

      (for V Bus)

      2

      Power Steering ECU Assembly

      (for V Bus)

      3

      Air Conditioning Amplifier Assembly

      (for V Bus)

      4

      Headlight Leveling ECU Assembly

      (for V Bus)

      5

      Main Body ECU (Multiplex Network Body ECU)

      (for V Bus and Sub Bus 1)

      6

      Certification ECU (Smart Key ECU Assembly)

      (for V Bus)

      7

      Airbag Sensor Assembly

      (for V Bus)

      8

      Steering Sensor

      (for V Bus)

      9

      DLC3

      (for V Bus)

      10

      Yaw Rate Sensor

      (for V Bus)

      11

      Radio Receiver Assembly

      (w/ Navigation System)

      (w/o Navigation System)

      (for V Bus)

      12

      Power Management Control ECU

      (for V Bus and Sub Bus 15)

      13

      Stereo Component Equalizer Assembly

      (w/ ASC System)

      (for V Bus)

      14

      Skid Control ECU Assembly

      (for V Bus and Sub Bus 15)

      15

      Option Connector (Bus Buffer ECU)

      (for V Bus)

      16

      ECM

      (for V Bus and Sub Bus 15)

      17

      Outer Mirror Control ECU Assembly (for Driver Side)

      (w/ Seat Position Memory System)

      (for Sub Bus 1)

      18

      Outer Mirror Control ECU Assembly (for Front Passenger Side)

      (w/ Seat Position Memory System)

      (for Sub Bus 1)

      19

      Front Power Seat Switch LH

      (w/ Seat Position Memory System)

      (for Sub Bus 1)

      20

      Multiplex Tilt and Telescopic ECU

      (w/ Power Tilt and Power Telescopic System)

      (for Sub Bus 1)

      21

      Junction Terminal

      (for Sub Bus 1)

      - -

      Tech Tips


      • The main body ECU (multiplex network body ECU) functions as a gateway between the V bus and sub bus 1.

      • Refer to the following bus wiring diagrams for details.

    2. w/ Network Gateway ECU

      The CAN communication system is composed of 5 buses.

      A01MSV0C01
      1

      Combination Meter Assembly

      (for V Bus)

      2

      Network Gateway ECU

      (for V Bus and Sub Bus 2)

      3

      Power Steering ECU Assembly

      (for V Bus)

      4

      Air Conditioning Amplifier Assembly

      (for V Bus)

      5

      Main Body ECU (Multiplex Network Body ECU)

      (for V Bus and Sub Bus 1)

      6

      Headlight Leveling ECU Assembly

      (for V Bus)

      7

      Certification ECU (Smart Key ECU Assembly)

      (for V Bus)

      8

      Airbag Sensor Assembly

      (for V Bus)

      9

      Steering Sensor

      (for V Bus)

      10

      DLC3

      (for V Bus)

      11

      Radio Receiver Assembly

      (w/ Navigation System)

      (w/o Navigation System)

      (for V Bus)

      12

      Power Management Control ECU

      (for V Bus, Sub Bus 2 and Sub Bus 15)

      13

      Yaw Rate Sensor

      (for V Bus)

      14

      Skid Control ECU Assembly

      (for V Bus and Sub Bus 15)

      15

      Stereo Component Equalizer Assembly

      (w/ ASC System)

      (for V Bus)

      16

      ECM

      (for V Bus and Sub Bus 15)

      17

      Multiplex Tilt and Telescopic ECU

      (w/ Power Tilt and Power Telescopic System)

      (for Sub Bus 1)

      18

      Outer Mirror Control ECU Assembly (for Driver Side)

      (w/ Seat Position Memory System)

      (for Sub Bus 1)

      19

      Outer Mirror Control ECU Assembly (for Front Passenger Side)

      (w/ Seat Position Memory System)

      (for Sub Bus 1)

      20

      Front Power Seat Switch LH

      (w/ Seat Position Memory System)

      (for Sub Bus 1)

      21

      Junction Terminal

      (for Sub Bus 1)

      22

      Blind Spot Monitor Sensor LH

      (w/ Blind Spot Monitor System)

      (for Sub Bus 2)

      23

      Lane Departure Warning Camera

      (w/ Lane Departure Alert System)

      (for Sub Bus 2)

      24

      Absorber Control ECU

      (w/ AVS System)

      (for Sub Bus 2)

      25

      Clearance Warning ECU Assembly

      (w/ LEXUS Parking Assist-sensor System)

      (for Sub Bus 2)

      26

      Driving Support ECU Assembly

      (w/ Pre-crash Safety System)

      (for Sub Bus 2 and Sub Bus 13)

      27

      Millimeter Wave Radar Sensor Assembly

      (w/ Pre-crash Safety System)

      (for Sub Bus 13)

      - -

      Tech Tips


      • The main body ECU (multiplex network body ECU) functions as a gateway between the V bus and sub bus 1.

      • The network gateway ECU functions as a gateway between the V bus and sub bus 2.

      • The driving support ECU assembly functions as a gateway between the sub bus 2 and sub bus 13.

      • Refer to the following bus wiring diagrams for details.

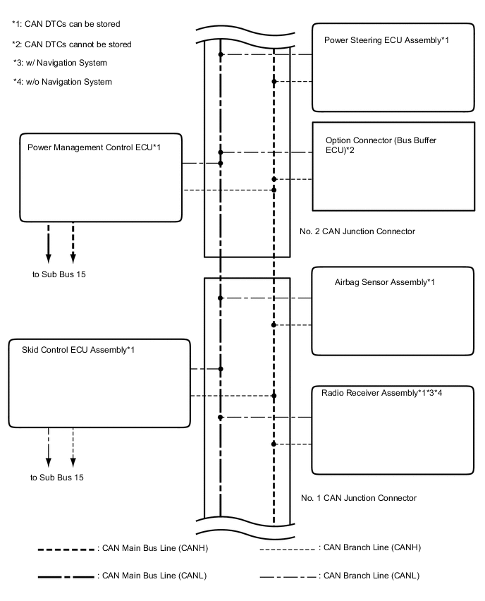
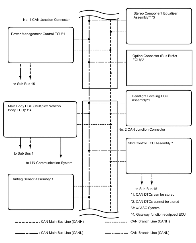
  2. V BUS (for LHD)


    1. w/o Network Gateway ECU

      A01MTW6E01
      A01MTR5E02
      A01MU0KE01

      Tech Tips

      The CAN communication system connects to other networks via ECUs that function as a gateway.

      Click here

    2. w/ Network Gateway ECU

      A01MS2RE01
      A01MRU7E02
      A01MU0KE01

      Tech Tips

      The CAN communication system connects to other networks via ECUs that function as a gateway.

      Click here

  3. SUB BUS 1 (for LHD)

    A01MRO3E02
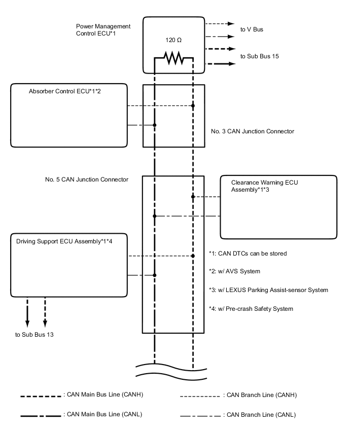
  4. SUB BUS 2 (for LHD)

    A01MS9EE01
    A01MSDNE01
  5. SUB BUS 13 (for LHD)

    A01MTSFE08
  6. SUB BUS 15 (for LHD)

    A01MSDLE02
  7. OVERALL CAN BUS DIAGRAM (RHD)


    1. w/o Network Gateway ECU

      The CAN communication system is composed of 3 buses.

      A01MTHBC01
      1

      Combination Meter Assembly

      (for V Bus)

      2

      Power Steering ECU Assembly

      (for V Bus)

      3

      Air Conditioning Amplifier Assembly

      (for V Bus)

      4

      Headlight Leveling ECU Assembly

      (for V Bus)

      5

      Main Body ECU (Multiplex Network Body ECU)

      (for V Bus and Sub Bus 1)

      6

      Certification ECU (Smart Key ECU Assembly)

      (for V Bus)

      7

      Airbag Sensor Assembly

      (for V Bus)

      8

      Steering Sensor

      (for V Bus)

      9

      DLC3

      (for V Bus)

      10

      Yaw Rate Sensor

      (for V Bus)

      11

      Radio Receiver Assembly

      (w/ Navigation System)

      (w/o Navigation System)

      (for V Bus)

      12

      Power Management Control ECU

      (for V Bus and Sub Bus 15)

      13

      Stereo Component Equalizer Assembly

      (w/ ASC System)

      (for V Bus)

      14

      Skid Control ECU Assembly

      (for V Bus and Sub Bus 15)

      15

      Option Connector (Bus Buffer ECU)

      (for V Bus)

      16

      ECM

      (for V Bus and Sub Bus 15)

      17

      Outer Mirror Control ECU Assembly (for Driver Side)

      (w/ Seat Position Memory System)

      (for Sub Bus 1)

      18

      Outer Mirror Control ECU Assembly (for Front Passenger Side)

      (w/ Seat Position Memory System)

      (for Sub Bus 1)

      19

      Front Power Seat Switch RH

      (w/ Seat Position Memory System)

      (for Sub Bus 1)

      20

      Multiplex Tilt and Telescopic ECU

      (w/ Power Tilt and Power Telescopic System)

      (for Sub Bus 1)

      21

      Junction Terminal

      (for Sub Bus 1)

      - -

      Tech Tips


      • The main body ECU (multiplex network body ECU) functions as a gateway between the V bus and sub bus 1.

      • Refer to the following bus wiring diagrams for details.

    2. w/ Network Gateway ECU

      The CAN communication system is composed of 5 buses.

      A01MSV0C01
      1

      Combination Meter Assembly

      (for V Bus)

      2

      Network Gateway ECU

      (for V Bus and Sub Bus 2)

      3

      Power Steering ECU Assembly

      (for V Bus)

      4

      Air Conditioning Amplifier Assembly

      (for V Bus)

      5

      Main Body ECU (Multiplex Network Body ECU)

      (for V Bus and Sub Bus 1)

      6

      Headlight Leveling ECU Assembly

      (for V Bus)

      7

      Certification ECU (Smart Key ECU Assembly)

      (for V Bus)

      8

      Airbag Sensor Assembly

      (for V Bus)

      9

      Steering Sensor

      (for V Bus)

      10

      DLC3

      (for V Bus)

      11

      Radio Receiver Assembly

      (w/ Navigation System)

      (w/o Navigation System)

      (for V Bus)

      12

      Power Management Control ECU

      (for V Bus ,Sub Bus 2 and Sub Bus 15)

      13

      Yaw Rate Sensor

      (for V Bus)

      14

      Skid Control ECU Assembly

      (for V Bus and Sub Bus 15)

      15

      Stereo Component Equalizer Assembly

      (w/ ASC System)

      (for V Bus)

      16

      ECM

      (for V Bus and Sub Bus 15)

      17

      Multiplex Tilt and Telescopic ECU

      (w/ Power Tilt and Power Telescopic System)

      (for Sub Bus 1)

      18

      Outer Mirror Control ECU Assembly (for Driver Side)

      (w/ Seat Position Memory System)

      (for Sub Bus 1)

      19

      Outer Mirror Control ECU Assembly (for Front Passenger Side)

      (w/ Seat Position Memory System)

      (for Sub Bus 1)

      20

      Front Power Seat Switch RH

      (w/ Seat Position Memory System)

      (for Sub Bus 1)

      21

      Junction Terminal

      (for Sub Bus 1)

      22

      Blind Spot Monitor Sensor LH

      (w/ Blind Spot Monitor System)

      (for Sub Bus 2)

      23

      Lane Departure Warning Camera

      (w/ Lane Departure Alert System)

      (for Sub Bus 2)

      24

      Absorber Control ECU

      (w/ AVS System)

      (for Sub Bus 2)

      25

      Clearance Warning ECU Assembly

      (w/ LEXUS Parking Assist-sensor System)

      (for Sub Bus 2)

      26

      Driving Support ECU Assembly

      (w/ Pre-crash Safety System)

      (for Sub Bus 2 and Sub Bus 13)

      27

      Millimeter Wave Radar Sensor Assembly

      (w/ Pre-crash Safety System)

      (for Sub Bus 13)

      - -

      Tech Tips


      • The main body ECU (multiplex network body ECU) functions as a gateway between the V bus and sub bus 1.

      • The network gateway ECU functions as a gateway between the V bus and sub bus 2.

      • The driving support ECU assembly functions as a gateway between the sub bus 2 and sub bus 13.

      • Refer to the following bus wiring diagrams for details.

  8. V BUS (for RHD)


    1. w/o Network Gateway ECU

      A01MSOYE02
      A01MSGRE01
      A01MSHJE01

      Tech Tips

      The CAN communication system connects to other networks via ECUs that function as a gateway.

      Click here

    2. w/ Network Gateway ECU

      A01MSHXE02
      A01MRIAE01
      A01MSHJE01

      Tech Tips

      The CAN communication system connects to other networks via ECUs that function as a gateway.

      Click here

  9. SUB BUS 1 (for RHD)

    A01MSHZE02
  10. SUB BUS 2 (for RHD)

    A01MTWJE01
    A01MSFTE01
  11. SUB BUS 13 (for RHD)

    A01MTSFE02
  12. SUB BUS 15 (for RHD)

    A01MSDLE03