ELECTRONICALLY CONTROLLED BRAKE SYSTEM, Diagnostic DTC:C1271/71, C1272/72, C1464/31, C1465/32

DTC Code DTC Name
C1271/71 Low Output Signal of Front Speed Sensor RH (Test Mode DTC)
C1272/72 Low Output Signal of Front Speed Sensor LH (Test Mode DTC)
C1464/31 Front Speed Sensor RH Circuit
C1465/32 Front Speed Sensor LH Circuit

DESCRIPTION

Each speed sensor detects the wheel speed and sends signals to the skid control ECU assembly. These signals are used for ABS control.

DTCs C1271/71 and C1272/72 are cleared when the speed sensor sends a wheel speed signal or when Test Mode ends. DTCs C1271/71 and C1272/72 are output only in Test Mode.

B003Y7ZE30
DTC No. Detection Item INF Code DTC Detection Condition Trouble Area Note
C1271/71 Low Output Signal of Front Speed Sensor RH (Test Mode DTC) - Detected only during Test Mode.
  • Open or short in speed sensor

  • Open or short in wire harness

  • Improperly connected connector, deformation or corrosion of terminals

  • Sensor installation

  • Front speed sensor rotor RH (Front axle hub sub-assembly RH)

ABS Test Mode DTC
C1272/72 Low Output Signal of Front Speed Sensor LH (Test Mode DTC) - Detected only during Test Mode.
  • Open or short in speed sensor

  • Open or short in wire harness

  • Improperly connected connector, deformation or corrosion of terminals

  • Sensor installation

  • Front speed sensor rotor LH (Front axle hub sub-assembly LH)

ABS Test Mode DTC
C1464/31 Front Speed Sensor RH Circuit

251

252

253

254

255

261

262


  • INF Code: 251


    • At a vehicle speed of 10 km/h (6 mph) or more, an open or short signal occurs in the speed sensor circuit for 1 second or more.


  • INF Code: 252


    • A malfunction occurs in 2 or more wheels.


  • INF Code: 253


    • An open is detected in the speed sensor signal circuit for 0.05 seconds or more.


  • INF Code: 254


    • Instantaneous interruption of sensor signal from the malfunctioning wheel occurs 255 times or more.


  • INF Code: 255


    • Frequency of 2.4 kHz or more is input.


  • INF Code: 261


    • When VM terminal voltage is 8.5 V or more and the vehicle speed is more than 3 km/h (2 mph), the speed sensor rotates in the opposite direction.


      1. for 1 second during Test Mode

      2. for 5 seconds if Test Mode is not activated


  • INF Code: 262


    • Either of the following is detected:


      1. When VM voltage is 8.5 V or more, sensor supply voltage drops for 0.5 seconds or more.

      2. When VM voltage is 8.5 V or more, sensor supply voltage fluctuates for 60 seconds or more.


  • INF Code: 251, 252, 253, 254


    • Open or short in speed sensor

    • Improperly installed speed sensor, or abnormal clearance between sensor and rotor

    • Open or short in wire harness

    • Improperly connected connector, deformation or corrosion of terminals

    • Resistance in speed sensor circuit

    • Front speed sensor RH

    • Skid control ECU assembly


  • INF Code: 255


    • Open or short in speed sensor

    • Open or short in wire harness

    • Front speed sensor RH

    • Front speed sensor rotor RH (Front axle hub sub-assembly RH)


  • INF Code: 261


    • Front speed sensor RH


  • INF Code: 262


    • Open or short in wire harness

    • Skid control ECU assembly

ABS DTC
C1465/32 Front Speed Sensor LH Circuit

264

265

266

267

268

274

275


  • INF Code: 264


    • At a vehicle speed of 10 km/h (6 mph) or more, an open or short signal occurs in the speed sensor circuit for 1 second or more.


  • INF Code: 265


    • A malfunction occurs in 2 or more wheels.


  • INF Code: 266


    • An open is detected in the speed sensor signal circuit for 0.05 seconds or more.


  • INF Code: 267


    • Instantaneous interruption of sensor signal from the malfunctioning wheel occurs 255 times or more.


  • INF Code: 268


    • Frequency of 2.4 kHz or more is input.


  • INF Code: 274


    • When VM terminal voltage is 8.5 V or more and the vehicle speed is more than 3 km/h (2 mph), the speed sensor rotates in the opposite direction.


      1. for 1 second during Test Mode

      2. for 5 seconds if Test Mode is not activated


  • INF Code: 275


    • Either of the following is detected:


      1. When VM voltage is 8.5 V or more, sensor supply voltage drops for 0.5 seconds or more.

      2. When VM voltage is 8.5 V or more, sensor supply voltage fluctuates for 60 seconds or more.


  • INF Code: 264, 265, 266, 267


    • Open or short in speed sensor

    • Improperly installed speed sensor, or abnormal clearance between sensor and rotor

    • Open or short in wire harness

    • Improperly connected connector, deformation or corrosion of terminals

    • Resistance in speed sensor circuit

    • Front speed sensor LH

    • Skid control ECU assembly


  • INF Code: 268


    • Open or short in speed sensor

    • Open or short in wire harness

    • Front speed sensor LH

    • Front speed sensor rotor LH (Front axle hub sub-assembly LH)


  • INF Code: 274


    • Front speed sensor LH


  • INF Code: 275


    • Open or short in wire harness

    • Skid control ECU assembly

ABS DTC

Tech Tips


  • DTCs C1464/31 and C1271/71 are for the front speed sensor RH.

  • DTCs C1465/32 and C1272/72 are for the front speed sensor LH.

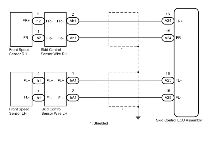
WIRING DIAGRAM

B003Y9VE03

CAUTION / NOTICE / HINT

Note

When replacing the skid control ECU assembly, perform initialization and calibration of the linear solenoid valve.

Click here

PROCEDURE


  1. CHECK HARNESS AND CONNECTOR (MOMENTARY INTERRUPTION)


    1. Using the GTS, check for any momentary interruptions in the wire harness and connector corresponding to a DTC.

      Click here


      Chassis > ABS/VSC/TRC > Data List
      Tester Display Measurement Item Range Normal Condition Diagnostic Note
      FR Speed Open Front speed sensor RH open detection Error or Normal

      Error: Momentary interruption

      Normal: Normal

      -
      FL Speed Open Front speed sensor LH open detection Error or Normal

      Error: Momentary interruption

      Normal: Normal

      -

      Chassis > ABS/VSC/TRC > Data List
      Tester Display
      FR Speed Open
      FL Speed Open
      OK
      There are no momentary interruptions.

      Tech Tips

      Perform the above inspection before removing the sensor and connector.

      Result
      Proceed to
      OK
      NG

    NG
    OK
  2. READ VALUE USING GTS (FRONT SPEED SENSOR)


    1. Select the Data List on the GTS.

      Click here


      Chassis > ABS/VSC/TRC > Data List
      Tester Display Measurement Item Range Normal Condition Diagnostic Note
      FR Wheel Speed Front speed sensor RH Min.: 0 km/h (0 mph), Max.: 326 km/h (202 mph) Vehicle stopped: 0 km/h (0 mph) When driving at constant speed: No large fluctuations
      FL Wheel Speed Front speed sensor LH Min.: 0 km/h (0 mph), Max.: 326 km/h (202 mph) Vehicle stopped: 0 km/h (0 mph) When driving at constant speed: No large fluctuations

      Chassis > ABS/VSC/TRC > Data List
      Tester Display
      FR Wheel Speed
      FL Wheel Speed
    2. Check the speed value output from the speed sensor displayed on the GTS.

      Tech Tips

      Factors that affect the indicated vehicle speed include tire size, tire inflation, and tire wear. The speed indicated on the speedometer has an allowable margin of error. This can be tested using a speedometer tester (calibrated chassis dynamometer). For details about testing and the margin of error, see the reference chart.

      Click here

      OK
      The speed value output from the speed sensor displayed on the GTS is similar to the speed indicated on the speedometer.
      Result
      Proceed to
      OK
      NG

    NG
    OK
  3. PERFORM TEST MODE INSPECTION (SIGNAL CHECK)


    1. Turn the power switch off.

    2. Perform the sensor check in Test Mode Procedure.

      Click here


      Chassis > ABS/VSC/TRC > Utility
      Tester Display
      Signal Check
      OK
      All Test Mode DTCs are cleared.
      Result
      Proceed to
      OK
      NG

    NG
    OK
  4. RECONFIRM DTC


    1. Turn the power switch off.

    2. Clear the DTCs.

      Click here


      Chassis > ABS/VSC/TRC > Clear DTCs
    3. Turn the power switch off.

    4. Turn the power switch on (READY).

    5. Perform a road test.

    6. Check if the same DTC is output.

      Click here


      Chassis > ABS/VSC/TRC > Trouble Codes
      Result
      Result Proceed to
      DTCs C1464/31 and C1465/32 are not output. A
      DTCs C1464/31 and/or C1465/32 are output. B

      Tech Tips

      If troubleshooting has been carried out according to Problem Symptoms Table, refer back to the table and proceed to the next step.

      Click here


    A
    B
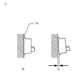
  5. CHECK FRONT SPEED SENSOR INSTALLATION


    1. B003XRDC04
      *1 Front Speed Sensor
      *a No clearance
      *b OK
      *c NG

      Turn the power switch off.

    2. Check the speed sensor installation.

      OK
      There is no clearance between the sensor and the front steering knuckle.
      Result
      Proceed to
      OK
      NG

    NG
    OK
  6. INSPECT SKID CONTROL SENSOR WIRE


    1. B003XZXC08
      *A for RH
      *B for LH
      *a Front view of skid control sensor wire
      *b

      Front view of wire harness connector

      (to Sensor Side Connector)

      *c

      Front view of wire harness connector

      (to Vehicle Side Connector)

      Make sure that there is no looseness at the locking part and the connecting part of the connectors.

    2. Remove the skid control sensor wire.

    3. Measure the resistance according to the value(s) in the table below.

      Standard Resistance
      for RH
      Tester Connection Condition Specified Condition
      h2-2 (FR+) - Ah1-2 (FR+) Always Below 1 Ω
      h2-2 (FR+) - Ah1-1 (FR-) Always 10 kΩ or higher
      h2-2 (FR+) or Ah1-2 (FR+) - Body ground Always 10 kΩ or higher
      h2-1 (FR-) - Ah1-1 (FR-) Always Below 1 Ω
      h2-1 (FR-) - Ah1-2 (FR+) Always 10 kΩ or higher
      h2-1 (FR-) or Ah1-1 (FR-) - Body ground Always 10 kΩ or higher
      for LH
      Tester Connection Condition Specified Condition
      h1-2 (FL+) - hA1-1 (FL+) Always Below 1 Ω
      h1-2 (FL+) - hA1-2 (FL-) Always 10 kΩ or higher
      h1-2 (FL+) or hA1-1 (FL+) - Body ground Always 10 kΩ or higher
      h1-1 (FL-) - hA1-2 (FL-) Always Below 1 Ω
      h1-1 (FL-) - hA1-1 (FL+) Always 10 kΩ or higher
      h1-1 (FL-) or hA1-2 (FL-) - Body ground Always 10 kΩ or higher

      Note

      Check the speed sensor signal after replacement.

      Click here

      Result
      Proceed to
      OK
      NG

    NG
    OK
  7. CHECK HARNESS AND CONNECTOR (SKID CONTROL ECU ASSEMBLY - SKID CONTROL SENSOR WIRE)


    1. Make sure that there is no looseness at the locking part and the connecting part of the connector.

    2. Disconnect the A24 or A25 skid control ECU assembly connector.

    3. Measure the resistance according to the value(s) in the table below.

      Standard Resistance
      for RH
      Tester Connection Condition Specified Condition
      A24-16 (FR+) - Ah1-2 (FR+) Always Below 1 Ω
      A24-16 (FR+) or Ah1-2 (FR+) - Body ground Always 10 kΩ or higher
      A24-15 (FR-) - Ah1-1 (FR-) Always Below 1 Ω
      A24-15 (FR-) or Ah1-1 (FR-) - Body ground Always 10 kΩ or higher
      for LH
      Tester Connection Condition Specified Condition
      A25-16 (FL+) - hA1-1 (FL+) Always Below 1 Ω
      A25-16 (FL+) or hA1-1 (FL+) - Body ground Always 10 kΩ or higher
      A25-15 (FL-) - hA1-2 (FL-) Always Below 1 Ω
      A25-15 (FL-) or hA1-2 (FL-) - Body ground Always 10 kΩ or higher
      Result
      Proceed to
      OK
      NG

    NG
    OK
  8. INSPECT SKID CONTROL ECU ASSEMBLY (SENSOR POWER SUPPLY OUTPUT)


    1. B003YN9C04
      *A for RH
      *B for LH
      *a Front view of skid control sensor wire
      *b

      Front view of wire harness connector

      (to Sensor Side Connector)

      Reconnect the A24 or A25 skid control ECU assembly connector.

    2. Reconnect the Ah1 or hA1 skid control sensor wire connector (for vehicle side connector).

    3. Turn the power switch on (IG).

    4. Measure the voltage according to the value(s) in the table below.

      Standard Voltage
      for RH
      Tester Connection Condition Specified Condition
      h2-2 (FR+) - Body ground Power switch on (IG) 6.7 to 14 V
      for LH
      Tester Connection Condition Specified Condition
      h1-2 (FL+) - Body ground Power switch on (IG) 6.7 to 14 V
      Result
      Proceed to
      OK
      NG

    NG
    OK
  9. RECONFIRM DTC


    1. Turn the power switch off.

    2. Reconnect the h2 or h1 skid control sensor wire connector (for sensor side connector).

    3. Clear the DTCs.

      Click here


      Chassis > ABS/VSC/TRC > Clear DTCs
    4. Turn the power switch off.

    5. Turn the power switch on (READY).

    6. Perform a road test.

    7. Check if the same DTC is output.

      Click here


      Chassis > ABS/VSC/TRC > Trouble Codes
      Result
      Result Proceed to
      DTCs C1464/31 and/or C1465/32 are output. A
      DTCs C1464/31 and C1465/32 are not output. B

      Tech Tips

      If troubleshooting has been carried out according to Problem Symptoms Table, refer back to the table and proceed to the next step.

      Click here


    B
    A
  10. REPLACE FRONT AXLE HUB SUB-ASSEMBLY WITH FRONT SPEED SENSOR


    1. Turn the power switch off.

    2. Replace the front speed sensor rotor (front axle hub sub-assembly) with front speed sensor.

      Click here

      Tech Tips

      The front speed sensor rotor is incorporated into the front axle hub sub-assembly.

      If the front speed sensor rotor needs to be replaced, replace the front axle hub sub-assembly with front speed sensor.

      Note

      Check the speed sensor signal after replacement.

      Click here

      Result
      Proceed to
      NEXT

    NEXT
  11. RECONFIRM DTC


    1. Clear the DTCs.

      Click here


      Chassis > ABS/VSC/TRC > Clear DTCs
    2. Turn the power switch off.

    3. Turn the power switch on (READY).

    4. Perform a road test.

    5. Check if the same DTC is output.

      Click here


      Chassis > ABS/VSC/TRC > Trouble Codes
      Result
      Result Proceed to
      DTCs C1464/31 and/or C1465/32 are output. A
      DTCs C1464/31 and C1465/32 are not output. B

      Tech Tips

      If troubleshooting has been carried out according to Problem Symptoms Table, refer back to the table and proceed to the next step.

      Click here


    A
    B