REAR SUSPENSION MEMBER REMOVAL

CAUTION / NOTICE / HINT

Note

When the brake pedal is first depressed after replacing the brake pads or pushing back the disc brake piston, DTC C1341, C1342, C1343 and/or C1344 may be stored. As there is no malfunction, clear the DTCs.

Tech Tips


  • Use the same procedure for the RH side and LH side.

  • The procedure listed below is for the LH side.

PROCEDURE


  1. REMOVE REAR WHEEL

  2. REMOVE ABS MOTOR RELAY

    for LHD: Click here

    for RHD: Click here

  3. REMOVE REAR NO. 2 FLOOR BOARD SUB-ASSEMBLY (w/ Cover)


    1. B003XOS

      Remove the 5 clips.

    2. Disengage the 5 clamps and remove the rear No. 2 floor board sub-assembly.

  4. REMOVE REAR NO. 1 FLOOR BOARD SUB-ASSEMBLY (w/ Cover)

    Tech Tips

    Perform the same procedure as for the rear No. 2 floor board sub-assembly.

  5. REMOVE FRONT CENTER FLOOR BRACE


    1. B003YIS

      Remove the 6 bolts and 2 nuts.

    2. Disengage the 2 clips and remove the front center floor brace.

  6. REMOVE PROPELLER WITH CENTER BEARING SHAFT ASSEMBLY

    Click here

  7. REMOVE REAR HEIGHT CONTROL SENSOR SUB-ASSEMBLY

    Click here

  8. REMOVE REAR AXLE SHAFT NUT LH

    Click here

  9. REMOVE REAR AXLE SHAFT NUT RH

    Tech Tips

    Perform the same procedure as for the LH side.

  10. SEPARATE REAR DISC BRAKE CALIPER ASSEMBLY LH

    Click here

  11. SEPARATE REAR DISC BRAKE CALIPER ASSEMBLY RH

    Tech Tips

    Perform the same procedure as for the LH side.

  12. REMOVE PARKING BRAKE SHOE ADJUSTING HOLE PLUG


    1. Remove the 2 parking brake shoe adjusting hole plugs.

  13. REMOVE REAR DISC


    1. Remove the 2 rear discs.

      Click here

  14. REMOVE PARKING BRAKE ASSEMBLY (for LH Side)

    Click here

  15. REMOVE PARKING BRAKE ASSEMBLY (for RH Side)

    Tech Tips

    Perform the same procedure as for the LH side.

  16. SEPARATE REAR SPEED SENSOR LH

    Click here

  17. SEPARATE REAR SPEED SENSOR RH

    Tech Tips

    Perform the same procedure as for the LH side.

  18. SEPARATE NO. 3 PARKING BRAKE CABLE ASSEMBLY


    1. B003Y0A

      Remove the 2 bolts and separate the No. 3 parking brake cable assembly from the rear suspension member sub-assembly.

  19. SEPARATE NO. 2 PARKING BRAKE CABLE ASSEMBLY

    Tech Tips

    Perform the same procedure as for the No. 3 parking brake cable assembly.

  20. REMOVE TOE CONTROL LINK SUB-ASSEMBLY LH

    Click here

  21. REMOVE TOE CONTROL LINK SUB-ASSEMBLY RH

    Tech Tips

    Perform the same procedure as for the LH side.

  22. REMOVE REAR NO. 1 SUSPENSION ARM ASSEMBLY LH

    Click here

  23. REMOVE REAR NO. 1 SUSPENSION ARM ASSEMBLY RH

    Tech Tips

    Perform the same procedure as for the LH side.

  24. REMOVE REAR STABILIZER LINK ASSEMBLY LH

    Click here

  25. REMOVE REAR STABILIZER LINK ASSEMBLY RH

    Tech Tips

    Perform the same procedure as for the LH side.

  26. SEPARATE REAR SHOCK ABSORBER ASSEMBLY LH

    Click here

  27. SEPARATE REAR SHOCK ABSORBER ASSEMBLY RH

    Tech Tips

    Perform the same procedure as for the LH side.

  28. REMOVE REAR SUSPENSION MEMBER BRACE LH

    Click here

  29. REMOVE REAR SUSPENSION MEMBER BRACE RH

    Tech Tips

    Perform the same procedure as for the LH side.

  30. REMOVE REAR COIL SPRING LH

    Click here

  31. REMOVE REAR COIL SPRING RH

    Tech Tips

    Perform the same procedure as for the LH side.

  32. REMOVE REAR UPPER COIL SPRING INSULATOR (for LH Side)

    Click here

  33. REMOVE REAR UPPER COIL SPRING INSULATOR (for RH Side)

    Tech Tips

    Perform the same procedure as for the LH side.

  34. REMOVE REAR LOWER COIL SPRING INSULATOR (for LH Side)

    Click here

  35. REMOVE REAR LOWER COIL SPRING INSULATOR (for RH Side)

    Tech Tips

    Perform the same procedure as for the LH side.

  36. REMOVE REAR NO. 2 SUSPENSION ARM ASSEMBLY LH

    Click here

  37. REMOVE REAR NO. 2 SUSPENSION ARM ASSEMBLY RH

    Tech Tips

    Perform the same procedure as for the LH side.

  38. SEPARATE REAR NO. 1 UPPER CONTROL ARM ASSEMBLY (for LH Side)


    1. B003YFX

      Remove the bolt, nut and washer and separate the rear No. 1 upper control arm assembly from the rear axle assembly.

      Note

      Because the bolt has its own stopper, do not turn the bolt. Loosen the nut with the bolt secured.

  39. SEPARATE REAR NO. 1 UPPER CONTROL ARM ASSEMBLY (for RH Side)

    Tech Tips

    Perform the same procedure as for the LH side.

  40. LOOSEN REAR UPPER CONTROL ARM ASSEMBLY LH


    1. B003Y8J

      Remove the bolt and separate the rear speed sensor LH from the rear upper control arm assembly LH.

    2. B003YCI

      Loosen the rear upper control arm assembly LH nut (rear axle assembly side).

      Note


      • Do not remove the bolt and nut.

      • Because the bolt has its own stopper, do not turn the bolt. Loosen the nut with the bolt secured.

  41. LOOSEN REAR UPPER CONTROL ARM ASSEMBLY RH

    Tech Tips

    Perform the same procedure as for the LH side.

  42. REMOVE REAR AXLE ASSEMBLY LH

    Click here

  43. REMOVE REAR AXLE ASSEMBLY RH

    Tech Tips

    Perform the same procedure as for the LH side.

  44. REMOVE REAR DRIVE SHAFT ASSEMBLY LH

    Click here

  45. REMOVE REAR DRIVE SHAFT ASSEMBLY RH

    Tech Tips

    Use the same procedure as for the LH side.

  46. REMOVE REAR DIFFERENTIAL CARRIER ASSEMBLY

    Click here

  47. REMOVE REAR BODY MOUNTING CUSHION SUB-ASSEMBLY LH


    1. B003XYV

      Remove the 3 bolts and rear body mounting cushion sub-assembly LH.

  48. REMOVE REAR BODY MOUNTING CUSHION SUB-ASSEMBLY RH

    Tech Tips

    Perform the same procedure as for the LH side.

  49. REMOVE REAR SUSPENSION MEMBER SUB-ASSEMBLY


    1. B003YQQC03
      *a Engine Lifter
      *b Attachment
      B003YLR Attachment placement location

      Support the rear suspension member sub-assembly with an engine lifter using 4 attachments or equivalent tools as shown in the illustration.

      CAUTION:

      Make sure to secure the rear suspension member sub-assembly to prevent it from dropping.

      Note


      • Use the attachments to keep the rear suspension member sub-assembly level.

      • The rear suspension member sub-assembly is a heavy component. Make sure that it is supported securely.

    2. Remove the 8 bolts, 2 rear suspension member lower stoppers, rear suspension member lower stopper sub-assembly LH and rear suspension member lower stopper sub-assembly RH.

    3. Slowly lower the rear suspension member sub-assembly.

      Note

      When lowering the rear suspension member sub-assembly, be careful not to damage the vehicle body or other components installed on the vehicle.

  50. REMOVE REAR STABILIZER BAR SUB-ASSEMBLY


    1. B003Y8B

      Remove the 4 bolts and rear stabilizer bar sub-assembly with 2 rear No. 1 stabilizer bar brackets from the rear suspension member sub-assembly.

  51. REMOVE REAR NO. 1 UPPER CONTROL ARM ASSEMBLY (for LH Side)

    Click here

  52. REMOVE REAR NO. 1 UPPER CONTROL ARM ASSEMBLY (for RH Side)

    Tech Tips

    Perform the same procedure as for the LH side.

  53. REMOVE REAR UPPER CONTROL ARM ASSEMBLY LH

    Click here

  54. REMOVE REAR UPPER CONTROL ARM ASSEMBLY RH

    Tech Tips

    Perform the same procedure as for the LH side.

  55. REMOVE REAR NO. 1 DIFFERENTIAL MOUNT CUSHION

    Click here

  56. REMOVE REAR NO. 2 DIFFERENTIAL MOUNT CUSHION

    Click here

  57. REMOVE REAR SUSPENSION MEMBER REAR LOWER STOPPER (for LH Side)


    1. B003YEI

      Remove the rear suspension member rear lower stopper from the rear suspension member sub-assembly.

  58. REMOVE REAR SUSPENSION MEMBER REAR LOWER STOPPER (for RH Side)

    Tech Tips

    Perform the same procedure as for the LH side.

  59. REMOVE REAR SUSPENSION MEMBER REAR UPPER STOPPER (for LH Side)


    1. B003YKC

      Remove the rear suspension member rear upper stopper from the rear suspension member sub-assembly.

  60. REMOVE REAR SUSPENSION MEMBER REAR UPPER STOPPER (for RH Side)

    Tech Tips

    Perform the same procedure as for the LH side.

  61. REMOVE REAR SUSPENSION MEMBER FRONT BODY MOUNTING CUSHION (for LH Side)


    1. B003YHX

      Using a chisel and hammer, bend the rear suspension member front body mounting cushion rib.

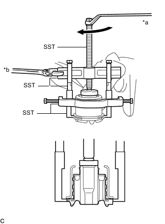
    2. B003XTRC03
      *a Turn
      *b Hold

      Using SST, remove the rear suspension member front body mounting cushion while applying grease into the clearance between the rear suspension member front body mounting cushion and the rear suspension member sub-assembly.

      SST
      09950-40011   ( 09951-04020, 09952-04010, 09953-04030, 09954-04010, 09955-04051, 09957-04010, 09958-04011 )
      09950-60010   ( 09951-00410 )

      Note


      • Apply grease to the threads and tip of the SST center bolt before use.

      • Be careful as the rear suspension member front body mounting cushion may fly out.

      • The rear suspension member front body mounting cushion cannot be reused.

  62. REMOVE REAR SUSPENSION MEMBER FRONT BODY MOUNTING CUSHION (for RH Side)

    Tech Tips

    Perform the same procedure as for the LH side.

  63. REMOVE REAR SUSPENSION MEMBER REAR BODY MOUNTING CUSHION (for LH Side)


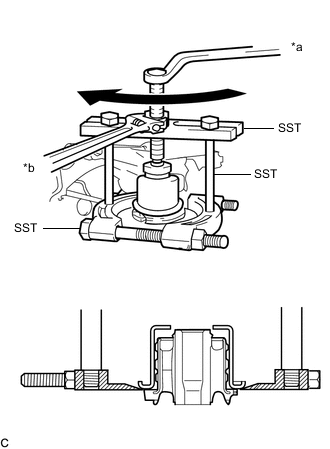
    1. B003XVIC03
      *a Turn
      *b Hold

      Using SST, remove the rear suspension member rear body mounting cushion while applying grease into the clearance between the rear suspension member rear body mounting cushion and the rear suspension member sub-assembly.

      SST
      09950-00020
      09950-00030
      09950-40011   ( 09957-04010 )
      09950-60010   ( 09951-00390 )

      Note


      • Apply grease to the threads and tip of the SST center bolt before use.

      • Be careful as the rear suspension member rear body mounting cushion may fly out.

      • The rear suspension member rear body mounting cushion cannot be reused.

  64. REMOVE REAR SUSPENSION MEMBER REAR BODY MOUNTING CUSHION (for RH Side)

    Tech Tips

    Perform the same procedure as for the LH side.