FRONT SHOCK ABSORBER DISPOSAL

PROCEDURE


  1. DISPOSE OF FRONT SHOCK ABSORBER ASSEMBLY


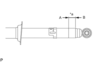
    1. Fully extend the front shock absorber assembly.

    2. A011OCHC02
      *a 30 mm (1.18 in.)

      Using a drill, make a hole in the cylinder between A and B shown in the illustration to discharge the gas inside.

      CAUTION:

      Always use proper safety equipment and be careful when drilling because shards of metal may fly about.

      Tech Tips

      The gas is colorless, odorless and non-poisonous.