FRONT LOWER BALL JOINT INSPECTION

PROCEDURE


  1. INSPECT FRONT LOWER BALL JOINT ASSEMBLY


    1. A011NOO

      Inspect the turning torque of the front lower ball joint.


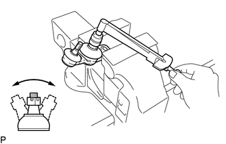
      1. Secure the front lower ball joint assembly in a vise using aluminum plates.

      2. Install the nut to the front lower ball joint stud.

      3. Using a torque wrench, turn the stud continuously at a rate of 3 to 5 seconds per turn and take the torque reading on the 5th turn.

        Turning torque
        0.5 to 6.0 N*m (6 to 61 kgf*cm, 5 to 53 in.*lbf)

        If the turning torque is not within the specified range, replace the front lower ball joint assembly with a new one.

    2. A011MAJ

      Inspect the turning torque of the tie rod ball joint.


      1. Secure the front lower ball joint assembly in a vise using aluminum plates.

      2. Install the nut to the tie rod ball joint stud.

      3. Using a torque wrench, turn the stud continuously at a rate of 2 to 4 seconds per turn and take the torque reading on the 5th turn.

        Turning torque
        0.8 to 4.5 N*m (9 to 45 kgf*cm, 8 to 39 in.*lbf)

        If the turning torque is not within the specified range, replace the front lower ball joint assembly with a new one.

    3. Inspect the dust cover.


      1. Check that the dust cover is not cracked and that there is no grease on it.

        If the dust cover is cracked or there is grease on it, replace the front lower ball joint assembly with a new one.