ADAPTIVE VARIABLE SUSPENSION SYSTEM SYSTEM DIAGRAM

A0022PHE08
A002341E05
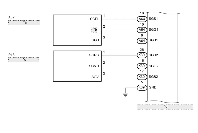
*a Front Acceleration Sensor LH
*b SGG
*c Rear Acceleration Sensor
*d Absorber Control ECU (Built into Front Acceleration Sensor RH)
A0020C4E01