HYBRID BATTERY SYSTEM, Diagnostic DTC:P0A9C-123, P0AC6-123, P0ACB-123, P3065-123

DTC Code DTC Name
P0A9C-123 Hybrid Battery Temperature Sensor "A" Range / Performance
P0AC6-123 Hybrid Battery Temperature Sensor "B" Range / Performance
P0ACB-123 Hybrid Battery Temperature Sensor "C" Range / Performance
P3065-123 Hybrid Battery Temperature Sensor Range/Performance Stuck "A"

DESCRIPTION

Refer to the description for DTC P0A9D-123.

Click here

DTC No. Detection Item DTC Detection Condition Trouble Area MIL Warning Indicate
P0A9C-123 Hybrid Battery Temperature Sensor "A" Range / Performance

The performance of battery temperature sensor 0 is abnormal and its output is stuck.

(2 trip detection logic)


  • HV battery

  • Battery voltage sensor

  • Wire harness or connector

Comes on

Master Warning Light:

Comes on

P0AC6-123 Hybrid Battery Temperature Sensor "B" Range / Performance

The performance of battery temperature sensor 1 is abnormal and its output is stuck.

(2 trip detection logic)


  • HV battery

  • Battery voltage sensor

  • Wire harness or connector

Comes on

Master Warning Light:

Comes on

P0ACB-123 Hybrid Battery Temperature Sensor "C" Range / Performance

The performance of battery temperature sensor 2 is abnormal and its output is stuck.

(2 trip detection logic)


  • HV battery

  • Battery voltage sensor

  • Wire harness or connector

Comes on

Master Warning Light:

Comes on

P3065-123 Hybrid Battery Temperature Sensor Range/Performance Stuck "A"

The performance of any battery temperature sensor is abnormal, the difference in output between it and other battery temperature sensors is excessively large.

(1 trip detection logic)


  • HV battery

  • Battery voltage sensor

  • Wire harness or connector

Comes on

Master Warning Light:

Comes on

Related Data List
DTC No. Data List

  • P0A9C-123

  • P0AC6-123

  • P0ACB-123

  • P3065-123

Temp of Batt TB1 to TB3

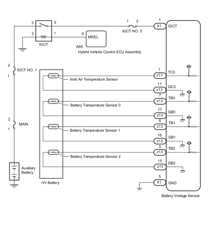
WIRING DIAGRAM

A00212ME03

INSPECTION PROCEDURE

CAUTION:


  • Before inspecting the high-voltage system, take safety precautions such as wearing insulated gloves and removing the service plug grip to prevent electrical shocks. After removing the service plug grip, put it in your pocket to prevent other technicians from accidentally reconnecting it while you are working on the high-voltage system.

  • After removing the service plug grip, wait for at least 10 minutes before touching any of the high-voltage connectors or terminals. After waiting for 10 minutes, check the voltage at the terminals in the inspection point in the inverter with converter assembly. The voltage should be 0 V before beginning work.

    Click here

    Tech Tips

    Waiting for at least 10 minutes is required to discharge the high-voltage capacitor inside the inverter with converter assembly.

  • When disposing of an HV battery, make sure to return it through an authorized collection agent who is capable of handling it safely. If the HV battery is returned via the manufacturer specified route, it will be returned properly and in a safe manner by an authorized collection agent.

Note

After turning the power switch off, waiting time may be required before disconnecting the cable from the negative (-) auxiliary battery terminal. Therefore, make sure to read the disconnecting the cable from the negative (-) auxiliary battery terminal notices before proceeding with work.

Click here

Tech Tips


  • If DTC P0A9C-123, P0AC6-123 or P0ACB-123 is output, clear the DTCs, perform the following procedure, and check that the same DTC (including pending DTC) is not output after the repair.


    1. Drive the vehicle for approximately 10 minutes according to the freeze frame data items "Vehicle Spd" , "Accelerator Degree" , "Temp of Batt TB1 to TB3" and "Power Resource IB" .


      1. Check that the difference in output between each battery temperature sensor is not excessively large.

      2. Check that the output of each battery temperature sensor varies.

  • If DTC P3065-123 is output, clear the DTCs, perform the following procedure, and check that the same DTC is not output after the repair.


    1. Turn the power switch on (IG) and wait for 10 seconds or more.


      • Check that the difference in output between each battery temperature sensor is not excessively large.

PROCEDURE


  1. CHECK DTC OUTPUT (HYBRID CONTROL)

    Result
    Result Proceed to
    P0AFC-123 is not output. A
    P0AFC-123 is also output. B

    1. Connect the GTS to the DLC3.

    2. Turn the power switch on (IG).

    3. Enter the following menus: Powertrain / Hybrid Control / Trouble Codes.

    4. Read output DTCs.


      Powertrain > Hybrid Control > Trouble Codes
    5. Turn the power switch off.

      Result
      Result Proceed to
      P0AFC-123 is not output. A
      P0AFC-123 is also output. B

    B
    A
  2. READ VALUE USING GTS (Temp of Batt)

    Result
    Proceed to
    NEXT

    1. Connect the GTS to the DLC3.

    2. Turn the power switch on (IG).

    3. Enter the following menus: Powertrain / Hybrid Control / Data List

    4. Read the Data List.


      Powertrain > Hybrid Control > Data List
      Tester Display Measurement Item Range Reference Value Diagnostic Note
      Temp of Batt TB1 HV battery temperature sensor output. -75 to 155°C (-103 to 311°F) Same as ambient temperature (left as is for 24 hours)
      • Battery temperature sensor

      • Battery voltage sensor

      Temp of Batt TB2 HV battery temperature sensor output. -75 to 155°C (-103 to 311°F) Same as ambient temperature (left as is for 24 hours)
      • Battery temperature sensor

      • Battery voltage sensor

      Temp of Batt TB3 HV battery temperature sensor output. -75 to 155°C (-103 to 311°F) Same as ambient temperature (left as is for 24 hours)
      • Battery temperature sensor

      • Battery voltage sensor

      Tech Tips

      A malfunctioning sensor (battery temperature sensor 0, 1 or 2) can be determined by comparing the output temperature of the 3 battery temperature sensors.

    5. Turn the power switch off.

      Result
      Proceed to
      NEXT

    NEXT
  3. CHECK HV BATTERY (BATTERY TEMPERATURE SENSOR)

    CAUTION:

    Be sure to wear insulated gloves.


    1. Check that the service plug grip is not installed.

      Note

      After removing the service plug grip, do not turn the power switch on (READY), unless instructed by the repair manual because this may cause a malfunction.

    2. Remove the upper hybrid battery cover sub-assembly.

      Click here

    3. Disconnect the z13 battery voltage sensor connectors.

    4. A00214PC11
      *a

      Rear view of wire harness connector

      (to Battery Voltage Sensor)

      Measure the resistance of the circuit for the malfunctioning sensor.

      Tester Connection
      Tester Connection Battery Temperature Sensor No.
      z13-7 (TB0) - z13-17 (GB0) 0
      z13-6 (TB1) - z13-16 (GB1) 1
      z13-5 (TB2) - z13-15 (GB2) 2
      Standard Resistance
      Thermistor Temperature Condition Specified Condition
      0°C (32°F) Power switch off 26.7 to 27.8 kΩ
      25°C (77°F) Power switch off 9.9 to 10.1 kΩ
      40°C (104°F) Power switch off 5.73 to 5.92 kΩ
    5. Disconnect the k1 battery voltage sensor connectors.

    6. A0020CRC18
      *a

      Rear view of wire harness connector

      (to Battery Voltage Sensor)

      Measure the resistance according to the value(s) in the table below.

      Standard Resistance
      Tester Connection Condition Specified Condition
      z13-7 (TB0) - k1-1 (IGCT) Power switch off 10 kΩ or higher
      z13-7 (TB0) - k1-5 (GND) Power switch off 10 kΩ or higher
      z13-17 (GB0) - k1-1(IGCT) Power switch off 10 kΩ or higher
      z13-17 (GB0) - k1-5 (GND) Power switch off 10 kΩ or higher
      z13-6 (TB1) - k1-1 (IGCT) Power switch off 10 kΩ or higher
      z13-6 (TB1) - k1-5 (GND) Power switch off 10 kΩ or higher
      z13-16 (GB1) - k1-1 (IGCT) Power switch off 10 kΩ or higher
      z13-16 (GB1) - k1-5 (GND) Power switch off 10 kΩ or higher
      z13-5 (TB2) - k1-1 (IGCT) Power switch off 10 kΩ or higher
      z13-5 (TB2) - k1-5 (GND) Power switch off 10 kΩ or higher
      z13-15 (GB2) - k1-1 (IGCT) Power switch off 10 kΩ or higher
      z13-15 (GB2) - k1-5 (GND) Power switch off 10 kΩ or higher
      z13-1 (TC0) - k1-1 (IGCT) Power switch off 10 kΩ or higher
      z13-1 (TC0) - k1-5 (GND) Power switch off 10 kΩ or higher
      z13-11 (GC0) - k1-1 (IGCT) Power switch off 10 kΩ or higher
      z13-11 (GC0) - k1-5 (GND) Power switch off 10 kΩ or higher
    7. Reconnect the z13 and k1 battery voltage sensor connectors.

    8. Install the upper hybrid battery cover sub-assembly.

      Result
      Proceed to
      OK
      NG

    OK
    NG
  4. CHECK HARNESS AND CONNECTOR (BATTERY TEMPERATURE SENSOR)

    CAUTION:

    Be sure to wear insulated gloves and protective goggles.


    1. Check that the service plug grip is not installed.

      Note

      After removing the service plug grip, do not turn the power switch on (READY), unless instructed by the repair manual because this may cause a malfunction.

    2. Remove the upper hybrid battery cover sub-assembly.

      Click here

    3. Check the wire harness and connectors of the battery temperature sensor for abnormalities by sight and touch.

      Specified Condition
      There are no open or short circuits in the wire harness and connectors. There are no short circuits to other wire harnesses.

      Tech Tips

      Because the battery harness is not available as a supply part, if the harness cannot be repaired, replace the HV battery.

    4. Install the upper hybrid battery cover sub-assembly.

      Result
      Proceed to
      OK
      NG

    OK
    NG