BLOCKING SYSTEM Engine does not Start

DESCRIPTION


WIRING DIAGRAM

B003W6WE03

CAUTION / NOTICE / HINT

Note


  • Inspect the fuses for circuits related to this system before performing the following procedure.

  • When replacing the telephone transceiver assembly or ID code box (immobiliser code ECU), refer to Service Bulletin.

  • When the telephone transceiver assembly is replaced, it is necessary to set the contract mode.

PROCEDURE


  1. CHECK FOR DTC


    1. Clear the DTCs.

      Click here


      Powertrain > Engine > Clear DTCs
      Body Electrical > Entry&Start > Clear DTCs
      Body Electrical > Telematics > Clear DTCs
    2. Turn the engine switch off.

    3. Turn the engine switch on (IG).

    4. After 10 seconds have elapsed, check for DTCs.

      Click here


      Powertrain > Engine > Trouble Codes
      Body Electrical > Entry&Start > Trouble Codes
      Body Electrical > Telematics > Trouble Codes
      Result
      Result Proceed to
      DTCs are not output. A
      SFI system DTCs are output. B
      Immobiliser system DTCs are output. C
      Entry and start system (for Start Function) DTCs are output. D
      Blocking system DTCs are output. E

    B
    C
    D
    E
    A
  2. CHECK WHETHER ENGINE STARTS


    1. Check that the engine starts normally.

      OK
      Engine starts normally.
      Result
      Proceed to
      OK
      NG

    OK
    NG
  3. CHECK BLOCKING SYSTEM SETTING


    1. Check the blocking system setting.

      Tech Tips

      Check with the customer's contracted service provider to determine whether the blocking system is set.

      Result
      Result Proceed to
      Blocking system is unset. A
      Blocking system is set. B

    B
    A
  4. CHECK SECURITY INDICATOR LIGHT (IMMOBILISER SYSTEM UNSET)


    1. Get into the vehicle while carrying an electrical key transmitter sub-assembly.

    2. Press the engine switch with the brake pedal released and check that the security indicator light changes from blinking to off at the same time the power source mode changes to on (ACC).

      OK
      The security indicator light changes from blinking to off at the same time the power source mode changes to on (ACC).

      Tech Tips

      The immobiliser function can be determined as operating correctly if the security indicator light changes from blinking to off at the same time that the power source mode changes to on (ACC).

      Result
      Proceed to
      OK
      NG

    NG
    OK
  5. CHECK WHETHER ENGINE STARTS


    1. Turn the engine switch on (IG).

    2. After 5 seconds have elapsed, start the engine.

      OK
      Engine starts normally.
      Result
      Proceed to
      OK
      NG

    OK
    NG
  6. CHECK TELEPHONE TRANSCEIVER ASSEMBLY


    1. Using an oscilloscope, check the waveform.

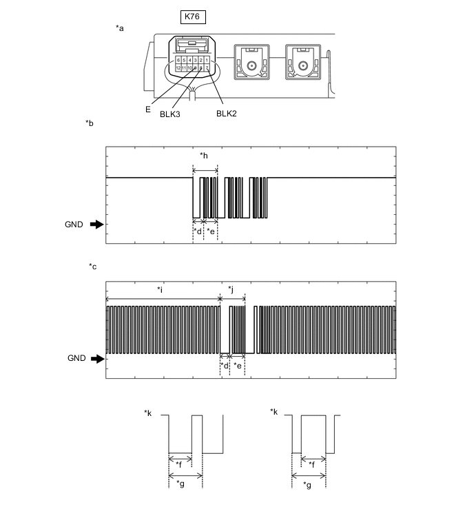
      B003W7JC03
      *a

      Component with harness connected

      (Telephone Transceiver Assembly)

      *b Waveform 1
      *c Waveform 2 *d Approximately 160 ms
      *e Approximately 270 ms *f Approximately 40 ms
      *g Approximately 60 ms *h Waveform D
      *i Waveform A *j Waveform E
      *k Details of Waveform A - -
      Tester Connection Condition Tool Setting Specified Condition
      K76-1 (BLK1) - K76-9 (E) Check the waveform when the engine is started or the moment the engine switch is turned on (IG) after the cable has been disconnected and reconnected to the negative (-) battery terminal. 2 V/DIV., 500 ms./DIV. Pulse generation (See waveform 1)
      K76-2 (BLK4) - K76-9 (E) Check the waveform when the engine is started or the moment the engine switch is turned on (IG) after the cable has been disconnected and reconnected to the negative (-) battery terminal. 2 V/DIV., 500 ms./DIV. Pulse generation (See waveform 2)
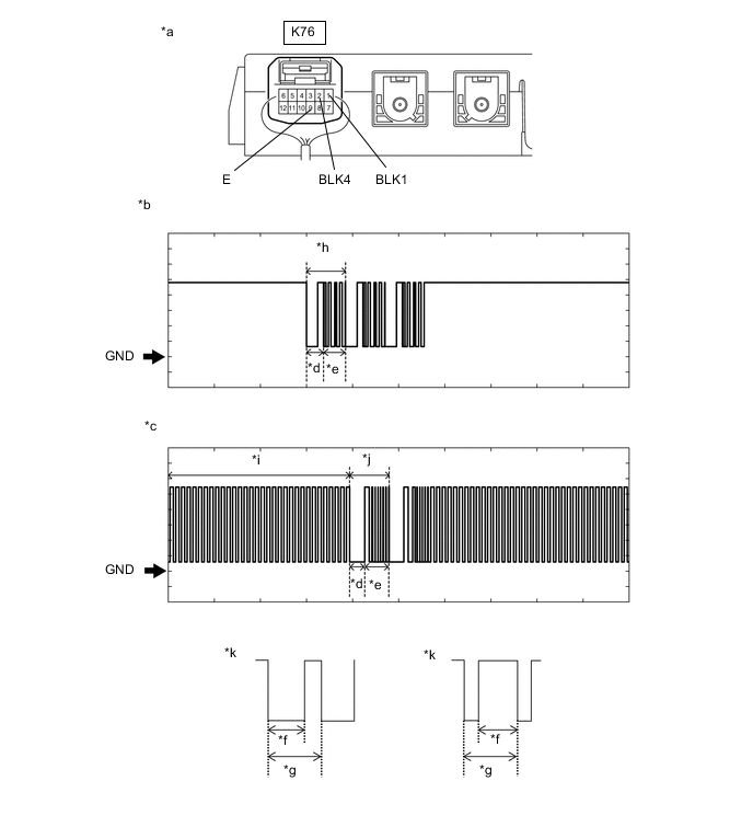
      B003W7JC04
      *a

      Component with harness connected

      (Telephone Transceiver Assembly)

      *b Waveform 1
      *c Waveform 2 *d Approximately 160 ms
      *e Approximately 270 ms *f Approximately 40 ms
      *g Approximately 60 ms *h Waveform C
      *i Waveform B *j Waveform F
      *k Details of Waveform B - -
      Tester Connection Condition Tool Setting Specified Condition
      K76-7 (BLK2) - K76-9 (E) Check the waveform when the engine is started or the moment the engine switch is turned on (IG) after the cable has been disconnected and reconnected to the negative (-) battery terminal. 2 V/DIV., 500 ms./DIV. Pulse generation (See waveform 1)
      K76-8 (BLK3) - K76-9 (E) Check the waveform when the engine is started or the moment the engine switch is turned on (IG) after the cable has been disconnected and reconnected to the negative (-) battery terminal. 2 V/DIV., 500 ms./DIV. Pulse generation (See waveform 2)

      Note


      • The waveform shown in the illustration is an example for reference only. Noise, chattering, etc. are not shown.

      • Check if the waveforms are output in alphabetical order. If they are not, proceed to the step indicated for the incorrect waveform.

      OK
      The waveforms are output normally (refer to illustration).
      Result
      Result Proceed to
      OK A
      NG (Waveform A or E is abnormal) B
      NG (Waveform B or F is abnormal) C
      NG (Waveform C is abnormal) D
      NG (Waveform D is abnormal) E

    B
    C
    D
    E
    A
  7. REREGISTRATION


    1. Reregister the communication ID.

      Tech Tips

      Refer to Service Bulletin.

      Result
      Proceed to
      NEXT

    NEXT
  8. CHECK WHETHER ENGINE STARTS


    1. Check if the problem symptom occurs when the engine is started using a registered key.

      OK
      Engine starts normally.
      Result
      Proceed to
      OK
      NG

    OK
    NG
  9. CHECK HARNESS AND CONNECTOR (TELEPHONE TRANSCEIVER ASSEMBLY - ID CODE BOX (IMMOBILISER CODE ECU))


    1. Disconnect the K76 telephone transceiver assembly connector.

    2. Disconnect the K83 ID code box (immobiliser code ECU) connector.

    3. Measure the resistance according to the value(s) in the table below.

      Standard Resistance
      Tester Connection Condition Specified Condition
      K76-2 (BLK4) - K83-4 (EFIO) Always Below 1 Ω
      K76-2 (BLK4) - Body ground Always 10 kΩ or higher
      K83-4 (EFIO) - Body ground Always 10 kΩ or higher
      Result
      Proceed to
      OK
      NG

    NG
    OK
  10. REPLACE ID CODE BOX (IMMOBILISER CODE ECU)


    1. Temporarily replace the ID code box (immobiliser code ECU) with a new one.

      Tech Tips

      Refer to Service Bulletin.

      Result
      Proceed to
      NEXT

    NEXT
  11. PERFORM REGISTRATION


    1. Perform registration.

      Tech Tips

      Refer to Service Bulletin.

      Result
      Proceed to
      NEXT

    NEXT
  12. CHECK WHETHER ENGINE STARTS


    1. Check that the engine starts normally.

      OK
      Engine starts normally.
      Result
      Proceed to
      OK
      NG

    OK
    NG
  13. CHECK HARNESS AND CONNECTOR (TELEPHONE TRANSCEIVER ASSEMBLY - ECM)


    1. Disconnect the K76 telephone transceiver assembly connector.

    2. Disconnect the A77 ECM connector.

    3. Measure the resistance according to the value(s) in the table below.

      Standard Resistance
      Tester Connection Condition Specified Condition
      K76-8 (BLK3) - A77-31 (IMI) Always Below 1 Ω
      K76-8 (BLK3) - Body ground Always 10 kΩ or higher
      A77-31 (IMI) - Body ground Always 10 kΩ or higher
      Result
      Proceed to
      OK
      NG

    NG
    OK
  14. REPLACE TELEPHONE TRANSCEIVER ASSEMBLY


    1. Temporarily replace the telephone transceiver assembly with a new one.

      Tech Tips

      Refer to Service Bulletin.

      Result
      Proceed to
      NEXT

    NEXT
  15. PERFORM REGISTRATION


    1. Perform registration.

      Tech Tips

      Refer to Service Bulletin.

      Result
      Proceed to
      NEXT

    NEXT
  16. CHECK WHETHER ENGINE STARTS


    1. Check that the engine starts normally.

      OK
      Engine starts normally.
      Result
      Proceed to
      OK
      NG

    OK
    NG
  17. REPLACE ECM


    1. Temporarily replace the ECM with a new one.

      Click here

      Tech Tips

      Refer to Service Bulletin.

      Result
      Proceed to
      NEXT

    NEXT
  18. CHECK FOR DTC


    1. Clear the DTCs.

      Click here


      Powertrain > Engine > Clear DTCs
      Body Electrical > Entry&Start > Clear DTCs
      Body Electrical > Telematics > Clear DTCs
    2. Turn the engine switch off.

    3. Turn the engine switch on (IG).

    4. After 10 seconds have elapsed, check for DTCs.

      Click here


      Powertrain > Engine > Trouble Codes
      Body Electrical > Entry&Start > Trouble Codes
      Body Electrical > Telematics > Trouble Codes
      Result
      Result Proceed to
      DTCs are not output. A
      SFI system DTCs are output. B
      Immobiliser system DTCs are output. C
      Entry and start system (for Start Function) DTCs are output. D
      Blocking system DTCs are output. E

    A
    B
    C
    D
    E
  19. CHECK HARNESS AND CONNECTOR (TELEPHONE TRANSCEIVER ASSEMBLY - ECM)


    1. Disconnect the K76 telephone transceiver assembly connector.

    2. Disconnect the A77 ECM connector.

    3. Measure the resistance according to the value(s) in the table below.

      Standard Resistance
      Tester Connection Condition Specified Condition
      K76-7 (BLK2) - A77-30 (IMO) Always Below 1 Ω
      K76-7 (BLK2) - Body ground Always 10 kΩ or higher
      A77-30 (IMO) - Body ground Always 10 kΩ or higher
      Result
      Proceed to
      OK
      NG

    NG
    OK
  20. REPLACE ECM


    1. Temporarily replace the ECM with a new one.

      Click here

      Tech Tips

      Refer to Service Bulletin.

      Result
      Proceed to
      NEXT

    NEXT
  21. CHECK FOR DTC


    1. Clear the DTCs.

      Click here


      Powertrain > Engine > Clear DTCs
      Body Electrical > Entry&Start > Clear DTCs
      Body Electrical > Telematics > Clear DTCs
    2. Turn the engine switch off.

    3. Turn the engine switch on (IG).

    4. After 10 seconds have elapsed, check for DTCs.

      Click here


      Powertrain > Engine > Trouble Codes
      Body Electrical > Entry&Start > Trouble Codes
      Body Electrical > Telematics > Trouble Codes
      Result
      Result Proceed to
      DTCs are not output. A
      SFI system DTCs are output. B
      Immobiliser system DTCs are output. C
      Entry and start system (for Start Function) DTCs are output. D
      Blocking system DTCs are output. E

    B
    C
    D
    E
    A
  22. CHECK WHETHER ENGINE STARTS


    1. Check that the engine starts normally.

      OK
      Engine starts normally.
      Result
      Proceed to
      OK
      NG

    OK
    NG
  23. CHECK HARNESS AND CONNECTOR (TELEPHONE TRANSCEIVER ASSEMBLY - ID CODE BOX (IMMOBILISER CODE ECU)


    1. Disconnect the K76 telephone transceiver assembly connector.

    2. Disconnect the K83 ID code box (immobiliser code ECU) connector.

    3. Measure the resistance according to the value(s) in the table below.

      Standard Resistance
      Tester Connection Condition Specified Condition
      K76-1 (BLK1) - K83-3 (EFII) Always Below 1 Ω
      K76-1 (BLK1) - Body ground Always 10 kΩ or higher
      K83-3 (EFII) - Body ground Always 10 kΩ or higher
      Result
      Proceed to
      OK
      NG

    NG
    OK
  24. REPLACE TELEPHONE TRANSCEIVER ASSEMBLY


    1. Temporarily replace the telephone transceiver assembly with a new one.

      Tech Tips

      Refer to Service Bulletin.

      Result
      Proceed to
      NEXT

    NEXT
  25. PERFORM REGISTRATION


    1. Perform registration.

      Tech Tips

      Refer to Service Bulletin.

      Result
      Proceed to
      NEXT

    NEXT
  26. CHECK WHETHER ENGINE STARTS


    1. Check that the engine starts normally.

      OK
      Engine starts normally.
      Result
      Proceed to
      OK
      NG

    OK
    NG