ЗАДНЕЕ СИДЕНЬЕ В СБОРЕ (с правой стороны) РАЗБОРКА

ПРЕДОСТЕРЕЖЕНИЕ / ПРИМЕЧАНИЕ / УКАЗАНИЕ

CAUTION:

Работайте в защитных перчатках. Будьте осторожны, не порежьтесь об острые кромки рамы спинки сиденья, рамы подушки сиденья и регулятора угла наклона.

ПОРЯДОК ВЫПОЛНЕНИЯ


  1. СНИМИТЕ ПОДГОЛОВНИК ЗАДНЕГО СИДЕНЬЯ В СБОРЕ


    1. Снимите подголовник заднего сиденья в сборе.

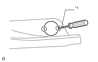
  2. СНИМИТЕ КРЫШКУ ОБИВКИ ПРАВОГО ЗАДНЕГО СИДЕНЬЯ


    1. A01QREPC01
      *1 Защитная клейкая лента

      С помощью отвертки освободите 3 захвата и снимите крышку обивки правого заднего сиденья.

      Tech Tips

      Конец отвертки перед использованием следует изолировать защитной клейкой лентой.

  3. СНИМИТЕ РУЧКУ ОТПУСКАНИЯ ПРАВОГО РЕГУЛЯТОРА НАКЛОНА


    1. A01QOGX

      Выверните 3 винта и снимите ручку разблокировки механизма наклона спинки правого сиденья.

  4. СНИМИТЕ НАКЛАДКУ ПЕТЛИ ПОДУШКИ ЗАДНЕГО СИДЕНЬЯ № 1


    1. A01QQY0

      Расцепите 4 захвата и направляющую и снимите накладку петли подушки заднего сиденья № 1.

  5. СНИМИТЕ НАКЛАДКУ ПЕТЛИ ПОДУШКИ ЗАДНЕГО СИДЕНЬЯ № 2


    1. A01QSL9

      Расцепите 4 захвата и направляющую и снимите накладку петли подушки заднего сиденья № 2.

  6. СНИМИТЕ ОБИВКУ ПОДУШКИ ЗАДНЕГО РАЗДЕЛЬНОГО СИДЕНЬЯ ВМЕСТЕ С ПОДУШКОЙ


    1. A01QRQZ

      Для моделей с системой подогрева сидений:


      1. Отсоедините разъем.

      2. Освободите 4 зажима, чтобы отсоединить жгут проводов.

    2. A01QRGM

      Отцепите 18 креплений.

    3. A01QUJ9

      Освободите 3 витковых пружины и снимите обивку подушки раздельного сиденья с подушкой с рамы подушки правого заднего сиденья в сборе.

  7. СНИМИТЕ ОБИВКУ ПОДУШКИ РАЗДЕЛЬНОГО ЗАДНЕГО СИДЕНЬЯ


    1. A01QOL1

      Снимите витковую пружину.

    2. A01QPRH

      Освободите 13 витковых пружин и снимите обивку подушки правого заднего сиденья с подушки правого заднего раздельного сиденья.

  8. СНИМИТЕ ПОДОГРЕВАТЕЛЬ ПОДУШКИ ПРАВОГО ЗАДНЕГО СИДЕНЬЯ В СБОРЕ (для моделей с системой подогрева сидений)

    Нажмите здесь Click here

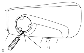
  9. СНИМИТЕ ОБИВКУ СПИНКИ ЗАДНЕГО СИДЕНЬЯ


    1. A01QPRUC01
      *1 Защитная клейкая лента

      С помощью отвертки расцепите 2 захвата и снимите обивку спинки заднего сиденья.

      Tech Tips

      Конец отвертки перед использованием следует изолировать защитной клейкой лентой.

  10. СНИМИТЕ КАРКАС ПОДУШКИ ПРАВОГО ЗАДНЕГО СИДЕНЬЯ В СБОРЕ


    1. Отсоедините зажим троса.

      A01QP09C01
      *1 Зажим троса *2 Наконечник троса
      *3 Хомут - -
    2. Отсоедините конец троса в порядке, указанном на рисунке.

    3. Снимите 3 зажима, чтобы отсоединить трос управления регулятором сиденья № 2 в сборе от рамы подушки правого заднего сиденья в сборе.

    4. A01QS40

      Выверните 4 болта, извлеките 4 втулки и снимите раму подушки правого заднего сиденья в сборе.

  11. СНИМИТЕ ОБИВКУ СПИНКИ ПРАВОГО ЗАДНЕГО СИДЕНЬЯ


    1. A01QOEO

      для моделей без направляющей системы фиксации детских кресел:


      1. Освободите фиксатор и выверните винт.

      2. С помощью отвертки расцепите захват и снимите обивку спинки правого заднего сиденья.

        Tech Tips

        Конец отвертки перед использованием следует изолировать защитной клейкой лентой.

    2. A01QQK9

      Для моделей с направляющей системы фиксации детских кресел:


      1. Выверните винт.

      2. Расцепите 4 захвата, чтобы снять обивку спинки правого заднего сиденья.

  12. СНИМИТЕ ОБИВКУ ЗАДНЕГО СИДЕНЬЯ


    1. A01QRFA

      для моделей без направляющей системы фиксации детских кресел:


      1. Освободите фиксатор и выверните винт.

      2. С помощью отвертки расцепите захват и снимите обивку заднего сиденья.

        Tech Tips

        Конец отвертки перед использованием следует изолировать защитной клейкой лентой.

    2. A01QQIA

      Для моделей с направляющей системы фиксации детских кресел:


      1. Выверните винт.

      2. Расцепите 4 захвата, чтобы снять обивку заднего сиденья.

  13. СНИМИТЕ ПЕТЛЮ СПИНКИ ЛЕВОГО ЗАДНЕГО СИДЕНЬЯ В СБОРЕ (для моделей с направляющей системы фиксации детских кресел)


    1. A01QTLWC01
      *1 Защитная клейкая лента

      С помощью отвертки расцепите 2 захвата и снимите петлю спинки левого заднего сиденья в сборе.

      Tech Tips

      Конец отвертки перед использованием следует изолировать защитной клейкой лентой.

  14. СНИМИТЕ ПЕТЛЮ СПИНКИ ПРАВОГО ЗАДНЕГО СИДЕНЬЯ В СБОРЕ (для моделей с направляющей системы фиксации детских кресел)


    1. A01QT8IC01
      *1 Защитная клейкая лента

      С помощью отвертки расцепите 2 захвата и снимите петлю спинки правого заднего сиденья в сборе.

      Tech Tips

      Конец отвертки перед использованием следует изолировать защитной клейкой лентой.

  15. СНИМИТЕ МОЛДИНГ ПОДУШКИ ПРАВОГО ЗАДНЕГО СИДЕНЬЯ


    1. A01QOZ9

      С помощью отвертки освободите захвата и 2 направляющие, чтобы снять молдинг подушки правого заднего сиденья.

  16. СНИМИТЕ ЗАДНИЙ МОЛДИНГ ПОДУШКИ ПРАВОГО ЗАДНЕГО СИДЕНЬЯ


    1. A01QSYQC01
      *1 Зажим
      *2 Направляющая

      для моделей с системой предупреждения о непристегнутых ремнях безопасности сидений:

      Освободите 2 зажима, чтобы отсоединить жгут проводов.

    2. Освободите захват и направляющую, чтобы снять задний молдинг подушки правого заднего сиденья.

  17. СНИМИТЕ ТРОС УПРАВЛЕНИЯ РЕГУЛЯТОРОМ СИДЕНЬЯ № 2


    1. A01QOD9C01
      *1 Зажим троса А
      *2 Наконечник троса
      *3 Зажим
      *4 Зажим троса В

      Расцепите 2 зажима троса (A).

    2. Отсоедините 2 конца троса в порядке, указанном на рисунке.

    3. Снимите 2 зажима.

    4. Расцепите зажим троса (В).

    5. Пропустите трос управления регулятором сиденья № 2 в сборе через отверстие регулятор наклона правого заднего сиденья в сборе, чтобы снять трос управления регулятором сиденья № 2 в сборе.

  18. СНИМИТЕ ПРАВЫЙ ЦЕНТРАЛЬНЫЙ ПОЯСНОЙ РЕМЕНЬ БЕЗОПАСНОСТИ ЗАДНЕГО СИДЕНЬЯ В СБОРЕ

    Нажмите здесь Click here

  19. СНИМИТЕ ЗАМОК РЕМНЯ БЕЗОПАСНОСТИ ПРАВОГО ЗАДНЕГО СИДЕНЬЯ В СБОРЕ

    Нажмите здесь Click here

  20. СНИМИТЕ СПИНКУ ПРАВОГО СИДЕНЬЯ № 1 В СБОРЕ


    1. A01QQO0

      Выверните 2 болта и снимите спинку правого сиденья № 1 в сборе с регулятора наклона правого заднего сиденья.

  21. СНИМИТЕ ПАНЕЛЬ СПИНКИ ПРАВОГО ЗАДНЕГО СИДЕНЬЯ


    1. A01QSXA

      Снимите 4 витковых пружины.

    2. A01QPOJ

      Откройте 2 застежки.

    3. A01QRRZ

      Освободите 5 захватов.

    4. Переместите панель спинки правого заднего сиденья в направлении, указанном на рисунке стрелкой, чтобы расцепить направляющую и снять панель спинки правого заднего сиденья в сборе.

  22. СНИМИТЕ ОБИВКУ СПИНКИ РАЗДЕЛЬНОГО ЗАДНЕГО СИДЕНЬЯ С ПОДУШКОЙ


    1. A01QRUC

      Отцепите 6 креплений.

    2. A01QTMO

      Освободите 4 захвата и снимите 2 держателя подголовника заднего сиденья.

    3. Снимите обивку спинки раздельного заднего сиденья с подушкой с рамы спинки правого заднего сиденья в сборе.

  23. СНИМИТЕ ОБИВКУ СПИНКИ РАЗДЕЛЬНОГО ЗАДНЕГО СИДЕНЬЯ


    1. A01QRHD

      Снимите 2 витковых пружин.

    2. A01QQL7

      Сняв 11 витковых пружин, отделите обивку спинки правого заднего раздельного сиденья от подушки сиденья.

  24. СНИМИТЕ ПОДОГРЕВАТЕЛЬ СПИНКИ ПРАВОГО ЗАДНЕГО СИДЕНЬЯ В СБОРЕ (для моделей с системой подогрева сидений)

    Нажмите здесь Click here