ЗАМОК ПЕРЕДНЕЙ ДВЕРИ ПРОВЕРКА

ПОРЯДОК ВЫПОЛНЕНИЯ


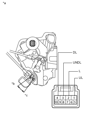
  1. ПРОВЕРЬТЕ ЗАМОК ЛЕВОЙ ПЕРЕДНЕЙ ДВЕРИ С ЭЛЕКТРОДВИГАТЕЛЕМ В СБОРЕ (для моделей без системы двойной блокировки)


    1. A00YRFOC12
      *a

      Устройство с неподсоединенным жгутом проводов

      (Замок левой передней двери с электродвигателем в сборе)

      *b Разблокировано
      *c Заблокировано

      Проверьте работу электродвигателя замка передней двери.


      1. Подайте напряжение аккумуляторной батареи и проверьте работу электродвигателя замка передней двери.

        OK
        Условия измерений Заданные условия

        Положительный (+) вывод аккумуляторной батареи → 4 (L)

        Отрицательный (-) вывод аккумуляторной батареи → 1 (UL)

        Блокирует

        Положительный (+) вывод аккумуляторной батареи → 1 (UL)

        Отрицательный (-) вывод аккумуляторной батареи → 4 (L)

        Разблокирует

        Если результат проверки не отвечает требованиям, замените электродвигатель замка левой передней двери в сборе.

    2. A00YRFOC13
      *a

      Устройство с неподсоединенным жгутом проводов

      (Замок левой передней двери с электродвигателем в сборе)

      *b Разблокировано
      *c Заблокировано

      Проверьте работу датчика разблокировки двери (для моделей с системой посадки и запуска или с противоугонной системой).


      1. Измерьте сопротивление в соответствии со значениями, приведенными в таблице ниже.

        Номинальное сопротивление
        Подключение диагностического прибора Условие Заданные условия
        7 (E) - 8 (LSSR) Заблокировано 10 кОм или более
        Разблокировано Менее 1 Ом

        Если результат проверки не отвечает требованиям, замените электродвигатель замка левой передней двери в сборе.

    3. A00YWI1C06
      *a

      Устройство с неподсоединенным жгутом проводов

      (Замок левой передней двери с электродвигателем в сборе)

      *b Разблокировано
      *c Заблокировано

      Проверьте работу переключателя под ключ открывания/закрывания двери (для моделей с левосторонним рулевым управлением).


      1. Измерьте сопротивление в соответствии со значениями, приведенными в таблице ниже.

        Номинальное сопротивление
        Подключение диагностического прибора Условие Заданные условия
        9 (L) - 7 (E) Удерживается со стороны блокировки Менее 1 Ом
        9 (L) - 7 (E) В нейтральном положении или удерживается со стороны разблокировки 10 кОм или более
        10 (UL) - 7 (E) Удерживается со стороны разблокировки Менее 1 Ом
        10 (UL) - 7 (E) В нейтральном положении или удерживается со стороны блокировки 10 кОм или более

        Если результат проверки не отвечает требованиям, замените электродвигатель замка левой передней двери в сборе.

  2. ПРОВЕРЬТЕ ЗАМОК ЛЕВОЙ ПЕРЕДНЕЙ ДВЕРИ С ЭЛЕКТРОДВИГАТЕЛЕМ В СБОРЕ (для моделей с системой двойной блокировки)


    1. A00YVDUC03
      *a

      Устройство с неподсоединенным жгутом проводов

      (Замок левой передней двери с электродвигателем в сборе)

      *b Разблокировано
      *c Блокируют двери

      Проверьте работу электродвигателя замка передней двери.


      1. Подайте напряжение аккумуляторной батареи и проверьте работу электродвигателя замка передней двери и электродвигателя двойной блокировки.

        OK
        Условия измерений Заданные условия

        Положительный (+) вывод аккумуляторной батареи → 4 (L)

        Отрицательный (-) вывод аккумуляторной батареи → 3 (UL)

        Блокирует

        Положительный (+) вывод аккумуляторной батареи → 3 (UL)

        Отрицательный (-) вывод аккумуляторной батареи → 4 (L)

        Разблокирует

        Положительный (+) вывод аккумуляторной батареи → 2 (DL)

        Отрицательный (-) вывод аккумуляторной батареи → 1 (UNDL)

        Устанавливает

        Положительный (+) вывод аккумуляторной батареи → 1 (UNDL)

        Отрицательный (-) вывод аккумуляторной батареи → 2 (DL)

        Снимает

        Tech Tips


        • Переведите электродвигатель замка двери в положение блокировки и приведите в действие систему двойной блокировки. Убедитесь в том, что двери невозможно разблокировать с помощью троса управления.

        • Переведите электродвигатель замка двери в положение блокировки и верните систему двойной блокировки в исходное состояние. Убедитесь в том, что двери можно разблокировать с помощью троса управления.

        Если результат проверки не отвечает требованиям, замените электродвигатель замка левой передней двери в сборе.

    2. A00YVDUC04
      *a

      Устройство с неподсоединенным жгутом проводов

      (Замок левой передней двери с электродвигателем в сборе)

      *b Разблокировано
      *c Блокируют двери

      Проверьте работу выключателя обнаружения разблокировки двери и датчика положения системы двойной блокировки.


      1. Измерьте сопротивление в соответствии со значениями, приведенными в таблице ниже.

        Номинальное сопротивление
        Подключение диагностического прибора Условие Заданные условия
        8 (LSSR) - 7 (E) Заблокировано 10 кОм или более
        8 (LSSR) - 7 (E) Разблокировка Менее 1 Ом
        6 (DLSR) - 5 (E) Блокировка снята 10 кОм или более
        6 (DLSR) - 5 (E) Блокировка установлена Менее 1 Ом

        Если результат проверки не отвечает требованиям, замените электродвигатель замка левой передней двери в сборе.

  3. ПРОВЕРЬТЕ ЗАМОК ПРАВОЙ ПЕРЕДНЕЙ ДВЕРИ С ЭЛЕКТРОДВИГАТЕЛЕМ В СБОРЕ (для моделей без системы двойной блокировки)


    1. A00YTCDC06
      *a

      Устройство с неподсоединенным жгутом проводов

      (Замок правой передней двери с электродвигателем в сборе)

      *b Разблокировано
      *c Заблокировано

      Проверьте работу электродвигателя замка передней двери.


      1. Подайте напряжение аккумуляторной батареи и проверьте работу электродвигателя замка передней двери.

        OK
        Условия измерений Заданные условия

        Положительный (+) вывод аккумуляторной батареи → 4 (L)

        Отрицательный (-) вывод аккумуляторной батареи → 1 (UL)

        Блокирует

        Положительный (+) вывод аккумуляторной батареи → 1 (UL)

        Отрицательный (-) вывод аккумуляторной батареи → 4 (L)

        Разблокирует

        Если результат проверки не отвечает требованиям, замените электродвигатель замка правой передней двери в сборе.

    2. A00YSTBC06
      *a

      Устройство с неподсоединенным жгутом проводов

      (Замок правой передней двери с электродвигателем в сборе)

      *b Разблокировано
      *c Заблокировано

      Проверьте работу датчика системы разблокировки дверей.


      1. Измерьте сопротивление в соответствии со значениями, приведенными в таблице ниже.

        Номинальное сопротивление
        Подключение диагностического прибора Условие Заданные условия
        7 (LSSR) - 8 (E) Заблокировано 10 кОм или более
        7 (LSSR) - 8 (E) Разблокировано Менее 1 Ом

        Если результат проверки не отвечает требованиям, замените электродвигатель замка правой передней двери в сборе.

    3. A00YUXHC04
      *a

      Устройство с неподсоединенным жгутом проводов

      (Замок правой передней двери с электродвигателем в сборе)

      *b Разблокировано
      *c Заблокировано

      Проверьте работу переключателя под ключ открывания/закрывания двери (для моделей с правосторонним рулевым управлением).


      1. Измерьте сопротивление в соответствии со значениями, приведенными в таблице ниже.

        Номинальное сопротивление
        Подключение диагностического прибора Условие Заданные условия
        6 (L) - 8 (E) Удерживается со стороны блокировки Менее 1 Ом
        6 (L) - 8 (E) В нейтральном положении или удерживается со стороны разблокировки 10 кОм или более
        5 (UL) - 8 (E) Удерживается со стороны разблокировки Менее 1 Ом
        5 (UL) - 8 (E) В нейтральном положении или удерживается со стороны блокировки 10 кОм или более

        Если результат проверки не отвечает требованиям, замените электродвигатель замка правой передней двери в сборе.

  4. ПРОВЕРЬТЕ ЗАМОК ПРАВОЙ ПЕРЕДНЕЙ ДВЕРИ С ЭЛЕКТРОДВИГАТЕЛЕМ В СБОРЕ (для моделей с системой двойной блокировки)


    1. A00YTXEC02
      *a

      Устройство с неподсоединенным жгутом проводов

      (Замок правой передней двери с электродвигателем в сборе)

      *b Разблокировано
      *c Блокируют двери

      Проверьте работу электродвигателя замка передней двери.


      1. Подайте напряжение аккумуляторной батареи и проверьте работу электродвигателя замка передней двери и электродвигателя двойной блокировки.

        OK
        Условия измерений Заданные условия

        Положительный (+) вывод аккумуляторной батареи → 2 (L)

        Отрицательный (-) вывод аккумуляторной батареи → 1 (UL)

        Блокирует

        Положительный (+) вывод аккумуляторной батареи → 1 (UL)

        Отрицательный (-) вывод аккумуляторной батареи → 2 (L)

        Разблокирует

        Положительный (+) вывод аккумуляторной батареи → 4 (DL)

        Отрицательный (-) вывод аккумуляторной батареи → 3 (UNDL)

        Устанавливает

        Положительный (+) вывод аккумуляторной батареи → 3 (UNDL)

        Отрицательный (-) вывод аккумуляторной батареи → 4 (DL)

        Снимает

        Tech Tips


        • Переведите электродвигатель замка двери в положение блокировки и приведите в действие систему двойной блокировки. Убедитесь в том, что двери невозможно разблокировать с помощью троса управления.

        • Переведите электродвигатель замка двери в положение блокировки и верните систему двойной блокировки в исходное состояние. Убедитесь в том, что двери можно разблокировать с помощью троса управления.

        Если результат проверки не отвечает требованиям, замените электродвигатель замка правой передней двери в сборе.

    2. A00YRKUC02
      *a

      Устройство с неподсоединенным жгутом проводов

      (Замок правой передней двери с электродвигателем в сборе)

      *b Разблокировано
      *c Блокируют двери

      Проверьте работу выключателя обнаружения разблокировки двери и датчика положения системы двойной блокировки.


      1. Измерьте сопротивление в соответствии со значениями, приведенными в таблице ниже.

        Номинальное сопротивление
        Подключение диагностического прибора Условие Заданные условия
        7 (LSSR) - 8 (E) Заблокировано 10 кОм или более
        7 (LSSR) - 8 (E) Разблокировано Менее 1 Ом
        9 (DLSR) - 10 (E) Блокировка снята 10 кОм или более
        9 (DLSR) - 10 (E) Блокировка установлена Менее 1 Ом

        Если результат проверки не отвечает требованиям, замените электродвигатель замка правой передней двери в сборе.

    3. A00YXOJC02
      *a

      Устройство с неподсоединенным жгутом проводов

      (Замок правой передней двери с электродвигателем в сборе)

      *b Разблокировано
      *c Блокируют двери

      Проверьте работу переключателя под ключ открывания/закрывания двери


      1. Измерьте сопротивление в соответствии со значениями, приведенными в таблице ниже.

        Номинальное сопротивление
        Подключение диагностического прибора Условие Заданные условия
        6 (L) - 8 (E) Удерживается со стороны блокировки Менее 1 Ом
        6 (L) - 8 (E) В нейтральном положении или удерживается со стороны разблокировки 10 кОм или более
        5 (UL) - 8 (E) Удерживается со стороны разблокировки Менее 1 Ом
        5 (UL) - 8 (E) В нейтральном положении или удерживается со стороны блокировки 10 кОм или более

        Если результат проверки не отвечает требованиям, замените электродвигатель замка правой передней двери в сборе.