ГЕНЕРАТОР (для моделей с номинальным током 100 A) ПОВТОРНАЯ СБОРКА

ПОРЯДОК ВЫПОЛНЕНИЯ


  1. УСТАНОВИТЕ ПОДШИПНИК РАМЫ ГЕНЕРАТОРА СО СТОРОНЫ ПРИВОДА

    A01VAMOE01

    1. С помощью SST и пресса запрессуйте новый подшипник рамы генератора со стороны привода.

      SST
      09950-60010   ( 09951-00520 )
      09950-70010   ( 09951-07100 )
    2. Закрепите держатель подшипника 4 винтами.

      Torque:
      2,3 Н*м  { 23 кгс*см, 20 фунт-сила-дюймов }
  2. УСТАНОВИТЕ РОТОР ГЕНЕРАТОРА В СБОРЕ


    1. A01VA7M

      Поместите раму генератора со стороны привода на шкив генератора с муфтой.

    2. Установите ротор генератора в сборе в раму генератора со стороны привода.

    3. A01GBV0

      Установите новую шайбу на ротор генератора.

  3. УСТАНОВИТЕ КАТУШКУ ГЕНЕРАТОРА В СБОРЕ


    1. A01V719C03
      *1 Головка торцевого ключа 21 мм

      С помощью удлиненной торцевой головки на 21 мм и пресса медленно запрессуйте катушку генератора в сборе.

    2. Закрепите катушку генератора в сборе 4 болтами.

      Torque:
      5,6 Н*м  { 57 кгс*см, 50 фунт-сила-дюймов }
  4. УСТАНОВИТЕ ЩЕТКОДЕРЖАТЕЛЬ ГЕНЕРАТОРА В СБОРЕ


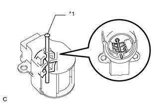
    1. A01VA06C10
      *1 Колпачок

      При установке 2 щеток в щеткодержатель генератора вставьте в щеткодержатель генератора штырь диаметром 1,0 мм (0,0394 дюйма).

    2. A01V8KUC03
      *1 Колпачок

      Установите щеткодержатель генератора и закрепите его 2 винтами.

      Torque:
      1,8 Н*м  { 18 кгс*см, 16 фунт-сила-дюймов }
    3. Извлеките штырь из щеткодержателя генератора.

  5. УСТАНОВИТЕ ЗАДНЮЮ ТОРЦЕВУЮ КРЫШКУ ГЕНЕРАТОРА


    1. Установите изолятор контакта на катушку генератора.

    2. Установите заднюю торцевую крышку генератора и закрепите ее 3 болтами.

      Torque:
      4,6 Н*м  { 47 кгс*см, 41 фунт-сила-дюйм }
  6. УСТАНОВИТЕ ШКИВ ГЕНЕРАТОРА С МУФТОЙ


    1. Предварительно установите шкив генератора с муфтой вручную.

    2. Закрепите генератор в тисках между алюминиевыми пластинами.

    3. A01V7BVN01

      Установите на шкив генератора с муфтой SST (A) и (B), как показано на рисунке.

      SST
      09820-63021
    4. A01V8V8C01
      *1 Длина рычага
      *a Удерживайте
      A01V9RL Поверните

      Удерживая SST (A) гаечным ключом, поверните SST (B) по часовой стрелке, чтобы закрепить шкив генератора с муфтой.

      Torque:
      без SST
      80 Н*м  { 816 кгс*см, 59 фунт-сила-футов }
      при использовании SST
      64 Н*м  { 653 кгс*см, 47 фунт-сила-футов }

      Tech Tips


      • Используйте динамометрический ключ с длиной рычага 400 мм (15,7 дюймов). Если используется динамометрический ключ, длина рычага которого не составляет 400 мм (15,7 дюйма), вычислите момент затяжки для динамометрического ключа и SST на основании момента затяжки, приведенного в строке "без использования SST".

        Нажмите здесь Click here

      • Убедитесь, что SST и ключ соединены в прямую линию.

      Note

      Соблюдайте осторожность, так как если при выполнении этой операции положение SST не будет надежно зафиксировано, может быть поврежден шкив генератора с муфтой или вал ротора генератора.

    5. Снимите SST с генератора.

    6. Убедитесь, что шкив генератора с муфтой вращается плавно.

  7. УСТАНОВИТЕ КРЫШКУ ШКИВА ГЕНЕРАТОРА


    1. A01V9LM

      Установите новую крышку шкива генератора на шкив генератора с муфтой.