Click here

БЛОК ДВИГАТЕЛЯ ПОВТОРНАЯ СБОРКА

Click here
Click here Click here

ПОРЯДОК ВЫПОЛНЕНИЯ


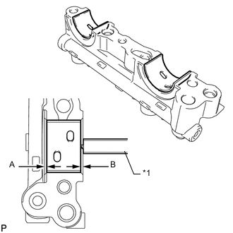
  1. *1 Высота выступания
    Click here

    УСТАНОВИТЕ СОЕДИНИТЕЛЬНОЕ КОЛЬЦО КАРТЕРА С РЕБРАМИ ЖЕСТКОСТИ

    Note:

    Снимать соединительные кольца нужно только для их замены.


    1. С помощью пластмассового молотка запрессуйте до упора 2 новых соединительных кольца.

      Номинальная высота выступа
      4,3 - 5,3 мм (0,169 - 0,209 дюйма)
  2. *a Передняя сторона *b Нижняя сторона *c 20 мм (0,787 дюйма) *d 35 мм (1,38 дюйма) *e 13 мм (0,512 дюйма) *f 8,5 мм (0,335 дюйма) *g 18 мм (0,709 дюйма) *h 8,0 мм (0,315 дюйма)
    Click here

    ВВЕРНИТЕ РЕЗЬБОВУЮ ШПИЛЬКУ КАРТЕРА С РЕБРАМИ ЖЕСТКОСТИ

    Note:

    Если шпилька деформирована или повреждена ее резьба, замените шпильку.


    1. С помощью торцевого ключа "TORX" Е5 и E8 вверните шпильки.

      Для шпильки A
      5,0 Н*м 51 кгс*см 44 фунт-сила-дюйма
      Для шпильки B
      9,5 Н*м 97 кгс*см 84 фунт-сила-дюйма
  3. Click here

    УСТАНОВИТЕ БАЛАНСИРОВОЧНЫЙ УЗЕЛ ДВИГАТЕЛЯ В СБОРЕ


    1. A01KCFTC06
      *1 Метка совмещения

      Убедитесь, что метки на крышке демпфера уравновешивающего вала и на ведомой шестерне уравновешивающего вала совмещены.

      Если метки не совмещены, повторно совместите их.


      1. A01KC48C06
        *1 Ведомая шестерня
        *2 Крышка демпфера
        *3 Метка совмещения

        Поместите гаечный ключ на заднюю часть уравновешивающего вала № 2 с вырезом и зафиксируйте вал на месте.

      2. Поверните ведомую шестерню уравновешивающего вала № 1 против часовой стрелки до совмещения метки на ведомой шестерне уравновешивающего вала с меткой на крышке демпфера уравновешивающего вала.

    2. A01KB3CN01

      Установите балансировочный узел двигателя на картер с ребрами жесткости, закрепите его 3 болтами и затяните болты в последовательности, показанной на рисунке.

      24 Н*м 245 кгс*см 18 фунт-сила-футов
  4. Click here

    УСТАНОВИТЕ КАРТЕР С РЕБРАМИ ЖЕСТКОСТИ В СБОРЕ


    1. A01KBOPC01
      *1 Шпонка

      Проверните коленчатый вал по часовой стрелке так, чтобы шпонка коленчатого вала была расположена под углом 270° относительно нижней точки, как показано на рисунке.

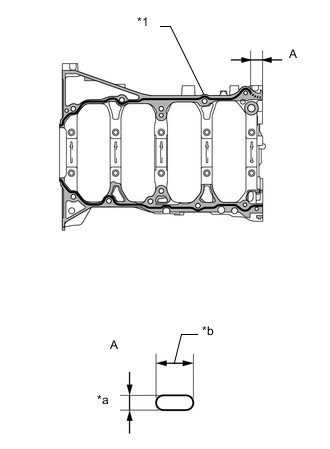
    2. A01KAYDC05
      *1 Герметик
      *a 2,5 - 3,5 мм (0,0984 - 0,138 дюйма)
      *b 7,0 - 9,0 мм (0,276 - 0,354 дюйма)
      A01KCAQ Картер с ребрами жесткости
      A01KBO1 Блок цилиндров

      Нанесите герметик в виде сплошного валика, как показано на рисунке.

      Герметик
      Фирменный герметик Seal Packing Black от компании Toyota, Three bond 1207B или аналогичный
      Номинальные размеры уплотнения
      Область Номинальное значение
      Зона, отмеченная непрерывной линией 2,5 - 3,5 мм (0,0984 - 0,138 дюйма)
      Зона, отмеченная пунктирной линией Ширина 7,0 - 9,0 мм (0,276 - 0,354 дюйма), толщина 2,5 - 3,5 мм (0,0984 - 0,138 дюйма)
      Длина A участка нанесения
      28 мм (1,10 дюйма)
      Note:
      • Удалите все масло с контактной поверхности.

      • После нанесения герметика в течение 3 минут установите масляный поддон и в течение 15 минут затяните болты и гайки.

      • Не заливайте масло в течение, как минимум, 4 часов после установки.

      • Не запускайте двигатель в течение 4 часов после установки.

    3. A01KDBEC02
      *1 Вырез

      Убедитесь, что задние вырезы расположены, как показано на рисунке.

    4. Очистите болты и их установочные отверстия.

    5. Нанесите герметик не менее чем на 3 витка резьбы на конце болта A.

      Герметик
      Фирменный герметик 1344 от компании Toyota, Three Bond 1344 или аналогичный
    6. A01KDUAN03

      Временно установите картер с ребрами жесткости и закрепите его 11 болтами.

      Длина болта
      Параметр / Устройство Номинальное значение
      Болт A 65 мм (2,56 дюйма)
      Болт B 35 мм (1,38 дюйма)
      Болт C 125 мм (4,92 дюйма)
      Болт D 165 мм (6,50 дюйма)
      Tip:

      Нанесите герметик на болт A перед его вворачиванием.

    7. A01KDUAN04

      Для установки картера с ребрами жесткости затяните 11 болтов в последовательности, показанной на рисунке.

      Для болта A
      24 Н*м 245 кгс*см 18 фунт-сила-футов
      за исключением болта A
      43 Н*м 438 кгс*см 32 фунт-сила-фута
  5. Click here

    УСТАНОВИТЕ ОТРАЖАТЕЛЬ МАСЛЯНОГО ПОДДОНА № 1


    1. A01KDKWN05

      Установите отражатель поддона картера и равномерно в несколько этапов затяните 5 болтов в последовательности, показанной на рисунке.

      10 Н*м 102 кгс*см 7 фунт-сила-футов
  6. Click here

    УСТАНОВИТЕ МАСЛОПРИЕМНИК С СЕТЧАТЫМ ФИЛЬТРОМ В СБОРЕ


    1. A01KCZ7C03
      *1 Выступание

      Нанесите тонкий слой моторного масла на новую прокладку.

    2. Совместите выступ прокладки с вырезом сетчатого масляного фильтра и установите прокладку на сетчатый масляный фильтр.

    3. Установите сетчатый масляный фильтр и закрепите его 3 болтами, затянув их в несколько этапов в последовательности, показанной на рисунке.

      9,0 Н*м 92 кгс*см 80 фунт-сила-дюймов
  7. Click here

    УСТАНОВИТЕ ПОДДОН КАРТЕРА В СБОРЕ


    1. A01KB40C01
      *1 Герметик Seal Packing

      Нанесите герметик в виде сплошного валика, как показано на рисунке.

      Герметик
      Фирменный герметик Seal Packing Black от компании Toyota, Three bond 1207B или аналогичный
      Номинальный диаметр уплотнения
      2,5 - 3,5 мм (0,0984 - 0,138 дюйма)
      Note:
      • Удалите все масло с контактной поверхности.

      • После нанесения герметика в течение 3 минут установите масляный поддон и в течение 10 минут затяните болты и гайки.

      • Не заливайте масло в течение, как минимум, 4 часов после установки.

      • Не запускайте двигатель в течение 4 часов после установки.

    2. A01KBZXN03

      Установите поддон картера и закрепите его 11 болтами и 2 гайками, затянув их в несколько этапов в последовательности, показанной на рисунке.

      10 Н*м 102 кгс*см 7 фунт-сила-футов
      Tip:

      Болт A и гайка A затягиваются дважды.

  8. Click here

    УСТАНОВИТЕ ФИЛЬТРУЮЩИЙ ЭЛЕМЕНТ МАСЛЯНОГО ФИЛЬТРА

    Нажмите здесьClick here

  9. Click here

    УСТАНОВИТЕ ЗАДНИЙ САЛЬНИК КОЛЕНЧАТОГО ВАЛА

    Нажмите здесьClick here

  10. Click here

    УСТАНОВИТЕ РАСПОРНУЮ ДЕТАЛЬ ВОДЯНОЙ РУБАШКИ БЛОКА ЦИЛИНДРОВ


    1. Установите распорную деталь водяной рубашки блока цилиндров на блок цилиндров.

  11. Click here

    УСТАНОВИТЕ ПРОКЛАДКУ ГОЛОВКИ БЛОКА ЦИЛИНДРОВ

    Нажмите здесьClick here

  12. Click here

    УСТАНОВИТЕ ГОЛОВКУ БЛОКА ЦИЛИНДРОВ В СБОРЕ

    Нажмите здесьClick here

  13. Click here

    УСТАНОВИТЕ ЗУБЧАТОЕ КОЛЕСО РАСПРЕДВАЛА В СБОРЕ

    Нажмите здесьClick here

  14. *1 Высота выступания
    Click here

    УСТАНОВИТЕ РЕГУЛИРОВОЧНОЕ СОЕДИНИТЕЛЬНОЕ КОЛЬЦО КРЫШКИ ПОДШИПНИКА РАСПРЕДВАЛА

    Note:

    Снимать соединительные кольца нужно только для их замены.


    1. Используя молоток с пластмассовым покрытием, вбейте 10 новых соединительных колец в кожух распредвала.

      Номинальная высота выступа
      2,7 - 3,3 мм (0,106 - 0,130 дюйма)
  15. *1 Высота выступания
    Click here

    УСТАНОВИТЕ СТОПОРНЫЙ ШТИФТ КОЖУХА РАСПРЕДВАЛА В СБОРЕ

    Note:

    Снимать стопорные штифты нужно только для их замены.


    1. Используя молоток с пластмассовым покрытием, вбейте 2 новых стопорных штифта в кожух распредвала.

      Номинальная высота выступа
      5,0 - 7,0 мм (0,197 - 0,276 дюйма)
  16. Click here

    ЗАВЕРНИТЕ РЕЗЬБОВУЮ ШПИЛЬКУ КОЖУХА РАСПРЕДВАЛА

    Note:

    Если шпилька деформирована или повреждена ее резьба, замените шпильку.


    1. A01KD9FC03
      *a 20 мм (0,787 дюйма)
      *b 35 мм (1,38 дюйма)
      *c 13 мм (0,512 дюйма)

      С помощью торцевого ключа "TORX" Е8 вверните резьбовую шпильку.

      6,5 Н*м 66 кгс*см 58 фунт-сила-дюймов
  17. Click here

    УСТАНОВИТЕ ПОДШИПНИК РАСПРЕДВАЛА № 1


    1. A01KD11C05
      *1 Штангенциркуль

      Очистите подшипник распредвала № 1.

    2. Установите подшипник распредвала в крышку подшипника распредвала № 1.

    3. С помощью штангенциркуля измерьте расстояние между кромкой крышки подшипника распредвала и кромкой подшипника распредвала.

      Размер A - B или B - A
      0-0,7 мм (0-0,0276 дюйма)
  18. Click here

    УСТАНОВИТЕ ПОДШИПНИК РАСПРЕДВАЛА № 2


    1. A01KCEYC09
      *1 Штангенциркуль

      Очистите подшипник распредвала № 2.

    2. Установите подшипник распредвала в кожух распредвала.

    3. С помощью штангенциркуля измерьте расстояние между кромкой кожуха распредвала и кромкой подшипника распредвала.

      Номинальное расстояние
      1,15 - 1,85 мм (0,0453 - 0,0728 дюйма)
  19. Click here

    УСТАНОВИТЕ ФИЛЬТР ГИДРАВЛИЧЕСКОГО КЛАПАНА ИЗМЕНЕНИЯ ФАЗ


    1. A01KD84

      Установите фильтр гидравлического клапана измерения фаз на крышку подшипника распредвала № 1.

  20. Click here

    УСТАНОВИТЕ РАСПРЕДВАЛ

    Нажмите здесьClick here

  21. Click here

    УСТАНОВИТЕ КРЫШКУ ПОДШИПНИКА РАСПРЕДВАЛА

    Нажмите здесьClick here

  22. Click here

    УСТАНОВИТЕ КОЛПАК ШТОКА КЛАПАНА

    Нажмите здесьClick here

  23. Click here

    УСТАНОВИТЕ МЕХАНИЗМ РЕГУЛИРОВКИ ЗАЗОРА В ПРИВОДЕ КЛАПАНОВ В СБОРЕ

    Нажмите здесьClick here

  24. Click here

    УСТАНОВИТЕ РЫЧАГ ПРИВОДА КЛАПАНА № 1 В СБОРЕ

    Нажмите здесьClick here

  25. Click here

    УСТАНОВИТЕ КОЖУХ РАСПРЕДВАЛА В СБОРЕ

    Нажмите здесьClick here

  26. Click here

    УСТАНОВИТЕ ЗУБЧАТОЕ КОЛЕСО РАСПРЕДВАЛА В СБОРЕ

    Нажмите здесьClick here

  27. Click here

    УСТАНОВИТЕ ЗУБЧАТОЕ КОЛЕСО РАСПРЕДВАЛА ВЫПУСКНЫХ КЛАПАНОВ В СБОРЕ

    Нажмите здесьClick here

  28. Click here

    УСТАНОВИТЕ ВЕДУЩУЮ ЗВЕЗДОЧКУ ЦЕПИ ГРМ НА КОЛЕНЧАТОМ ВАЛУ


    1. Установите ведущую звездочку цепи газораспределительного механизма на коленчатый вал.

  29. Click here

    ДОБАВЬТЕ МОТОРНОЕ МАСЛО

    Нажмите здесьClick here

  30. Click here

    УСТАНОВИТЕ ПОРШЕНЬ ЦИЛИНДРА №1 В ВМТ ТАКТА СЖАТИЯ

    Нажмите здесьClick here

  31. Click here

    УСТАНОВИТЕ УСПОКОИТЕЛЬ ЦЕПИ № 1

    Нажмите здесьClick here

  32. Click here

    УСТАНОВИТЕ ЦЕПЬ В СБОРЕ

    Нажмите здесьClick here

  33. Click here

    УСТАНОВИТЕ БАШМАК НАТЯЖИТЕЛЯ ЦЕПИ

    Нажмите здесьClick here

  34. Click here

    УСТАНОВИТЕ НАТЯЖИТЕЛЬ ЦЕПИ № 1 В СБОРЕ

    Нажмите здесьClick here

  35. Click here

    УСТАНОВИТЕ НАПРАВЛЯЮЩУЮ ЦЕПНОГО ПРИВОДА ГАЗОРАСПРЕДЕЛИТЕЛЬНОГО МЕХАНИЗМА

    Нажмите здесьClick here

  36. Click here

    ПРОВЕРЬТЕ ПОРШЕНЬ ЦИЛИНДРА № 1 В ВМТ ТАКТА СЖАТИЯ

    Нажмите здесьClick here

  37. Click here

    УСТАНОВИТЕ ПЛАСТИНУ КРЫШКИ ЦЕПНОГО ПРИВОДА ГАЗОРАСПРЕДЕЛИТЕЛЬНОГО МЕХАНИЗМА

    Нажмите здесьClick here

  38. Click here

    УСТАНОВИТЕ ПРОБКУ КРЫШКИ ЦЕПНОГО ПРИВОДА ГАЗОРАСПРЕДЕЛИТЕЛЬНОГО МЕХАНИЗМА


    1. С помощью шестигранной головки на 14 мм установите новую прокладку и пробку крышки цепного привода газораспределительного механизма.

      30 Н*м 306 кгс*см 22 фунт-сила-фута
  39. Click here

    УСТАНОВИТЕ КРЫШКУ ЦЕПНОГО ПРИВОДА ГАЗОРАСПРЕДЕЛИТЕЛЬНОГО МЕХАНИЗМА В СБОРЕ

    Нажмите здесьClick here

  40. Click here

    УСТАНОВИТЕ ПРАВЫЙ КРОНШТЕЙН ОПОРЫ ДВИГАТЕЛЯ

    Нажмите здесьClick here

  41. Click here

    УСТАНОВИТЕ САЛЬНИК КРЫШКИ ЦЕПНОГО ПРИВОДА ГАЗОРАСПРЕДЕЛИТЕЛЬНОГО МЕХАНИЗМА

    Нажмите здесьClick here

  42. Click here

    УСТАНОВИТЕ ПРОКЛАДКУ ТРУБКИ СВЕЧНОГО КОЛОДЦА

    Нажмите здесьClick here

  43. Click here

    УСТАНОВИТЕ КРЫШКУ ГОЛОВКИ БЛОКА ЦИЛИНДРОВ В СБОРЕ

    Нажмите здесьClick here

  44. Click here

    УСТАНОВИТЕ ШКИВ КОЛЕНЧАТОГО ВАЛА


    1. A01KC6CC01
      *a Удерживайте
      *b Поверните

      Совместите установочную шпонку шкива со шпоночной канавкой шкива коленчатого вала.

    2. Используя SST, зафиксируйте шкив коленчатого вала и вверните болт шкива.

      09213-54015
      09330-00021
      260 Н*м 2651 кгс*см 192 фунт-сила-фута
      Tip:

      Каталожный номер болта крепления для SST (приспособление для блокировки шкива коленчатого вала): 91551-80650 (количество: 2)

  45. Click here

    УСТАНОВИТЕ ДАТЧИК ПОЛОЖЕНИЯ КОЛЕНЧАТОГО ВАЛА

    Нажмите здесьClick here

  46. Click here

    УСТАНОВИТЕ КОЖУХ ВПУСКНОГО ПАТРУБКА ОХЛАЖДАЮЩЕЙ ЖИДКОСТИ


    1. Установите кожух впускного патрубка охлаждающей жидкости с новой прокладкой и закрепите его 4 болтами и гайкой.

      43 Н*м 438 кгс*см 32 фунт-сила-фута
  47. Click here

    УСТАНОВИТЕ МАСЛЯНЫЙ РАДИАТОР В СБОРЕ (для моделей с масляным радиатором)

    Нажмите здесьClick here

  48. Click here

    УСТАНОВИТЕ НАСОС СИСТЕМЫ ОХЛАЖДЕНИЯ В СБОРЕ

    Нажмите здесьClick here

  49. Click here

    УСТАНОВИТЕ НАТЯЖИТЕЛЬ ПОЛИКЛИНОВОГО РЕМНЯ В СБОРЕ

    Нажмите здесьClick here

  50. Click here

    УСТАНОВИТЕ ТЕРМОСТАТ

    Нажмите здесьClick here

  51. Click here

    УСТАНОВИТЕ ВПУСКНОЙ ПАТРУБОК ОХЛАЖДАЮЩЕЙ ЖИДКОСТИ

    Нажмите здесьClick here

  52. Click here

    УСТАНОВИТЕ ПЕРЕПУСКНУЮ ТРУБКУ ОХЛАЖДАЮЩЕЙ ЖИДКОСТИ № 1


    1. Установите перепускную трубку охлаждающей жидкости № 1 вместе с новой прокладкой и закрепите ее 2 гайками и болтом.

      10 Н*м 102 кгс*см 7 фунт-сила-футов
  53. Click here

    УСТАНОВИТЕ КОРПУС СЕПАРАТОРА


    1. Нанесите тонкий слой моторного масла на новую прокладку.

    2. Установите прокладку на корпус маслоотделителя.

    3. Установите корпус сепаратора и закрепите его 2 болтами.

      10 Н*м 102 кгс*см 7 фунт-сила-футов
  54. Click here

    УСТАНОВИТЕ КОРПУС СИСТЕМЫ ПРИНУДИТЕЛЬНОЙ ВЕНТИЛЯЦИИ КАРТЕРА


    1. A01KAX0C01
      *1 Герметик Seal Packing

      Нанесите герметик в виде сплошного валика, как показано на рисунке.

      Герметик
      Фирменный герметик Seal Packing Black от компании Toyota, Three bond 1207B или аналогичный
      Номинальный диаметр уплотнения
      2,5 - 3,5 мм (0,0984 - 0,138 дюйма)
      Note:
      • Удалите все масло с контактной поверхности.

      • После нанесения герметика в течение 3 минут установите вентиляционный системы принудительной вентиляции картера и в течение 15 минут затяните болты и гайки.

    2. A01KBCSN04

      Установите кожух системы принудительной вентиляции картера и закрепите его 8 болтами и 2 гайками в порядке, показанном на рисунке.

      21 Н*м 214 кгс*см 15 фунт-сила-футов
      Tip:

      Болт A затягивается дважды.

  55. Click here

    УСТАНОВИТЕ КЛАПАН ПРИНУДИТЕЛЬНОЙ ВЕНТИЛЯЦИИ КАРТЕРА

    Нажмите здесьClick here

  56. Click here

    УСТАНОВИТЕ ДАТЧИК ПОЛОЖЕНИЯ РАСПРЕДВАЛА (для впускных клапанов)

    Нажмите здесьClick here

  57. Click here

    УСТАНОВИТЕ ДАТЧИК ПОЛОЖЕНИЯ РАСПРЕДВАЛА (на выпуске)

    Нажмите здесьClick here

  58. Click here

    УСТАНОВИТЕ ГИДРАВЛИЧЕСКИЙ КЛАПАН ИЗМЕНЕНИЯ ФАЗ В СБОРЕ (на впуске)

    Нажмите здесьClick here

  59. Click here

    УСТАНОВИТЕ ГИДРАВЛИЧЕСКИЙ КЛАПАН ИЗМЕНЕНИЯ ФАЗ В СБОРЕ (на выпуске)

    Нажмите здесьClick here

  60. Click here

    УСТАНОВИТЕ КРЫШКУ МАСЛОНАЛИВНОЙ ГОРЛОВИНЫ В СБОРЕ


    1. Установите прокладку на крышку маслоналивной горловины.

    2. Установите крышку маслоналивной горловины в сборе на крышку головки блока цилиндров в сборе.

  61. Click here

    УСТАНОВИТЕ СВЕЧУ ЗАЖИГАНИЯ

    Нажмите здесьClick here

  62. Click here

    УСТАНОВИТЕ ШАРНИР КРЫШКИ ДВИГАТЕЛЯ


    1. Установите 3 шарнира крышки двигателя.

      10 Н*м 102 кгс*см 7 фунт-сила-футов