БЛОК ДВИГАТЕЛЯ ПОВТОРНАЯ СБОРКА

ПОРЯДОК ВЫПОЛНЕНИЯ


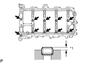
  1. УСТАНОВИТЕ СОЕДИНИТЕЛЬНОЕ КОЛЬЦО КАРТЕРА С РЕБРАМИ ЖЕСТКОСТИ

    A01KCHPC05
    *1 Высота выступания

    Note

    Снимать соединительные кольца нужно только для их замены.


    1. С помощью пластмассового молотка запрессуйте до упора 2 новых соединительных кольца.

      Номинальная высота выступа
      4,3 - 5,3 мм (0,169 - 0,209 дюйма)
  2. ВВЕРНИТЕ РЕЗЬБОВУЮ ШПИЛЬКУ КАРТЕРА С РЕБРАМИ ЖЕСТКОСТИ

    Note

    Если шпилька деформирована или повреждена ее резьба, замените шпильку.

    A01KC3FC01
    *a Передняя сторона *b Нижняя сторона
    *c 20 мм (0,787 дюйма) *d 35 мм (1,38 дюйма)
    *e 13 мм (0,512 дюйма) *f 8,5 мм (0,335 дюйма)
    *g 18 мм (0,709 дюйма) *h 8,0 мм (0,315 дюйма)

    1. С помощью торцевого ключа "TORX" Е5 и E8 вверните шпильки.

      Torque:
      Для шпильки A
      5,0 Н*м  { 51 кгс*см, 44 фунт-сила-дюйма }
      Для шпильки B
      9,5 Н*м  { 97 кгс*см, 84 фунт-сила-дюйма }
  3. УСТАНОВИТЕ БАЛАНСИРОВОЧНЫЙ УЗЕЛ ДВИГАТЕЛЯ В СБОРЕ


    1. A01KCFTC06
      *1 Метка совмещения

      Убедитесь, что метки на крышке демпфера уравновешивающего вала и на ведомой шестерне уравновешивающего вала совмещены.

      Если метки не совмещены, повторно совместите их.


      1. A01KC48C06
        *1 Ведомая шестерня
        *2 Крышка демпфера
        *3 Метка совмещения

        Поместите гаечный ключ на заднюю часть уравновешивающего вала № 2 с вырезом и зафиксируйте вал на месте.

      2. Поверните ведомую шестерню уравновешивающего вала № 1 против часовой стрелки до совмещения метки на ведомой шестерне уравновешивающего вала с меткой на крышке демпфера уравновешивающего вала.

    2. A01KB3CN01

      Установите балансировочный узел двигателя на картер с ребрами жесткости, закрепите его 3 болтами и затяните болты в последовательности, показанной на рисунке.

      Torque:
      24 Н*м  { 245 кгс*см, 18 фунт-сила-футов }
  4. УСТАНОВИТЕ КАРТЕР С РЕБРАМИ ЖЕСТКОСТИ В СБОРЕ


    1. A01KBOPC01
      *1 Шпонка

      Проверните коленчатый вал по часовой стрелке так, чтобы шпонка коленчатого вала была расположена под углом 270° относительно нижней точки, как показано на рисунке.

    2. A01KAYDC05
      *1 Герметик
      *a 2,5 - 3,5 мм (0,0984 - 0,138 дюйма)
      *b 7,0 - 9,0 мм (0,276 - 0,354 дюйма)
      A01KCAQ Картер с ребрами жесткости
      A01KBO1 Блок цилиндров

      Нанесите герметик в виде сплошного валика, как показано на рисунке.

      Герметик
      Фирменный герметик Seal Packing Black от компании Toyota, Three bond 1207B или аналогичный
      Номинальные размеры уплотнения
      Область Номинальное значение
      Зона, отмеченная непрерывной линией 2,5 - 3,5 мм (0,0984 - 0,138 дюйма)
      Зона, отмеченная пунктирной линией Ширина 7,0 - 9,0 мм (0,276 - 0,354 дюйма), толщина 2,5 - 3,5 мм (0,0984 - 0,138 дюйма)
      Длина A участка нанесения
      28 мм (1,10 дюйма)

      Note


      • Удалите все масло с контактной поверхности.

      • После нанесения герметика в течение 3 минут установите масляный поддон и в течение 15 минут затяните болты и гайки.

      • Не заливайте масло в течение, как минимум, 4 часов после установки.

      • Не запускайте двигатель в течение 4 часов после установки.

    3. A01KDBEC02
      *1 Вырез

      Убедитесь, что задние вырезы расположены, как показано на рисунке.

    4. Очистите болты и их установочные отверстия.

    5. Нанесите герметик не менее чем на 3 витка резьбы на конце болта A.

      Герметик
      Фирменный герметик 1344 от компании Toyota, Three Bond 1344 или аналогичный
    6. A01KDUAN03

      Временно установите картер с ребрами жесткости и закрепите его 11 болтами.

      Длина болта
      Параметр / Устройство Номинальное значение
      Болт A 65 мм (2,56 дюйма)
      Болт B 35 мм (1,38 дюйма)
      Болт C 125 мм (4,92 дюйма)
      Болт D 165 мм (6,50 дюйма)

      Tech Tips

      Нанесите герметик на болт A перед его вворачиванием.

    7. A01KDUAN04

      Для установки картера с ребрами жесткости затяните 11 болтов в последовательности, показанной на рисунке.

      Torque:
      Для болта A
      24 Н*м  { 245 кгс*см, 18 фунт-сила-футов }
      за исключением болта A
      43 Н*м  { 438 кгс*см, 32 фунт-сила-фута }
  5. УСТАНОВИТЕ ОТРАЖАТЕЛЬ МАСЛЯНОГО ПОДДОНА № 1


    1. A01KDKWN05

      Установите отражатель поддона картера и равномерно в несколько этапов затяните 5 болтов в последовательности, показанной на рисунке.

      Torque:
      10 Н*м  { 102 кгс*см, 7 фунт-сила-футов }
  6. УСТАНОВИТЕ МАСЛОПРИЕМНИК С СЕТЧАТЫМ ФИЛЬТРОМ В СБОРЕ


    1. A01KCZ7C03
      *1 Выступание

      Нанесите тонкий слой моторного масла на новую прокладку.

    2. Совместите выступ прокладки с вырезом сетчатого масляного фильтра и установите прокладку на сетчатый масляный фильтр.

    3. Установите сетчатый масляный фильтр и закрепите его 3 болтами, затянув их в несколько этапов в последовательности, показанной на рисунке.

      Torque:
      9,0 Н*м  { 92 кгс*см, 80 фунт-сила-дюймов }
  7. УСТАНОВИТЕ ПОДДОН КАРТЕРА В СБОРЕ


    1. A01KB40C01
      *1 Герметик Seal Packing

      Нанесите герметик в виде сплошного валика, как показано на рисунке.

      Герметик
      Фирменный герметик Seal Packing Black от компании Toyota, Three bond 1207B или аналогичный
      Номинальный диаметр уплотнения
      2,5 - 3,5 мм (0,0984 - 0,138 дюйма)

      Note


      • Удалите все масло с контактной поверхности.

      • После нанесения герметика в течение 3 минут установите масляный поддон и в течение 10 минут затяните болты и гайки.

      • Не заливайте масло в течение, как минимум, 4 часов после установки.

      • Не запускайте двигатель в течение 4 часов после установки.

    2. A01KBZXN03

      Установите поддон картера и закрепите его 11 болтами и 2 гайками, затянув их в несколько этапов в последовательности, показанной на рисунке.

      Torque:
      10 Н*м  { 102 кгс*см, 7 фунт-сила-футов }

      Tech Tips

      Болт A и гайка A затягиваются дважды.

  8. УСТАНОВИТЕ ФИЛЬТРУЮЩИЙ ЭЛЕМЕНТ МАСЛЯНОГО ФИЛЬТРА

    Нажмите здесь Click here

  9. УСТАНОВИТЕ ЗАДНИЙ САЛЬНИК КОЛЕНЧАТОГО ВАЛА

    Нажмите здесь Click here

  10. УСТАНОВИТЕ РАСПОРНУЮ ДЕТАЛЬ ВОДЯНОЙ РУБАШКИ БЛОКА ЦИЛИНДРОВ


    1. Установите распорную деталь водяной рубашки блока цилиндров на блок цилиндров.

  11. УСТАНОВИТЕ ПРОКЛАДКУ ГОЛОВКИ БЛОКА ЦИЛИНДРОВ

    Нажмите здесь Click here

  12. УСТАНОВИТЕ ГОЛОВКУ БЛОКА ЦИЛИНДРОВ В СБОРЕ

    Нажмите здесь Click here

  13. УСТАНОВИТЕ ЗУБЧАТОЕ КОЛЕСО РАСПРЕДВАЛА В СБОРЕ

    Нажмите здесь Click here

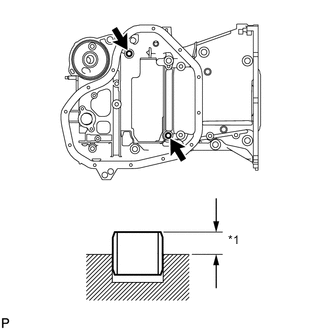
  14. УСТАНОВИТЕ РЕГУЛИРОВОЧНОЕ СОЕДИНИТЕЛЬНОЕ КОЛЬЦО КРЫШКИ ПОДШИПНИКА РАСПРЕДВАЛА

    A01KBVAC07
    *1 Высота выступания

    Note

    Снимать соединительные кольца нужно только для их замены.


    1. Используя молоток с пластмассовым покрытием, вбейте 10 новых соединительных колец в кожух распредвала.

      Номинальная высота выступа
      2,7 - 3,3 мм (0,106 - 0,130 дюйма)
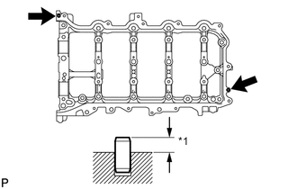
  15. УСТАНОВИТЕ СТОПОРНЫЙ ШТИФТ КОЖУХА РАСПРЕДВАЛА В СБОРЕ

    A01KCU0C06
    *1 Высота выступания

    Note

    Снимать стопорные штифты нужно только для их замены.


    1. Используя молоток с пластмассовым покрытием, вбейте 2 новых стопорных штифта в кожух распредвала.

      Номинальная высота выступа
      5,0 - 7,0 мм (0,197 - 0,276 дюйма)
  16. ЗАВЕРНИТЕ РЕЗЬБОВУЮ ШПИЛЬКУ КОЖУХА РАСПРЕДВАЛА

    Note

    Если шпилька деформирована или повреждена ее резьба, замените шпильку.


    1. A01KD9FC03
      *a 20 мм (0,787 дюйма)
      *b 35 мм (1,38 дюйма)
      *c 13 мм (0,512 дюйма)

      С помощью торцевого ключа "TORX" Е8 вверните резьбовую шпильку.

      Torque:
      9,5 Н*м  { 97 кгс*см, 84 фунт-сила-дюйма }
  17. УСТАНОВИТЕ ПОДШИПНИК РАСПРЕДВАЛА № 1


    1. A01KD11C05
      *1 Штангенциркуль

      Очистите подшипник распредвала № 1.

    2. Установите подшипник распредвала в крышку подшипника распредвала № 1.

    3. С помощью штангенциркуля измерьте расстояние между кромкой крышки подшипника распредвала и кромкой подшипника распредвала.

      Размер A - B или B - A
      0-0,7 мм (0-0,0276 дюйма)
  18. УСТАНОВИТЕ ПОДШИПНИК РАСПРЕДВАЛА № 2


    1. A01KCEYC09
      *1 Штангенциркуль

      Очистите подшипник распредвала № 2.

    2. Установите подшипник распредвала в кожух распредвала.

    3. С помощью штангенциркуля измерьте расстояние между кромкой кожуха распредвала и кромкой подшипника распредвала.

      Номинальное расстояние
      1,15 - 1,85 мм (0,0453 - 0,0728 дюйма)
  19. УСТАНОВИТЕ ФИЛЬТР ГИДРАВЛИЧЕСКОГО КЛАПАНА ИЗМЕНЕНИЯ ФАЗ


    1. A01KD84

      Установите фильтр гидравлического клапана измерения фаз на крышку подшипника распредвала № 1.

  20. УСТАНОВИТЕ РАСПРЕДВАЛ

    Нажмите здесь Click here

  21. УСТАНОВИТЕ КРЫШКУ ПОДШИПНИКА РАСПРЕДВАЛА

    Нажмите здесь Click here

  22. УСТАНОВИТЕ КОЛПАК ШТОКА КЛАПАНА

    Нажмите здесь Click here

  23. УСТАНОВИТЕ МЕХАНИЗМ РЕГУЛИРОВКИ ЗАЗОРА В ПРИВОДЕ КЛАПАНОВ В СБОРЕ

    Нажмите здесь Click here

  24. УСТАНОВИТЕ РЫЧАГ ПРИВОДА КЛАПАНА № 1 В СБОРЕ

    Нажмите здесь Click here

  25. УСТАНОВИТЕ КОЖУХ РАСПРЕДВАЛА В СБОРЕ

    Нажмите здесь Click here

  26. УСТАНОВИТЕ ЗУБЧАТОЕ КОЛЕСО РАСПРЕДВАЛА В СБОРЕ

    Нажмите здесь Click here

  27. УСТАНОВИТЕ ЗУБЧАТОЕ КОЛЕСО РАСПРЕДВАЛА ВЫПУСКНЫХ КЛАПАНОВ В СБОРЕ

    Нажмите здесь Click here

  28. УСТАНОВИТЕ ВЕДУЩУЮ ЗВЕЗДОЧКУ ЦЕПИ ГРМ НА КОЛЕНЧАТОМ ВАЛУ


    1. Установите ведущую звездочку цепи газораспределительного механизма на коленчатый вал.

  29. ДОБАВЬТЕ МОТОРНОЕ МАСЛО

    Нажмите здесь Click here

  30. УСТАНОВИТЕ ПОРШЕНЬ ЦИЛИНДРА №1 В ВМТ ТАКТА СЖАТИЯ

    Нажмите здесь Click here

  31. УСТАНОВИТЕ УСПОКОИТЕЛЬ ЦЕПИ № 1

    Нажмите здесь Click here

  32. УСТАНОВИТЕ ЦЕПЬ В СБОРЕ

    Нажмите здесь Click here

  33. УСТАНОВИТЕ БАШМАК НАТЯЖИТЕЛЯ ЦЕПИ

    Нажмите здесь Click here

  34. УСТАНОВИТЕ НАТЯЖИТЕЛЬ ЦЕПИ № 1 В СБОРЕ

    Нажмите здесь Click here

  35. УСТАНОВИТЕ НАПРАВЛЯЮЩУЮ ЦЕПНОГО ПРИВОДА ГАЗОРАСПРЕДЕЛИТЕЛЬНОГО МЕХАНИЗМА

    Нажмите здесь Click here

  36. ПРОВЕРЬТЕ ПОРШЕНЬ ЦИЛИНДРА № 1 В ВМТ ТАКТА СЖАТИЯ

    Нажмите здесь Click here

  37. УСТАНОВИТЕ ПЛАСТИНУ КРЫШКИ ЦЕПНОГО ПРИВОДА ГАЗОРАСПРЕДЕЛИТЕЛЬНОГО МЕХАНИЗМА

    Нажмите здесь Click here

  38. УСТАНОВИТЕ ПРОБКУ КРЫШКИ ЦЕПНОГО ПРИВОДА ГАЗОРАСПРЕДЕЛИТЕЛЬНОГО МЕХАНИЗМА


    1. С помощью шестигранной головки на 14 мм установите новую прокладку и пробку крышки цепного привода газораспределительного механизма.

      Torque:
      30 Н*м  { 306 кгс*см, 22 фунт-сила-фута }
  39. УСТАНОВИТЕ КРЫШКУ ЦЕПНОГО ПРИВОДА ГАЗОРАСПРЕДЕЛИТЕЛЬНОГО МЕХАНИЗМА В СБОРЕ

    Нажмите здесь Click here

  40. УСТАНОВИТЕ ПРАВЫЙ КРОНШТЕЙН ОПОРЫ ДВИГАТЕЛЯ

    Нажмите здесь Click here

  41. УСТАНОВИТЕ САЛЬНИК КРЫШКИ ЦЕПНОГО ПРИВОДА ГАЗОРАСПРЕДЕЛИТЕЛЬНОГО МЕХАНИЗМА

    Нажмите здесь Click here

  42. УСТАНОВИТЕ ПРОКЛАДКУ ТРУБКИ СВЕЧНОГО КОЛОДЦА

    Нажмите здесь Click here

  43. УСТАНОВИТЕ КРЫШКУ ГОЛОВКИ БЛОКА ЦИЛИНДРОВ В СБОРЕ

    Нажмите здесь Click here

  44. УСТАНОВИТЕ ШКИВ КОЛЕНЧАТОГО ВАЛА


    1. A01KC6CC01
      *a Удерживайте
      *b Поверните

      Совместите установочную шпонку шкива со шпоночной канавкой шкива коленчатого вала.

    2. Используя SST, зафиксируйте шкив коленчатого вала и вверните болт шкива.

      SST
      09213-54015
      09330-00021
      Torque:
      260 Н*м  { 2651 кгс*см, 192 фунт-сила-фута }

      Tech Tips

      Каталожный номер болта крепления для SST (приспособление для блокировки шкива коленчатого вала): 91551-80650 (количество: 2)

  45. УСТАНОВИТЕ ДАТЧИК ПОЛОЖЕНИЯ КОЛЕНЧАТОГО ВАЛА

    Нажмите здесь Click here

  46. УСТАНОВИТЕ КОЖУХ ВПУСКНОГО ПАТРУБКА ОХЛАЖДАЮЩЕЙ ЖИДКОСТИ


    1. Установите кожух впускного патрубка охлаждающей жидкости с новой прокладкой и закрепите его 4 болтами и гайкой.

      Torque:
      43 Н*м  { 438 кгс*см, 32 фунт-сила-фута }
  47. УСТАНОВИТЕ МАСЛЯНЫЙ РАДИАТОР В СБОРЕ (для моделей с масляным радиатором)

    Нажмите здесь Click here

  48. УСТАНОВИТЕ НАСОС СИСТЕМЫ ОХЛАЖДЕНИЯ В СБОРЕ

    Нажмите здесь Click here

  49. УСТАНОВИТЕ НАТЯЖИТЕЛЬ ПОЛИКЛИНОВОГО РЕМНЯ В СБОРЕ

    Нажмите здесь Click here

  50. УСТАНОВИТЕ ТЕРМОСТАТ

    Нажмите здесь Click here

  51. УСТАНОВИТЕ ВПУСКНОЙ ПАТРУБОК ОХЛАЖДАЮЩЕЙ ЖИДКОСТИ

    Нажмите здесь Click here

  52. УСТАНОВИТЕ ПЕРЕПУСКНУЮ ТРУБКУ ОХЛАЖДАЮЩЕЙ ЖИДКОСТИ № 1


    1. Установите перепускную трубку охлаждающей жидкости № 1 вместе с новой прокладкой и закрепите ее 2 гайками и болтом.

      Torque:
      10 Н*м  { 102 кгс*см, 7 фунт-сила-футов }
  53. УСТАНОВИТЕ КОРПУС СЕПАРАТОРА


    1. Нанесите тонкий слой моторного масла на новую прокладку.

    2. Установите прокладку на корпус маслоотделителя.

    3. Установите корпус сепаратора и закрепите его 2 болтами.

      Torque:
      10 Н*м  { 102 кгс*см, 7 фунт-сила-футов }
  54. УСТАНОВИТЕ КОРПУС СИСТЕМЫ ПРИНУДИТЕЛЬНОЙ ВЕНТИЛЯЦИИ КАРТЕРА


    1. A01KAX0C01
      *1 Герметик Seal Packing

      Нанесите герметик в виде сплошного валика, как показано на рисунке.

      Герметик
      Фирменный герметик Seal Packing Black от компании Toyota, Three bond 1207B или аналогичный
      Номинальный диаметр уплотнения
      2,5 - 3,5 мм (0,0984 - 0,138 дюйма)

      Note


      • Удалите все масло с контактной поверхности.

      • После нанесения герметика в течение 3 минут установите вентиляционный системы принудительной вентиляции картера и в течение 15 минут затяните болты и гайки.

    2. A01KBCSN04

      Установите кожух системы принудительной вентиляции картера и закрепите его 8 болтами и 2 гайками в порядке, показанном на рисунке.

      Torque:
      21 Н*м  { 214 кгс*см, 15 фунт-сила-футов }

      Tech Tips

      Болт A затягивается дважды.

  55. УСТАНОВИТЕ КЛАПАН ПРИНУДИТЕЛЬНОЙ ВЕНТИЛЯЦИИ КАРТЕРА

    Нажмите здесь Click here

  56. УСТАНОВИТЕ ДАТЧИК ПОЛОЖЕНИЯ РАСПРЕДВАЛА (для впускных клапанов)

    Нажмите здесь Click here

  57. УСТАНОВИТЕ ДАТЧИК ПОЛОЖЕНИЯ РАСПРЕДВАЛА (на выпуске)

    Нажмите здесь Click here

  58. УСТАНОВИТЕ ГИДРАВЛИЧЕСКИЙ КЛАПАН ИЗМЕНЕНИЯ ФАЗ В СБОРЕ (на впуске)

    Нажмите здесь Click here

  59. УСТАНОВИТЕ ГИДРАВЛИЧЕСКИЙ КЛАПАН ИЗМЕНЕНИЯ ФАЗ В СБОРЕ (на выпуске)

    Нажмите здесь Click here

  60. УСТАНОВИТЕ КРЫШКУ МАСЛОНАЛИВНОЙ ГОРЛОВИНЫ В СБОРЕ


    1. Установите прокладку на крышку маслоналивной горловины.

    2. Установите крышку маслоналивной горловины в сборе на крышку головки блока цилиндров в сборе.

  61. УСТАНОВИТЕ СВЕЧУ ЗАЖИГАНИЯ

    Нажмите здесь Click here

  62. УСТАНОВИТЕ ШАРНИР КРЫШКИ ДВИГАТЕЛЯ


    1. Установите 3 шарнира крышки двигателя.

      Torque:
      10 Н*м  { 102 кгс*см, 7 фунт-сила-футов }