ИЛЛЮСТРАЦИЯ
| *1 | КОРПУС ДРОССЕЛЬНОЙ ЗАСЛОНКИ С ЭЛЕКТРОДВИГАТЕЛЕМ В СБОРЕ | *2 | ПЕРЕПУСКНОЙ ШЛАНГ ОХЛАЖДАЮЩЕЙ ЖИДКОСТИ № 1 |
| *3 | ПЕРЕПУСКНОЙ ШЛАНГ ОХЛАЖДАЮЩЕЙ ЖИДКОСТИ № 2 | *4 | ПРОКЛАДКА |
| *5 | КРОНШТЕЙН ТОПЛИВОПРОВОДА | - | - |
|
Н*м (кгс*см, фунт-сила-фут) : Номинальный момент затяжки | ● | Деталь однократного применения |
ИЛЛЮСТРАЦИЯ
| *1 | ТОПЛИВНАЯ РАМПА | *2 | ТОПЛИВОПРОВОД В СБОРЕ |
| *3 | ШЛАНГ МЕЖДУ ШТУЦЕРОМ И ОБРАТНЫМ КЛАПАНОМ | *4 | ЭЛЕКТРОВАКУУМНЫЙ КЛАПАН В СБОРЕ (для ACIS) |
| *5 | ЖГУТ ПРОВОДОВ | *6 | ЗАЖИМ ТОПЛИВОПРОВОДА № 2 |
| *7 | РАСПОРНАЯ ВТУЛКА ТОПЛИВНОЙ РАМПЫ | *8 | ВИБРОИЗОЛЯТОР ФОРСУНКИ |
| *9 | ШЛАНГ СИСТЕМЫ ПРИНУДИТЕЛЬНОЙ ВЕНТИЛЯЦИИ КАРТЕРА № 2 | - | - |
|
Н*м (кгс*см, фунт-сила-фут) : Номинальный момент затяжки | ● | Деталь однократного применения |
ИЛЛЮСТРАЦИЯ
| *A | для TCV | - | - |
| *1 | ВПУСКНОЙ КОЛЛЕКТОР | *2 | ШЛАНГ СИСТЕМЫ ПРИНУДИТЕЛЬНОЙ ВЕНТИЛЯЦИИ КАРТЕРА № 2 |
| *3 | ЖГУТ ПРОВОДОВ | *4 | ЭЛЕКТРОВАКУУМНЫЙ КЛАПАН В СБОРЕ (для ACIS) |
| *5 | ПРОКЛАДКА | *6 | ВАКУУМНЫЙ ШЛАНГ |
| *7 | КРОНШТЕЙН ЗАЖИМА ЖГУТА ПРОВОДОВ | - | - |
|
Н*м (кгс*см, фунт-сила-фут) : Номинальный момент затяжки | ● | Деталь однократного применения |
ИЛЛЮСТРАЦИЯ
| *1 | КАТАЛИТИЧЕСКИЙ НЕЙТРАЛИЗАТОР В ВЫПУСКНОМ КОЛЛЕКТОРЕ В СБОРЕ | *2 | ОПОРА КОЛЛЕКТОРА |
| *3 | ТЕПЛОЗАЩИТНЫЙ ЭКРАН ВЫПУСКНОГО КОЛЛЕКТОРА № 1 | *4 | ТЕПЛОЗАЩИТНЫЙ ЭКРАН ВЫПУСКНОГО КОЛЛЕКТОРА № 2 |
| *5 | ОПОРА КОЛЛЕКТОРА № 2 | *6 | ПРОКЛАДКА |
| *7 | ХОМУТ ШЛАНГА РАДИАТОРА | - | - |
|
Н*м (кгс*см, фунт-сила-фут) : Номинальный момент затяжки | ● | Деталь однократного применения |
ИЛЛЮСТРАЦИЯ
| *1 | КОМПРЕССОР СИСТЕМЫ КОНДИЦИОНИРОВАНИЯ В СБОРЕ | *2 | ДАТЧИК ТЕМПЕРАТУРЫ ОХЛАЖДАЮЩЕЙ ЖИДКОСТИ |
| *3 | ТРУБКА ЩУПА ПРОВЕРКИ УРОВНЯ МАСЛА | *4 | КОНТАКТНЫЙ ДАТЧИК ДАВЛЕНИЯ МОТОРНОГО МАСЛА |
| *5 | КАТУШКА ЗАЖИГАНИЯ В СБОРЕ | *6 | КРОНШТЕЙН КОМПРЕССОРА № 1 |
| *7 | ЩУП ПРОВЕРКИ УРОВНЯ МАСЛА | *8 | КОЛЬЦЕВОЕ УПЛОТНЕНИЕ |
| *9 | ПРОКЛАДКА | *10 | ПЕРЕПУСКНОЙ ШЛАНГ ОХЛАЖДАЮЩЕЙ ЖИДКОСТИ № 1 |
| *11 | ПЕРЕПУСКНОЙ ШЛАНГ ОХЛАЖДАЮЩЕЙ ЖИДКОСТИ № 2 | - | - |
|
Н*м (кгс*см, фунт-сила-фут) : Номинальный момент затяжки | ● | Деталь однократного применения |
| ★ | Деталь с предварительно нанесенным на нее покрытием | - | - |
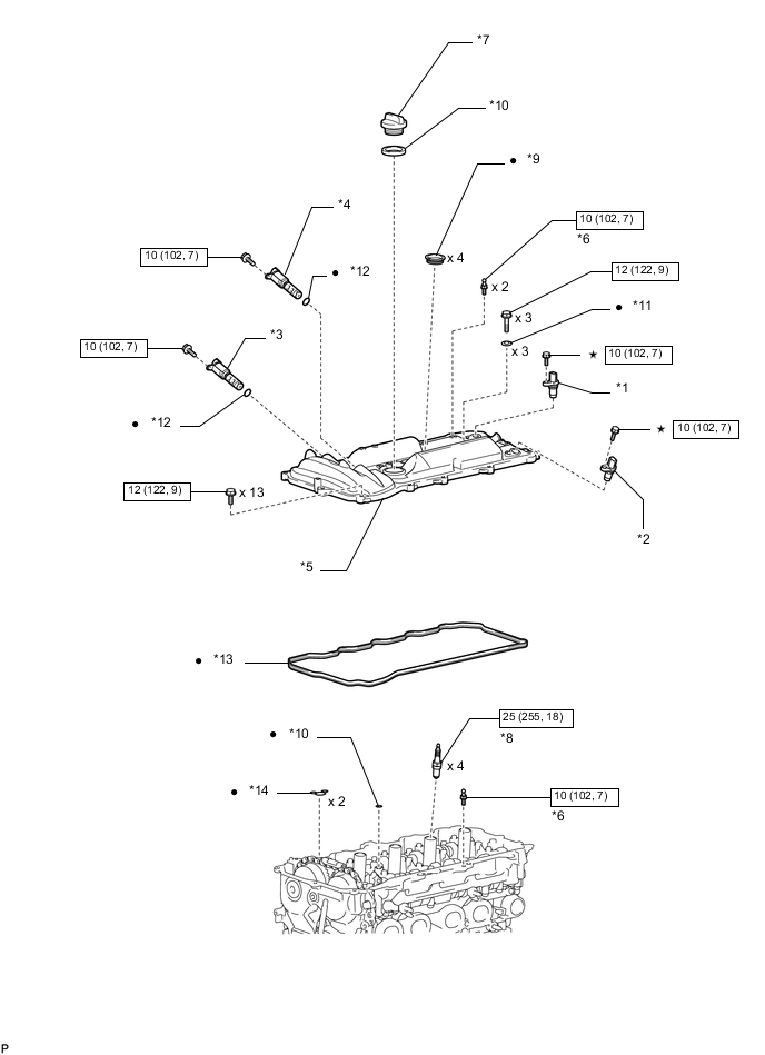
ИЛЛЮСТРАЦИЯ
| *1 | ДАТЧИК ПОЛОЖЕНИЯ РАСПРЕДВАЛА (для впускных клапанов) | *2 | ДАТЧИК ПОЛОЖЕНИЯ РАСПРЕДВАЛА (для выпускных клапанов) |
| *3 | ГИДРАВЛИЧЕСКИЙ КЛАПАН ИЗМЕНЕНИЯ ФАЗ В СБОРЕ (на впуске) | *4 | ГИДРАВЛИЧЕСКИЙ КЛАПАН ИЗМЕНЕНИЯ ФАЗ В СБОРЕ (на выпуске) |
| *5 | КРЫШКА ГОЛОВКИ БЛОКА ЦИЛИНДРОВ В СБОРЕ | *6 | СОЕДИНЕНИЕ КРЫШКИ ДВИГАТЕЛЯ |
| *7 | КРЫШКА МАСЛОНАЛИВНОЙ ГОРЛОВИНЫ В СБОРЕ | *8 | СВЕЧА ЗАЖИГАНИЯ |
| *9 | ПРОКЛАДКА ТРУБКИ СВЕЧНОГО КОЛОДЦА | *10 | ПРОКЛАДКА |
| *11 | УПЛОТНИТЕЛЬНАЯ ШАЙБА | *12 | КОЛЬЦЕВОЕ УПЛОТНЕНИЕ |
| *13 | ПРОКЛАДКА КРЫШКИ ГОЛОВКИ БЛОКА ЦИЛИНДРОВ | *14 | ПРОКЛАДКА МАСЛЯНОГО ОТВЕРСТИЯ КРЫШКИ ПОДШИПНИКА РАСПРЕДВАЛА |
|
Н*м (кгс*см, фунт-сила-фут) : Номинальный момент затяжки | ● | Деталь однократного применения |
| ★ | Деталь с предварительно нанесенным на нее покрытием | - | - |
ИЛЛЮСТРАЦИЯ
| *A | Для моделей с масляным радиатором | B | Для моделей с крышкой |
| *C | Для моделей без крышки | - | - |
| *1 | ПРОТИВОПЫЛЕВОЙ КОЛПАК | *2 | НАСОС СИСТЕМЫ ОХЛАЖДЕНИЯ ДВИГАТЕЛЯ В СБОРЕ |
| *3 | ПЕРЕПУСКНОЙ ПАТРУБОК ОХЛАЖДАЮЩЕЙ ЖИДКОСТИ № 1 | *4 | МАСЛЯНЫЙ РАДИАТОР |
| *5 | КОРПУС СИСТЕМЫ ПРИНУДИТЕЛЬНОЙ ВЕНТИЛЯЦИИ КАРТЕРА | *6 | КЛАПАН ПРИНУДИТЕЛЬНОЙ ВЕНТИЛЯЦИИ КАРТЕРА |
| *7 | КОРПУС СЕПАРАТОРА | *8 | ТЕРМОСТАТ |
| *9 | НАТЯЖИТЕЛЬ ПОЛИКЛИНОВОГО РЕМНЯ В СБОРЕ | *10 | ВПУСКНОЙ ВОДЯНОЙ ПАТРУБОК |
| *11 | КОЖУХ ВПУСКНОГО ПАТРУБКА ОХЛАЖДАЮЩЕЙ ЖИДКОСТИ | *12 | ШЛАНГ СИСТЕМЫ ПРИНУДИТЕЛЬНОЙ ВЕНТИЛЯЦИИ КАРТЕРА № 2 |
| *13 | ПРОКЛАДКА | *14 | ПУСТОТЕЛЫЙ СОЕДИНИТЕЛЬНЫЙ БОЛТ-ШТУЦЕР |
| *15 | УПЛОТНИТЕЛЬНАЯ ШАЙБА | - | - |
|
Н*м (кгс*см, фунт-сила-фут) : Номинальный момент затяжки | ● | Деталь однократного применения |
| ★ | Деталь с предварительно нанесенным на нее покрытием | - | - |
ИЛЛЮСТРАЦИЯ
| *1 | ЗУБЧАТОЕ КОЛЕСО РАСПРЕДВАЛА ВЫПУСКНЫХ КЛАПАНОВ В СБОРЕ | *2 | ЗУБЧАТОЕ КОЛЕСО РАСПРЕДВАЛА В СБОРЕ |
| *3 | ЦЕПЬ ПРИВОДА ГАЗОРАСПРЕДЕЛИТЕЛЬНОГО МЕХАНИЗМА | *4 | БАШМАК НАТЯЖИТЕЛЯ ЦЕПИ |
| *5 | ДАТЧИК ПОЛОЖЕНИЯ КОЛЕНЧАТОГО ВАЛА | *6 | ШКИВ КОЛЕНЧАТОГО ВАЛА |
| *7 | ВЕДУЩАЯ ЗВЕЗДОЧКА ЦЕПИ ГРМ НА КОЛЕНЧАТОМ ВАЛУ | *8 | ПРАВЫЙ КРОНШТЕЙН ОПОРЫ ДВИГАТЕЛЯ |
| *9 | НАТЯЖИТЕЛЬ ЦЕПИ № 1 В СБОРЕ | *10 | УСПОКОИТЕЛЬ ЦЕПИ № 1 |
| *11 | КРЫШКА ЦЕПНОГО ПРИВОДА ГАЗОРАСПРЕДЕЛИТЕЛЬНОГО МЕХАНИЗМА В СБОРЕ | *12 | САЛЬНИК КРЫШКИ ЦЕПНОГО ПРИВОДА ГАЗОРАСПРЕДЕЛИТЕЛЬНОГО МЕХАНИЗМА |
| *13 | ПЛАСТИНА КРЫШКИ ЦЕПНОГО ПРИВОДА ГАЗОРАСПРЕДЕЛИТЕЛЬНОГО МЕХАНИЗМА | *14 | ПРОБКА КРЫШКИ ЦЕПНОГО ПРИВОДА ГАЗОРАСПРЕДЕЛИТЕЛЬНОГО МЕХАНИЗМА |
| *15 | НАПРАВЛЯЮЩАЯ ЦЕПНОГО ПРИВОДА ГАЗОРАСПРЕДЕЛИТЕЛЬНОГО МЕХАНИЗМА | *16 | ПРОКЛАДКА |
| *17 | ПРОКЛАДКА МАСЛЯНОГО НАСОСА | *18 | ПРОКЛАДКА КРЫШКИ СМАЗОЧНОГО ОТВЕРСТИЯ |
|
Н*м (кгс*см, фунт-сила-фут) : Номинальный момент затяжки | ● | Деталь однократного применения |
|
Универсальная консистентная смазка | ★ | Деталь с предварительно нанесенным на нее покрытием |
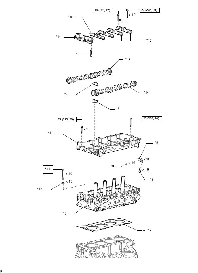
ИЛЛЮСТРАЦИЯ
| *1 | КОЖУХ РАСПРЕДВАЛА В СБОРЕ | *2 | ПРОКЛАДКА ГОЛОВКИ БЛОКА ЦИЛИНДРОВ |
| *3 | ГОЛОВКА БЛОКА ЦИЛИНДРОВ В СБОРЕ | *4 | ПОДШИПНИК РАСПРЕДВАЛА № 1 |
| *5 | РЫЧАГ ПРИВОДА КЛАПАНА № 1 В СБОРЕ | *6 | ПОДШИПНИК РАСПРЕДВАЛА № 2 |
| *7 | ФИЛЬТР ГИДРАВЛИЧЕСКОГО КЛАПАНА ИЗМЕНЕНИЯ ФАЗ | *8 | МЕХАНИЗМ РЕГУЛИРОВКИ ЗАЗОРА В ПРИВОДЕ КЛАПАНА В СБОРЕ |
| *9 | КОЛПАК ШТОКА КЛАПАНА | *10 | КРЫШКА ПОДШИПНИКА РАСПРЕДВАЛА № 2 |
| *11 | КРЫШКА ПОДШИПНИКА РАСПРЕДВАЛА № 1 | *12 | КРЫШКА ПОДШИПНИКА РАСПРЕДВАЛА № 3 |
| *13 | РАСПРЕДВАЛ | *14 | РАСПРЕДВАЛ № 2 |
| *15 | ПЛОСКАЯ ШАЙБА | - | - |
|
Н*м (кгс*см, фунт-сила-фут) : Номинальный момент затяжки | ● | Деталь однократного применения |
| *T1 | 1-й: 36 (367, 27) 2-й: 36 (367, 27) 3-й: Доверните на 90° 4-й: Доверните на 90° |
- | - |
ИЛЛЮСТРАЦИЯ
| *1 | РАСПОРНАЯ ДЕТАЛЬ ВОДЯНОЙ РУБАШКИ БЛОКА ЦИЛИНДРОВ | *2 | БАЛАНСИРОВОЧНЫЙ УЗЕЛ ДВИГАТЕЛЯ В СБОРЕ |
| *3 | ОТРАЖАТЕЛЬ МАСЛЯНОГО ПОДДОНА № 1 | *4 | ФИЛЬТРУЮЩИЙ ЭЛЕМЕНТ МАСЛЯНОГО ФИЛЬТРА |
| *5 | МАСЛЯНЫЙ ПОДДОН В СБОРЕ | *6 | МАСЛОПРИЕМНИК С СЕТЧАТЫМ ФИЛЬТРОМ В СБОРЕ |
| *7 | ЗАДНИЙ САЛЬНИК ДВИГАТЕЛЯ | *8 | КАРТЕР С РЕБРАМИ ЖЕСТКОСТИ В СБОРЕ |
| *9 | БЛОК ЦИЛИНДРОВ | *10 | КОЛЬЦЕВОЕ УПЛОТНЕНИЕ |
| *11 | КРЫШКА МАСЛЯНОГО ФИЛЬТРА В СБОРЕ | *12 | ПРОКЛАДКА |
| *13 | ПРОБКА СЛИВНОГО ОТВЕРСТИЯ МАСЛЯНОГО ПОДДОНА | - | - |
|
Н*м (кгс*см, фунт-сила-фут) : Номинальный момент затяжки | ● | Деталь однократного применения |
|
Универсальная консистентная смазка | ★ | Деталь с предварительно нанесенным на нее покрытием |