ИЛЛЮСТРАЦИЯ
| *1 | КОРПУС ДРОССЕЛЬНОЙ ЗАСЛОНКИ С ЭЛЕКТРОДВИГАТЕЛЕМ В СБОРЕ | *2 | ПЕРЕПУСКНОЙ ШЛАНГ ОХЛАЖДАЮЩЕЙ ЖИДКОСТИ № 1 |
| *3 | ПЕРЕПУСКНОЙ ШЛАНГ ОХЛАЖДАЮЩЕЙ ЖИДКОСТИ № 2 | *4 | ПРОКЛАДКА |
| *5 | КРОНШТЕЙН ТОПЛИВОПРОВОДА | - | - |
|
Н*м (кгс*см, фунт-сила-фут) : Номинальный момент затяжки | ● | Деталь однократного применения |
ИЛЛЮСТРАЦИЯ
| *1 | ТОПЛИВНАЯ РАМПА | *2 | ТОПЛИВОПРОВОД В СБОРЕ |
| *3 | ШЛАНГ МЕЖДУ ШТУЦЕРОМ И ОБРАТНЫМ КЛАПАНОМ | *4 | ЭЛЕКТРОВАКУУМНЫЙ КЛАПАН В СБОРЕ (для ACIS) |
| *5 | ЖГУТ ПРОВОДОВ | *6 | ЗАЖИМ ТОПЛИВОПРОВОДА № 2 |
| *7 | РАСПОРНАЯ ВТУЛКА ТОПЛИВНОЙ РАМПЫ | *8 | ВИБРОИЗОЛЯТОР ФОРСУНКИ |
| *9 | ШЛАНГ СИСТЕМЫ ПРИНУДИТЕЛЬНОЙ ВЕНТИЛЯЦИИ КАРТЕРА № 2 | - | - |
|
Н*м (кгс*см, фунт-сила-фут) : Номинальный момент затяжки | ● | Деталь однократного применения |
ИЛЛЮСТРАЦИЯ
| *A | для TCV | - | - |
| *1 | ВПУСКНОЙ КОЛЛЕКТОР | *2 | ШЛАНГ СИСТЕМЫ ПРИНУДИТЕЛЬНОЙ ВЕНТИЛЯЦИИ КАРТЕРА № 2 |
| *3 | ЖГУТ ПРОВОДОВ | *4 | ЭЛЕКТРОВАКУУМНЫЙ КЛАПАН В СБОРЕ (для ACIS) |
| *5 | ПРОКЛАДКА | *6 | ВАКУУМНЫЙ ШЛАНГ |
| *7 | КРОНШТЕЙН ЗАЖИМА ЖГУТА ПРОВОДОВ | - | - |
|
Н*м (кгс*см, фунт-сила-фут) : Номинальный момент затяжки | ● | Деталь однократного применения |
ИЛЛЮСТРАЦИЯ
| *1 | КОЖУХ РАСПРЕДВАЛА В СБОРЕ | *2 | ЗУБЧАТОЕ КОЛЕСО РАСПРЕДВАЛА ВЫПУСКНЫХ КЛАПАНОВ В СБОРЕ |
| *3 | ЗУБЧАТОЕ КОЛЕСО РАСПРЕДВАЛА В СБОРЕ | *4 | ЦЕПЬ ПРИВОДА ГАЗОРАСПРЕДЕЛИТЕЛЬНОГО МЕХАНИЗМА |
| *5 | БАШМАК НАТЯЖИТЕЛЯ ЦЕПИ | *6 | ПОДШИПНИК РАСПРЕДВАЛА № 1 |
| *7 | НАТЯЖИТЕЛЬ ЦЕПИ № 1 В СБОРЕ | *8 | УСПОКОИТЕЛЬ ЦЕПИ № 1 |
| *9 | РЫЧАГ ПРИВОДА КЛАПАНА № 1 В СБОРЕ | *10 | ПОДШИПНИК РАСПРЕДВАЛА № 2 |
| *11 | ФИЛЬТР ГИДРАВЛИЧЕСКОГО КЛАПАНА ИЗМЕНЕНИЯ ФАЗ | *12 | НАПРАВЛЯЮЩАЯ ЦЕПНОГО ПРИВОДА ГАЗОРАСПРЕДЕЛИТЕЛЬНОГО МЕХАНИЗМА |
| *13 | МЕХАНИЗМ РЕГУЛИРОВКИ ЗАЗОРА В ПРИВОДЕ КЛАПАНА В СБОРЕ | *14 | КРЫШКА ПОДШИПНИКА РАСПРЕДВАЛА № 2 |
| *15 | КРЫШКА ПОДШИПНИКА РАСПРЕДВАЛА № 1 | *16 | КРЫШКА ПОДШИПНИКА РАСПРЕДВАЛА № 3 |
| *17 | РАСПРЕДВАЛ | *18 | РАСПРЕДВАЛ № 2 |
| *19 | ПРОКЛАДКА | - | - |
|
Н*м (кгс*см, фунт-сила-фут) : Номинальный момент затяжки | ● | Деталь однократного применения |
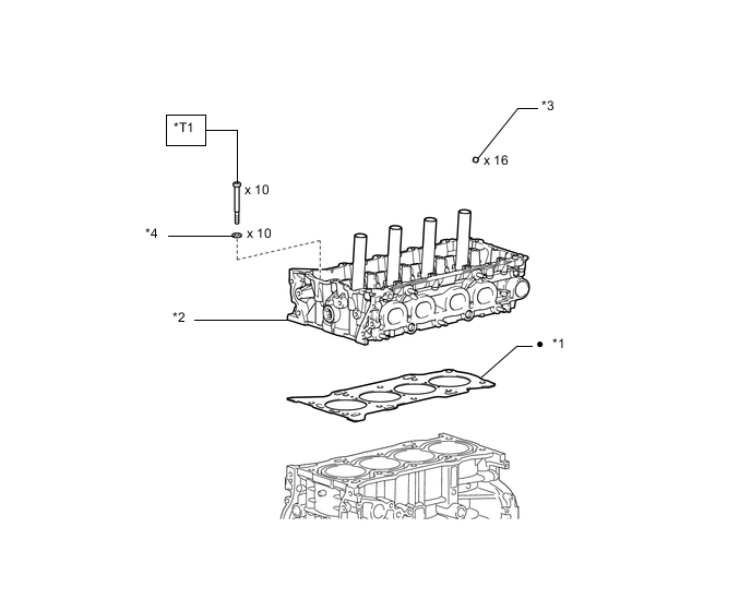
ИЛЛЮСТРАЦИЯ
| *1 | ПРОКЛАДКА ГОЛОВКИ БЛОКА ЦИЛИНДРОВ | *2 | ГОЛОВКА БЛОКА ЦИЛИНДРОВ |
| *3 | КОЛПАК ШТОКА КЛАПАНА | *4 | ПЛОСКАЯ ШАЙБА |
|
Н*м (кгс*см, фунт-сила-фут) : Номинальный момент затяжки | ● | Деталь однократного применения |
| *T1 | 1-й: 36 Н*м (367 кгс*см, 27 фунт-сила-дюймов) 2-й: 36 Н*м (367 кгс*см, 27 фунт-сила-дюймов) 3-й: Доверните на 90° 4-й: Доверните на 90° |
- | - |