СИСТЕМА ПОДУШЕК БЕЗОПАСНОСТИ Цепь контактов TC и CG

ОПИСАНИЕ

Для входа в режим вывода кодов DTC необходимо соединить контакты TC и CG диагностического разъема DLC3.

На коды DTC указывает мигание контрольной лампы аварийного состояния SRS.

Tech Tips


  • Если несколько контрольных ламп аварийного состояния в щитке приборов постоянно мигают, можно предположить короткое замыкание на массу в жгуте проводов или в ЭБУ, соединенном с контактом TC разъема DLC3.

  • Сигнал режима вывода кодов DTC передается через систему передачи данных СAN каждому ЭБУ, в том числе на блок управления системы SRS. Таким образом, если многие системы не входят в режим вывода кодов DTC, возможно, неисправен ECM.

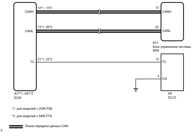
СХЕМА ЭЛЕКТРИЧЕСКИХ СОЕДИНЕНИЙ

A01MYZGE22

ПОРЯДОК ВЫПОЛНЕНИЯ


  1. ПРОВЕРЬТЕ ЖГУТ ПРОВОДОВ (КОНТАКТ ТС НА DLC3 - КОНТАКТ ТС НА ECM)


    1. Выключите зажигание.

      A01MUPEC01
      *A Для моделей с 2GR-FSE *B Для моделей с 8AR-FTS
      *1 DLC3 - -
      *a

      Вид спереди разъема со стороны жгута проводов:

      (к ECM)

      - -
    2. Отсоедините разъем от ЭБУ.

    3. Измерьте сопротивление в соответствии со значениями, приведенными в таблице ниже.

      Номинальное сопротивление
      Для моделей с 2GR-FSE:
      Подключение диагностического прибора Условие Заданные условия
      K9-13 (TC) - A77-21 (TC) Всегда Менее 1 Ом
      Для моделей с 8AR-FTS:
      Подключение диагностического прибора Условие Заданные условия
      K9-13 (TC) - A91-33 (TC) Всегда Менее 1 Ом
      Результат
      Следующий шаг
      OK
      NG

    NG
    OK
  2. ПРОВЕРЬТЕ ЖГУТ ПРОВОДОВ (КОНТАКТ CG РАЗЪЕМА DLC3 - МАССА)


    1. A01MU5DC15
      *1 DLC3

      Измерьте сопротивление в соответствии со значениями, приведенными в таблице ниже.

      Номинальное сопротивление
      Подключение диагностического прибора Условие Заданные условия
      K9-4 (CG) - масса Всегда Менее 1 Ом
      Результат
      Следующий шаг
      OK
      NG

    NG
    OK
  3. ПРОВЕРЬТЕ ЖГУТ ПРОВОДОВ (КОНТАКТ ТС НА DLC3 - МАССА)


    1. A01MU5DC16
      *1 DLC3

      Измерьте сопротивление в соответствии со значениями, приведенными в таблице ниже.

      Номинальное сопротивление
      Подключение диагностического прибора Условие Заданные условия
      K9-13 (TC) - масса Всегда 1 МОм или более
      Результат
      Следующий шаг
      OK
      NG

    OK
    NG