СИСТЕМА ПОДУШЕК БЕЗОПАСНОСТИ, Diagnostic DTC:B1820/55, B1821/55, B1822/55, B1823/55

Код DTC Наименование DTC
B1820/55 Короткое замыкание в цепи правого бокового пиропатрона
B1821/55 Обрыв цепи правого бокового пиропатрона
B1822/55 Короткое замыкание на GND в цепи правого бокового пиропатрона
B1823/55 Короткое замыкание на B+ в цепи правого бокового пиропатрона

ОПИСАНИЕ

Цепь правого бокового пиропатрона включает центральный блок управления системы SRS и подушку безопасности правого переднего сиденья.

Центральный блок управления системы SRS использует эту цепь для развертывания подушки безопасности, когда выполняются условия развертывания.

Данные коды DTC регистрируются при обнаружении неисправности в цепи правого бокового пиропатрона.

№ DTC Неисправность Условие обнаружения DTC Неисправный участок Режим диагностики / режим проверки
B1820/55 Короткое замыкание в цепи правого бокового пиропатрона
  • Блок управления системы SRS обнаруживает короткое замыкание в цепи пиропатрона правой боковой подушки безопасности в ходе выполнения первичной проверки.

  • Неисправность правого бокового пиропатрона

  • Неисправность блока управления системы SRS


  • Напольный провод

  • Правый боковой пиропатрон (подушка безопасности правого переднего сиденья в сборе)

  • Блок управления системы SRS

Относится к режиму проверки
B1821/55 Обрыв цепи правого бокового пиропатрона
  • Блок управления системы SRS обнаруживает обрыв в цепи пиропатрона правой боковой подушки безопасности.

  • Неисправность правого бокового пиропатрона

  • Неисправность блока управления системы SRS


  • Напольный провод

  • Правый боковой пиропатрон (подушка безопасности правого переднего сиденья в сборе)

  • Блок управления системы SRS

Относится к режиму проверки
B1822/55 Короткое замыкание на GND в цепи правого бокового пиропатрона
  • Блок управления системы SRS обнаруживает короткое замыкание на массу в цепи пиропатрона правой боковой подушки безопасности.

  • Неисправность правого бокового пиропатрона

  • Неисправность блока управления системы SRS


  • Напольный провод

  • Правый боковой пиропатрон (подушка безопасности правого переднего сиденья в сборе)

  • Блок управления системы SRS

Относится к режиму проверки
B1823/55 Короткое замыкание на B+ в цепи правого бокового пиропатрона
  • Блок управления системы SRS обнаруживает короткое замыкание на B+ в цепи пиропатрона правой боковой подушки безопасности.

  • Неисправность правого бокового пиропатрона

  • Неисправность блока управления системы SRS


  • Напольный провод

  • Правый боковой пиропатрон (подушка безопасности правого переднего сиденья в сборе)

  • Блок управления системы SRS

Относится к режиму проверки

СХЕМА ЭЛЕКТРИЧЕСКИХ СОЕДИНЕНИЙ

A01MYJPE22
*a Po1
*b Правый боковой пиропатрон (правая подушка безопасности передних сидений в сборе)
*c Блок управления системы SRS

ПРЕДОСТЕРЕЖЕНИЕ / ПРИМЕЧАНИЕ / УКАЗАНИЕ

Note

После выключения зажигания следует подождать некоторое время, прежде чем отсоединять провод от отрицательного (-) вывода аккумуляторной батареи. Поэтому, прежде чем приступать к этой работе, обязательно ознакомьтесь с примечанием относительно отсоединения провода от отрицательного (-) вывода аккумуляторной батареи.

Нажмите здесь Click here

Tech Tips


  • Выполните проверку с имитацией условий возникновения неисправности, выбрав на GTS режим проверки (Signal Check).

    Нажмите здесь Click here

  • Выбрав режим проверки (Signal Check), выполните проверку с имитацией условий возникновения неисправности, пошевелив каждый разъем системы подушек безопасности или совершив поездку по городским дорогам или дорогам без покрытия

    Нажмите здесь Click here

ПОРЯДОК ВЫПОЛНЕНИЯ


  1. ПРОВЕРЬТЕ РАЗЪЕМЫ


    1. A01MU6BC01
      *1 Правая подушка безопасности передних сидений в сборе
      *2 Блок управления системы SRS
      *3 Напольный провод

      Выключите зажигание.

    2. Отсоедините провод от отрицательного (-) вывода аккумуляторной батареи.

      CAUTION:

      После отсоединения провода от отрицательного (-) вывода аккумуляторной батареи подождите не менее 90 с, чтобы предотвратить срабатывание системы SRS.

    3. Проверьте правильность подключения разъемов к подушке безопасности правого переднего сиденья и центральному блоку управления системы SRS.

      OK
      Разъемы подсоединены должным образом.

      Tech Tips

      Если разъемы подсоединены ненадежно, подсоедините их и перейдите к следующей проверке.

    4. Отсоедините разъемы от подушки безопасности правого переднего сиденья и центрального блока управления системы SRS.

    5. Убедитесь, что контакты разъемов не повреждены.

      OK
      Контакты не деформированы и не повреждены.
    6. Убедитесь, что короткая пружина для напольного провода с механизмом предотвращения срабатывания не деформирована и не повреждена.

      OK
      Короткая пружина не деформирована и не повреждена.
      Результат
      Следующий шаг
      OK
      NG

    NG
    OK
  2. ПРОВЕРЬТЕ ПОДУШКУ БЕЗОПАСНОСТИ ПРАВОГО ПЕРЕДНЕГО СИДЕНЬЯ В СБОРЕ


    1. A01MXJSC05
      *1 Правая подушка безопасности передних сидений в сборе
      *2 Блок управления системы SRS
      *a

      Вид спереди разъема со стороны жгута проводов:

      (к подушке безопасности правого переднего сиденья в сборе)

      Подсоедините разъем к блоку управления системы SRS.

    2. Подсоедините SST (сопротивление 2,1 Ом) к разъему С.

      CAUTION:

      Никогда не подключайте для измерения диагностический прибор к подушке безопасности правого переднего сиденья в сборе, так как это может привести к серьезной травме вследствие срабатывания подушки безопасности.

      Note


      • При подсоединении не следует вставлять SST в контакты разъема с усилием.

      • Вставляйте SST в контакты разъема по прямой.

      SST
      09843-18061
    3. Подсоедините провод к отрицательному (-) выводу аккумуляторной батареи.

    4. Удалите коды DTC, сохраненные в памяти.

      Нажмите здесь Click here


      Body Electrical > SRS Airbag > Clear DTCs
    5. Выключите зажигание.

    6. Включите зажигание (IG) и подождите не менее 60 с.

    7. Проверьте наличие кодов DTC.

      Нажмите здесь Click here


      Body Electrical > SRS Airbag > Trouble Codes
      OK
      Код DTC B1820/55, B1821/55, B1822/55 или B1823/55 не выводится.

      Tech Tips

      На этом этапе могут выводиться коды, отличные от кодов DTC B1820/55, B1821/55, B1822/55 и B1823/55, однако они не связаны с данной проверкой.

    8. Выключите зажигание.

    9. Отсоедините провод от отрицательного (-) вывода аккумуляторной батареи.

      CAUTION:

      После отсоединения провода от отрицательного (-) вывода аккумуляторной батареи подождите не менее 90 с, чтобы предотвратить срабатывание системы SRS.

    10. Отсоедините SST от разъема С.

      Результат
      Следующий шаг
      OK
      NG

    OK
    NG
  3. ПРОВЕРЬТЕ НАПОЛЬНЫЙ ПРОВОД


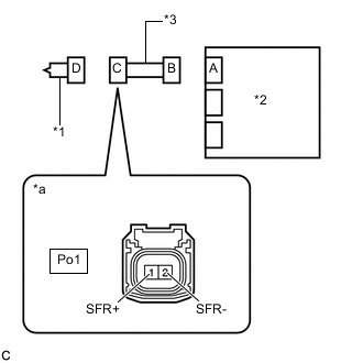
    1. A01MVL6C11
      *1 Правая подушка безопасности передних сидений в сборе
      *2 Блок управления системы SRS
      *3 Напольный провод
      *a

      Вид спереди разъема со стороны жгута проводов:

      (к подушке безопасности правого переднего сиденья в сборе)

      Отсоедините напольный провод от центрального блока управления системы SRS.

    2. Проверьте, нет ли в цепи короткого замыкания на B+.


      1. Подсоедините провод к отрицательному (-) выводу аккумуляторной батареи.

      2. Включите зажигание (IG).

      3. Измерьте напряжение в соответствии со значениями, приведенными в таблице.

        Номинальное напряжение
        Подключение диагностического прибора Условие Заданные условия
        Po1-1 (SFR+) - масса Зажигание включено (IG) Менее 1 В
        Po1-2 (SFR-) - масса Зажигание включено (IG) Менее 1 В
      4. Выключите зажигание.

      5. Отсоедините провод от отрицательного (-) вывода аккумуляторной батареи.

        CAUTION:

        После отсоединения провода от отрицательного (-) вывода аккумуляторной батареи подождите не менее 90 с, чтобы предотвратить срабатывание системы SRS.

    3. Проверьте, нет ли в цепи обрыва.


      1. Измерьте сопротивление в соответствии со значениями, приведенными в таблице ниже.

        Номинальное сопротивление
        Подключение диагностического прибора Условие Заданные условия
        Po1-1 (SFR+) - Po1-2 (SFR-) Всегда Менее 1 Ом
    4. Проверьте, нет ли в цепи короткого замыкания на массу.


      1. Измерьте сопротивление в соответствии со значениями, приведенными в таблице ниже.

        Номинальное сопротивление
        Подключение диагностического прибора Условие Заданные условия
        Po1-1 (SFR+) - масса Всегда 1 МОм или более
        Po1-2 (SFR-) - масса Всегда 1 МОм или более
    5. Проверьте, нет ли в цепи короткого замыкания.


      1. Разомкните механизм предотвращения срабатывания, встроенный в разъем B.

        Нажмите здесь Click here

      2. Измерьте сопротивление в соответствии со значениями, приведенными в таблице ниже.

        Номинальное сопротивление
        Подключение диагностического прибора Условие Заданные условия
        Po1-1 (SFR+) - Po1-2 (SFR-) Всегда 1 МОм или более
      3. Верните механизм предотвращения срабатывания разъема B в исходное состояние.

      Результат
      Следующий шаг
      OK
      NG

    NG
    OK
  4. ПРОВЕРЬТЕ DTC


    1. A01MYIRC01
      *1 Правая подушка безопасности передних сидений в сборе
      *2 Блок управления системы SRS

      Подсоедините разъемы к подушке безопасности правого переднего сиденья и центральному блоку управления системы SRS.

    2. Подсоедините провод к отрицательному (-) выводу аккумуляторной батареи.

    3. Удалите коды DTC, сохраненные в памяти.

      Нажмите здесь Click here


      Body Electrical > SRS Airbag > Clear DTCs
    4. Выключите зажигание.

    5. Включите зажигание (IG) и подождите не менее 60 с.

    6. Проверьте наличие кодов DTC.

      Нажмите здесь Click here


      Body Electrical > SRS Airbag > Trouble Codes
      OK
      Код DTC B1820/55, B1821/55, B1822/55 или B1823/55 не выводится.

      Tech Tips

      На этом этапе могут выводиться коды, отличные от кодов DTC B1820/55, B1821/55, B1822/55 и B1823/55, однако они не связаны с данной проверкой.

      Результат
      Следующий шаг
      OK
      NG

    OK
    NG