СИСТЕМА ПОДУШЕК БЕЗОПАСНОСТИ, Diagnostic DTC:B1622/81, B1623/81, B1632/81, B1633/81, B1642/81

Код DTC Наименование DTC
B1622/81 - Нарушение связи с правым боковым датчиком системы SRS
B1623/81 Не завершена инициализация правого бокового датчика системы SRS
B1632/81 Нарушение связи с правым задним датчиком системы SRS
B1633/81 Не завершена инициализация правого заднего датчика системы SRS
B1642/81 Нарушение связи с шиной правого бокового вспомогательного датчика

ОПИСАНИЕ

Цепь правого бокового датчика системы SRS (для определения необходимости активации подушки безопасности правого переднего сиденья в сборе, подушки безопасности правого заднего сиденья*, правой подушки безопасности занавесочного типа в сборе и правого переднего ремня с катушкой и преднатяжителем в сборе) включает в себя центральный блок управления системы SRS, правый боковой датчик системы SRS и правый задний датчик системы SRS.

Правый боковой датчик системы SRS и правый задний датчик системы SRS обнаруживают удар автомобиля при столкновении и посылают сигналы в блок управления системы SRS, который определяет необходимость активации подушек безопасности и преднатяжителей.

Эти коды DTC регистрируются при обнаружении неисправности в цепи правого бокового датчика системы SRS.

№ DTC Неисправность Условие обнаружения DTC Неисправный участок Режим диагностики / режим проверки
B1622/81 - Нарушение связи с правым боковым датчиком системы SRS
  • Датчик системы SRS обнаруживает сигнал короткого замыкания в линии, короткого замыкания на массу или B+, или обрыва в цепи правого бокового датчика системы SRS.

  • Неисправность правого бокового датчика системы SRS в сборе

  • Неисправность правого заднего датчика системы SRS

  • Неисправность блока управления системы SRS


  • Напольный провод

  • Правый боковой датчик системы SRS в сборе

  • Правый задний датчик системы SRS

  • Блок управления системы SRS

Не относится к режиму диагностики/проверки
B1623/81 Не завершена инициализация правого бокового датчика системы SRS
  • Датчик системы SRS обнаруживает сигнал короткого замыкания в линии, короткого замыкания на массу или B+, или обрыва в цепи правого бокового датчика системы SRS.

  • Неисправность правого бокового датчика системы SRS в сборе

  • Неисправность правого заднего датчика системы SRS

  • Неисправность блока управления системы SRS


  • Напольный провод

  • Правый боковой датчик системы SRS в сборе

  • Правый задний датчик системы SRS

  • Блок управления системы SRS

Не относится к режиму диагностики/проверки
B1632/81 Нарушение связи с правым задним датчиком системы SRS
  • Датчик системы SRS обнаруживает сигнал короткого замыкания в линии, короткого замыкания на массу или B+, или обрыва в цепи правого бокового датчика системы SRS.

  • Неисправность правого бокового датчика системы SRS в сборе

  • Неисправность правого заднего датчика системы SRS

  • Неисправность блока управления системы SRS


  • Напольный провод

  • Правый боковой датчик системы SRS в сборе

  • Правый задний датчик системы SRS

  • Блок управления системы SRS

Не относится к режиму диагностики/проверки
B1633/81 Не завершена инициализация правого заднего датчика системы SRS
  • Датчик системы SRS обнаруживает сигнал короткого замыкания в линии, короткого замыкания на массу или B+, или обрыва в цепи правого бокового датчика системы SRS.

  • Неисправность правого бокового датчика системы SRS в сборе

  • Неисправность правого заднего датчика системы SRS

  • Неисправность блока управления системы SRS


  • Напольный провод

  • Правый боковой датчик системы SRS в сборе

  • Правый задний датчик системы SRS

  • Блок управления системы SRS

Не относится к режиму диагностики/проверки
B1642/81 Нарушение связи с шиной правого бокового вспомогательного датчика
  • Датчик системы SRS обнаруживает сигнал короткого замыкания в линии, короткого замыкания на массу или B+, или обрыва в цепи правого бокового датчика системы SRS.

  • Неисправность правого бокового датчика системы SRS в сборе

  • Неисправность правого заднего датчика системы SRS

  • Неисправность блока управления системы SRS


  • Напольный провод

  • Правый боковой датчик системы SRS в сборе

  • Правый задний датчик системы SRS

  • Блок управления системы SRS

Не относится к режиму диагностики/проверки

СХЕМА СОЕДИНЕНИЙ

A01MXCYE38
*a Правый задний датчик системы SRS
*b Правый боковой датчик системы SRS в сборе
*c Блок управления системы SRS

ПРЕДОСТЕРЕЖЕНИЕ / ПРИМЕЧАНИЕ / УКАЗАНИЕ

Note

После выключения зажигания следует подождать некоторое время, прежде чем отсоединять провод от отрицательного (-) вывода аккумуляторной батареи. Поэтому, прежде чем приступать к этой работе, обязательно ознакомьтесь с примечанием относительно отсоединения провода от отрицательного (-) вывода аккумуляторной батареи.

Нажмите здесь Click here

ПОРЯДОК ВЫПОЛНЕНИЯ


  1. ПРОВЕРЬТЕ ТЕКУЩИЕ КОДЫ DTC


    1. Проверьте текущие DTC.

      Нажмите здесь Click here


      Body Electrical > SRS Airbag > Trouble Codes

      Tech Tips


      • При выключении и включении зажигания (с поворотом ключа в положение IG) коды DTC, указывающие на ошибки передачи данных, будут заменены на коды DTC, указывающие на ошибки инициализации.

      • На этом этапе могут выводиться коды, отличные от текущих DTC B1622, B1623, B1632, B1633, B1642 и 81, однако они не связаны с данной проверкой.

      Результат
      Результат Следующий шаг
      Выводятся текущие коды DTC B1642 или 81. А
      Выводится текущий код DTC B1633. B
      Выводятся текущие коды DTC B1622 или B1623. C
      Выводится текущий код DTC B1632. D
      Текущие коды DTC B1622, B1623, B1632, B1633, B1642 и 81 не выводятся. E

    B
    C
    D
    E
    А
  2. ПРОВЕРЬТЕ РАЗЪЕМЫ


    1. Выключите зажигание.

    2. Отсоедините провод от отрицательного (-) вывода аккумуляторной батареи.

      CAUTION:

      После отсоединения провода от отрицательного (-) вывода аккумуляторной батареи подождите не менее 90 с, чтобы предотвратить срабатывание системы SRS.

    3. Проверьте правильность подключения разъемов к блоку управления системы SRS, правому боковому датчику системы SRS и правому заднему датчику системы SRS.

      OK
      Разъемы подсоединены должным образом.

      Tech Tips

      Если разъемы подсоединены ненадежно, подсоедините их и перейдите к следующей проверке.

    4. Отсоедините разъемы от блока управления системы SRS, правого бокового датчика системы SRS и правого заднего датчика системы SRS.

    5. Убедитесь, что контакты разъемов не повреждены.

      OK
      Контакты не деформированы и не повреждены.
      Результат
      Перейти к
      OK
      NG

    NG
    OK
  3. ПРОВЕРЬТЕ НАПОЛЬНЫЙ ПРОВОД (ОБРЫВ)


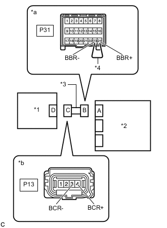
    1. A01MX0KC02
      *1 Правый задний датчик системы SRS
      *2 Блок управления системы SRS
      *3 Напольный провод
      *4 Технологический провод
      *a

      Вид спереди разъема со стороны жгута проводов:

      (блок управления системы SRS)

      *b

      Вид спереди разъема со стороны жгута проводов:

      (к правому заднему датчику системы SRS)

      С помощью технологического провода соедините контакты 24 (BBR+) и 23 (BBR-) разъема В.

      Note

      Технологический провод следует вставлять в контакты разъема без усилия.

    2. Измерьте сопротивление в соответствии со значениями, приведенными в таблице ниже.

      Номинальное сопротивление
      Подключение диагностического прибора Условие Заданные условия
      P13-4 (BCR+) - P13-3 (BCR-) Всегда Менее 1 Ом
    3. Отсоедините технологический провод от разъема В.

      Результат
      Следующий шаг
      OK
      NG

    NG
    OK
  4. ПРОВЕРЬТЕ НАПОЛЬНЫЙ ПРОВОД (КОРОТКОЕ ЗАМЫКАНИЕ)


    1. A01MX35C05
      *1 Правый задний датчик системы SRS
      *2 Блок управления системы SRS
      *3 Напольный провод
      *a

      Вид спереди разъема со стороны жгута проводов:

      (к правому заднему датчику системы SRS)

      Измерьте сопротивление в соответствии со значениями, приведенными в таблице ниже.

      Номинальное сопротивление
      Подключение диагностического прибора Условие Заданные условия
      P13-4 (BCR+) - P13-3 (BCR-) Всегда 1 МОм или более
      Результат
      Следующий шаг
      OK
      NG

    NG
    OK
  5. ПРОВЕРЬТЕ НАПОЛЬНЫЙ ПРОВОД (КОРОТКОЕ ЗАМЫКАНИЕ НА B+)


    1. A01MX35C05
      *1 Правый задний датчик системы SRS
      *2 Блок управления системы SRS
      *3 Напольный провод
      *a

      Вид спереди разъема со стороны жгута проводов:

      (к правому заднему датчику системы SRS)

      Подсоедините провод к отрицательному (-) выводу аккумуляторной батареи.

    2. Включите зажигание (IG).

    3. Измерьте напряжение в соответствии со значениями, приведенными в таблице.

      Номинальное напряжение
      Подключение диагностического прибора Условие Заданные условия
      P13-4 (BCR+) - масса Зажигание включено (IG) Менее 1 В
      P13-3 (BCR-) - масса Зажигание включено (IG) Менее 1 В
    4. Выключите зажигание.

    5. Отсоедините провод от отрицательного (-) вывода аккумуляторной батареи.

      CAUTION:

      После отсоединения провода от отрицательного (-) вывода аккумуляторной батареи подождите не менее 90 с, чтобы предотвратить срабатывание системы SRS.

      Результат
      Перейти к
      OK
      NG

    NG
    OK
  6. ПРОВЕРЬТЕ НАПОЛЬНЫЙ ПРОВОД (КОРОТКОЕ ЗАМЫКАНИЕ НА МАССУ)


    1. A01MX35C05
      *1 Правый задний датчик системы SRS
      *2 Блок управления системы SRS
      *3 Напольный провод
      *a

      Вид спереди разъема со стороны жгута проводов:

      (к правому заднему датчику системы SRS)

      Измерьте сопротивление в соответствии со значениями, приведенными в таблице ниже.

      Номинальное сопротивление
      Подключение диагностического прибора Условие Заданные условия
      P13-4 (BCR+) - масса Всегда 1 МОм или более
      P13-3 (BCR-) - масса Всегда 1 МОм или более
      Результат
      Следующий шаг
      OK
      NG

    NG
    OK
  7. ПРОВЕРЬТЕ НАПОЛЬНЫЙ ПРОВОД (ОБРЫВ)


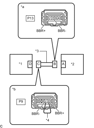
    1. A01MXJGC03
      *1 Правый боковой датчик системы SRS в сборе
      *2 Правый задний датчик системы SRS
      *3 Напольный провод
      *4 Технологический провод
      *a

      Вид спереди разъема со стороны жгута проводов:

      (к правому заднему датчику системы SRS)

      *b

      Вид спереди разъема со стороны жгута проводов:

      (к правому боковому датчику системы SRS)

      С помощью технологического провода соедините контакты 2 (BBR+) и 1 (BBR-) разъема "C".

      Note

      Технологический провод следует вставлять в контакты разъема без усилия.

    2. Измерьте сопротивление в соответствии со значениями, приведенными в таблице ниже.

      Номинальное сопротивление
      Подключение диагностического прибора Условие Заданные условия
      P13-1 (BBR+) - P13-2 (BBR-) Всегда Менее 1 Ом
    3. Отсоедините технологический провод от разъема C.

      Результат
      Перейти к
      OK
      NG

    NG
    OK
  8. ПРОВЕРЬТЕ НАПОЛЬНЫЙ ПРОВОД (КОРОТКОЕ ЗАМЫКАНИЕ)


    1. A01MY45C20
      *1 Правый боковой датчик системы SRS в сборе
      *2 Правый задний датчик системы SRS
      *3 Напольный провод
      *a

      Вид спереди разъема со стороны жгута проводов:

      (к правому заднему датчику системы SRS)

      Измерьте сопротивление в соответствии со значениями, приведенными в таблице ниже.

      Номинальное сопротивление
      Подключение диагностического прибора Условие Заданные условия
      P13-1 (BBR+) - P13-2 (BBR-) Всегда 1 МОм или более
      Результат
      Следующий шаг
      OK
      NG

    NG
    OK
  9. ПРОВЕРЬТЕ НАПОЛЬНЫЙ ПРОВОД (КОРОТКОЕ ЗАМЫКАНИЕ НА B+)


    1. A01MY45C20
      *1 Правый боковой датчик системы SRS в сборе
      *2 Правый задний датчик системы SRS
      *3 Напольный провод
      *a

      Вид спереди разъема со стороны жгута проводов:

      (к правому заднему датчику системы SRS)

      Подсоедините провод к отрицательному (-) выводу аккумуляторной батареи.

    2. Включите зажигание (IG).

    3. Измерьте напряжение в соответствии со значениями, приведенными в таблице.

      Номинальное напряжение
      Подключение диагностического прибора Условие Заданные условия
      P13-1 (BBR+) - масса Зажигание включено (IG) Менее 1 В
      P13-2 (BBR-) - масса Зажигание включено (IG) Менее 1 В
    4. Выключите зажигание.

    5. Отсоедините провод от отрицательного (-) вывода аккумуляторной батареи.

      CAUTION:

      После отсоединения провода от отрицательного (-) вывода аккумуляторной батареи подождите не менее 90 с, чтобы предотвратить срабатывание системы SRS.

      Результат
      Перейти к
      OK
      NG

    NG
    OK
  10. ПРОВЕРЬТЕ НАПОЛЬНЫЙ ПРОВОД (КОРОТКОЕ ЗАМЫКАНИЕ НА МАССУ)


    1. A01MY45C20
      *1 Правый боковой датчик системы SRS в сборе
      *2 Правый задний датчик системы SRS
      *3 Напольный провод
      *a

      Вид спереди разъема со стороны жгута проводов:

      (к правому заднему датчику системы SRS)

      Измерьте сопротивление в соответствии со значениями, приведенными в таблице ниже.

      Номинальное сопротивление
      Подключение диагностического прибора Условие Заданные условия
      P13-1 (BBR+) - масса Всегда 1 МОм или более
      P13-2 (BBR-) - масса Всегда 1 МОм или более
      Результат
      Следующий шаг
      OK
      NG

    NG
    OK
  11. ПРОВЕРЬТЕ ПРАВЫЙ ЗАДНИЙ ДАТЧИК СИСТЕМЫ SRS


    1. A01MYKBC01
      *1 Левый задний датчик системы SRS
      *2 Блок управления системы SRS

      Подсоедините разъемы к правому боковому датчику системы SRS в сборе и центральному блоку управления системы SRS.

    2. Поменяйте местами правый и левый задние датчики системы SRS в сборе и подсоедините к ним разъемы.

    3. Подсоедините провод к отрицательному выводу (-) аккумуляторной батареи.

    4. Удалите коды DTC, сохраненные в памяти.

      Нажмите здесь Click here


      Body Electrical > SRS Airbag > Clear DTCs
    5. Выключите зажигание.

    6. Включите зажигание (IG) и подождите не менее 60 с.

    7. Проверьте наличие кодов DTC.

      Нажмите здесь Click here


      Body Electrical > SRS Airbag > Trouble Codes

      Tech Tips

      На этом этапе могут выводиться коды помимо B1642, B1647, 81 и 82, однако они не связаны с данной проверкой.

      Результат
      Результат Следующий шаг
      Выводится код DTC B1642 или 81. А
      Выводится код DTC B1647 или 82. B
      Коды DTC B1642, B1647, 81 и 82 не выводятся. C
    8. Выключите зажигание.

    9. Отсоедините провод от отрицательного (-) вывода аккумуляторной батареи.

      CAUTION:

      После отсоединения провода от отрицательного (-) вывода аккумуляторной батареи подождите не менее 90 с, чтобы предотвратить срабатывание системы SRS.

    10. Установите на место левый и правый задние датчики системы SRS и подсоедините к ним разъемы.


    B
    C
    А
  12. ПРОВЕРЬТЕ ПРАВЫЙ БОКОВОЙ ДАТЧИК СИСТЕМЫ SRS


    1. A01MW49C02
      *1 Левый боковой датчик системы SRS в сборе
      *2 Правый задний датчик системы SRS

      Поменяйте местами правый и левый боковые датчики системы SRS и подсоедините к ним разъемы.

    2. Подсоедините провод к отрицательному (-) выводу аккумуляторной батареи.

    3. Удалите коды DTC, сохраненные в памяти.

      Нажмите здесь Click here


      Body Electrical > SRS Airbag > Clear DTCs
    4. Выключите зажигание.

    5. Включите зажигание (IG) и подождите не менее 60 с.

    6. Проверьте наличие кодов DTC.

      Нажмите здесь Click here


      Body Electrical > SRS Airbag > Trouble Codes

      Tech Tips

      На этом этапе могут выводиться коды помимо B1642, B1647, 81 и 82, однако они не связаны с данной проверкой.

      Результат
      Результат Перейти к
      Выводится код DTC B1642 или 81. А
      Выводится код DTC B1647 или 82. B
      Коды DTC B1642, B1647, 81 и 82 не выводятся. C
    7. Выключите зажигание.

    8. Отсоедините провод от отрицательного (-) вывода аккумуляторной батареи.

      CAUTION:

      После отсоединения провода от отрицательного (-) вывода аккумуляторной батареи подождите не менее 90 с, чтобы предотвратить срабатывание системы SRS.

    9. Установите на место правый и левый боковые датчики системы SRS и подсоедините к ним разъемы.


    А
    B
    C
  13. Проверьте архивные коды DTC


    1. Проверьте архивные DTC.

      Нажмите здесь Click here


      Body Electrical > SRS Airbag > Trouble Codes

      Tech Tips

      На этом этапе могут выводиться коды, отличные от предыдущего кода DTC B1632, однако они не связаны с данной проверкой.

      Результат
      Результат Следующий шаг
      Предыдущий код DTC B1632 не выводится. А
      Выводится архивный код DTC B1632. B

    B
    А
  14. ПРОВЕРЬТЕ РАЗЪЕМЫ


    1. Выключите зажигание.

    2. Отсоедините провод от отрицательного (-) вывода аккумуляторной батареи.

      CAUTION:

      После отсоединения провода от отрицательного (-) вывода аккумуляторной батареи подождите не менее 90 с, чтобы предотвратить срабатывание системы SRS.

    3. Проверьте правильность подключения разъемов к центральному блоку управления системы SRS и правому заднему датчику системы SRS.

      OK
      Разъемы подсоединены должным образом.

      Tech Tips

      Если разъемы подсоединены ненадежно, подсоедините их и перейдите к следующей проверке.

    4. Отсоедините разъемы от центрального блока управления системы SRS и правого заднего датчика системы SRS.

    5. Убедитесь, что контакты разъемов не повреждены.

      OK
      Контакты не деформированы и не повреждены.
      Результат
      Следующий шаг
      OK
      NG

    NG
    OK
  15. ПРОВЕРЬТЕ НАПОЛЬНЫЙ ПРОВОД (ОБРЫВ)


    1. A01MX0KC02
      *1 Правый задний датчик системы SRS
      *2 Блок управления системы SRS
      *3 Напольный провод
      *4 Технологический провод
      *a

      Вид спереди разъема со стороны жгута проводов:

      (блок управления системы SRS)

      *b

      Вид спереди разъема со стороны жгута проводов:

      (к правому заднему датчику системы SRS)

      С помощью технологического провода соедините контакты 24 (BBR+) и 23 (BBR-) разъема В.

      Note

      Технологический провод следует вставлять в контакты разъема без усилия.

    2. Измерьте сопротивление в соответствии со значениями, приведенными в таблице ниже.

      Номинальное сопротивление
      Подключение диагностического прибора Условие Заданные условия
      P13-4 (BCR+) - P13-3 (BCR-) Всегда Менее 1 Ом
    3. Отсоедините технологический провод от разъема В.

      Результат
      Перейти к
      OK
      NG

    NG
    OK
  16. ПРОВЕРЬТЕ НАПОЛЬНЫЙ ПРОВОД (КОРОТКОЕ ЗАМЫКАНИЕ)


    1. A01MX35C05
      *1 Правый задний датчик системы SRS
      *2 Блок управления системы SRS
      *3 Напольный провод
      *a

      Вид спереди разъема со стороны жгута проводов:

      (к правому заднему датчику системы SRS)

      Измерьте сопротивление в соответствии со значениями, приведенными в таблице ниже.

      Номинальное сопротивление
      Подключение диагностического прибора Условие Заданные условия
      P13-4 (BCR+) - P13-3 (BCR-) Всегда 1 МОм или более
      Результат
      Перейти к
      OK
      NG

    NG
    OK
  17. ПРОВЕРЬТЕ НАПОЛЬНЫЙ ПРОВОД (КОРОТКОЕ ЗАМЫКАНИЕ НА B+)


    1. A01MX35C05
      *1 Правый задний датчик системы SRS
      *2 Блок управления системы SRS
      *3 Напольный провод
      *a

      Вид спереди разъема со стороны жгута проводов:

      (к правому заднему датчику системы SRS)

      Подсоедините провод к отрицательному (-) выводу аккумуляторной батареи.

    2. Включите зажигание (IG).

    3. Измерьте напряжение в соответствии со значениями, приведенными в таблице.

      Номинальное напряжение
      Подключение диагностического прибора Условие Заданные условия
      P13-4 (BCR+) - масса Зажигание включено (IG) Менее 1 В
      P13-3 (BCR-) - масса Зажигание включено (IG) Менее 1 В
    4. Выключите зажигание.

    5. Отсоедините провод от отрицательного (-) вывода аккумуляторной батареи.

      CAUTION:

      После отсоединения провода от отрицательного (-) вывода аккумуляторной батареи подождите не менее 90 с, чтобы предотвратить срабатывание системы SRS.

      Результат
      Перейти к
      OK
      NG

    NG
    OK
  18. ПРОВЕРЬТЕ НАПОЛЬНЫЙ ПРОВОД (КОРОТКОЕ ЗАМЫКАНИЕ НА МАССУ)


    1. A01MX35C05
      *1 Правый задний датчик системы SRS
      *2 Блок управления системы SRS
      *3 Напольный провод
      *a

      Вид спереди разъема со стороны жгута проводов:

      (к правому заднему датчику системы SRS)

      Измерьте сопротивление в соответствии со значениями, приведенными в таблице ниже.

      Номинальное сопротивление
      Подключение диагностического прибора Условие Заданные условия
      P13-4 (BCR+) - масса Всегда 1 МОм или более
      P13-3 (BCR-) - масса Всегда 1 МОм или более
      Результат
      Перейти к
      OK
      NG

    NG
    OK
  19. ПРОВЕРЬТЕ ПРАВЫЙ ЗАДНИЙ ДАТЧИК СИСТЕМЫ SRS


    1. A01MYKBC01
      *1 Левый задний датчик системы SRS
      *2 Блок управления системы SRS

      Подсоедините разъем к блоку управления системы SRS.

    2. Поменяйте местами правый и левый задние датчики системы SRS в сборе и подсоедините к ним разъемы.

    3. Подсоедините провод к отрицательному (-) выводу аккумуляторной батареи.

    4. Удалите коды DTC, сохраненные в памяти.

      Нажмите здесь Click here


      Body Electrical > SRS Airbag > Clear DTCs
    5. Выключите зажигание.

    6. Включите зажигание (IG) и подождите не менее 60 с.

    7. Проверьте наличие кодов DTC.

      Нажмите здесь Click here


      Body Electrical > SRS Airbag > Trouble Codes

      Tech Tips

      На этом этапе могут выводиться коды, отличные от кодов DTC B1633 и B1638, однако они не связаны с данной проверкой.

      Результат
      Результат Перейти к
      Выводится DTC B1633. A
      Выводится DTC B1638. B
      Коды DTC B1633 и B1638 не выводятся. C
    8. Выключите зажигание.

    9. Отсоедините провод от отрицательного (-) вывода аккумуляторной батареи.

      CAUTION:

      После отсоединения провода от отрицательного (-) вывода аккумуляторной батареи подождите не менее 90 с, чтобы предотвратить срабатывание системы SRS.

    10. Установите на место левый и правый задние датчики системы SRS и подсоедините к ним разъемы.


    A
    B
    C
  20. ПРОВЕРЬТЕ ПРАВЫЙ ЗАДНИЙ ДАТЧИК СИСТЕМЫ SRS


    1. A01MYKBC01
      *1 Левый задний датчик системы SRS
      *2 Блок управления системы SRS

      Выключите зажигание.

    2. Отсоедините провод от отрицательного (-) вывода аккумуляторной батареи.

      CAUTION:

      После отсоединения провода от отрицательного (-) вывода аккумуляторной батареи подождите не менее 90 с, чтобы предотвратить срабатывание системы SRS.

    3. Поменяйте местами правый и левый задние датчики системы SRS в сборе и подсоедините к ним разъемы.

    4. Подсоедините провод к отрицательному (-) выводу аккумуляторной батареи.

    5. Удалите коды DTC, сохраненные в памяти.

      Нажмите здесь Click here


      Body Electrical > SRS Airbag > Clear DTCs
    6. Выключите зажигание.

    7. Включите зажигание (IG) и подождите не менее 60 с.

    8. Проверьте наличие кодов DTC.

      Нажмите здесь Click here


      Body Electrical > SRS Airbag > Trouble Codes

      Tech Tips

      На этом этапе могут выводиться коды, отличные от кодов DTC B1632 и B1637, однако они не связаны с данной проверкой.

      Результат
      Результат Перейти к
      Выводится DTC B1632. А
      Выводится DTC B1637. B
      Коды DTC B1632 и B1637 не выводятся. C
    9. Выключите зажигание.

    10. Отсоедините провод от отрицательного (-) вывода аккумуляторной батареи.

      CAUTION:

      После отсоединения провода от отрицательного (-) вывода аккумуляторной батареи подождите не менее 90 с, чтобы предотвратить срабатывание системы SRS.

    11. Установите на место левый и правый задние датчики системы SRS и подсоедините к ним разъемы.


    А
    B
    C
  21. ПРОВЕРЬТЕ РАЗЪЕМЫ


    1. Выключите зажигание.

    2. Отсоедините провод от отрицательного (-) вывода аккумуляторной батареи.

      CAUTION:

      После отсоединения провода от отрицательного (-) вывода аккумуляторной батареи подождите не менее 90 с, чтобы предотвратить срабатывание системы SRS.

    3. Проверьте правильность подключения разъемов к правому боковому датчику системы SRS и правому заднему датчику системы SRS.

      OK
      Разъемы подсоединены должным образом.

      Tech Tips

      Если разъемы подсоединены ненадежно, подсоедините их и перейдите к следующей проверке.

    4. Отсоедините разъемы от правого бокового датчика системы SRS и правого заднего датчика системы SRS.

    5. Убедитесь, что контакты разъемов не повреждены.

      OK
      Контакты не деформированы и не повреждены.
      Результат
      Перейти к
      OK
      NG

    NG
    OK
  22. ПРОВЕРЬТЕ НАПОЛЬНЫЙ ПРОВОД (ОБРЫВ)


    1. A01MXJGC03
      *1 Правый боковой датчик системы SRS в сборе
      *2 Правый задний датчик системы SRS
      *3 Напольный провод
      *4 Технологический провод
      *a

      Вид спереди разъема со стороны жгута проводов:

      (к правому заднему датчику системы SRS)

      *b

      Вид спереди разъема со стороны жгута проводов:

      (к правому боковому датчику системы SRS)

      С помощью технологического провода соедините контакты 2 (BBR+) и 1 (BBR-) разъема "C".

      Note

      Технологический провод следует вставлять в контакты разъема без усилия.

    2. Измерьте сопротивление в соответствии со значениями, приведенными в таблице ниже.

      Номинальное сопротивление
      Подключение диагностического прибора Условие Заданные условия
      P13-1 (BBR+) - P13-2 (BBR-) Всегда Менее 1 Ом
    3. Отсоедините технологический провод от разъема C.

      Результат
      Перейти к
      OK
      NG

    NG
    OK
  23. ПРОВЕРЬТЕ НАПОЛЬНЫЙ ПРОВОД (КОРОТКОЕ ЗАМЫКАНИЕ)


    1. A01MY45C20
      *1 Правый боковой датчик системы SRS в сборе
      *2 Правый задний датчик системы SRS
      *3 Напольный провод
      *a

      Вид спереди разъема со стороны жгута проводов:

      (к правому заднему датчику системы SRS)

      Измерьте сопротивление в соответствии со значениями, приведенными в таблице ниже.

      Номинальное сопротивление
      Подключение диагностического прибора Условие Заданные условия
      P13-1 (BBR+) - P13-2 (BBR-) Всегда 1 МОм или более
      Результат
      Перейти к
      OK
      NG

    NG
    OK
  24. ПРОВЕРЬТЕ НАПОЛЬНЫЙ ПРОВОД (КОРОТКОЕ ЗАМЫКАНИЕ НА B+)


    1. A01MY45C20
      *1 Правый боковой датчик системы SRS в сборе
      *2 Правый задний датчик системы SRS
      *3 Напольный провод
      *a

      Вид спереди разъема со стороны жгута проводов:

      (к правому заднему датчику системы SRS)

      Подсоедините провод к отрицательному (-) выводу аккумуляторной батареи.

    2. Включите зажигание (IG).

    3. Измерьте напряжение в соответствии со значениями, приведенными в таблице.

      Номинальное напряжение
      Подключение диагностического прибора Условие Заданные условия
      P13-1 (BBR+) - масса Зажигание включено (IG) Менее 1 В
      P13-2 (BBR-) - масса Зажигание включено (IG) Менее 1 В
    4. Выключите зажигание.

    5. Отсоедините провод от отрицательного (-) вывода аккумуляторной батареи.

      CAUTION:

      После отсоединения провода от отрицательного (-) вывода аккумуляторной батареи подождите не менее 90 с, чтобы предотвратить срабатывание системы SRS.

      Результат
      Перейти к
      OK
      NG

    NG
    OK
  25. ПРОВЕРЬТЕ НАПОЛЬНЫЙ ПРОВОД (КОРОТКОЕ ЗАМЫКАНИЕ НА МАССУ)


    1. A01MY45C20
      *1 Правый боковой датчик системы SRS в сборе
      *2 Правый задний датчик системы SRS
      *3 Напольный провод
      *a

      Вид спереди разъема со стороны жгута проводов:

      (к правому заднему датчику системы SRS)

      Измерьте сопротивление в соответствии со значениями, приведенными в таблице ниже.

      Номинальное сопротивление
      Подключение диагностического прибора Условие Заданные условия
      P13-1 (BBR+) - масса Всегда 1 МОм или более
      P13-2 (BBR-) - масса Всегда 1 МОм или более
      Результат
      Перейти к
      OK
      NG

    NG
    OK
  26. ПРОВЕРЬТЕ ПРАВЫЙ ЗАДНИЙ ДАТЧИК СИСТЕМЫ SRS


    1. A01MYKBC01
      *1 Левый задний датчик системы SRS
      *2 Блок управления системы SRS

      Подсоедините разъем к правому боковому датчику системы SRS.

    2. Поменяйте местами правый и левый задние датчики системы SRS в сборе и подсоедините к ним разъемы.

    3. Подсоедините провод к отрицательному (-) выводу аккумуляторной батареи.

    4. Удалите коды DTC, сохраненные в памяти.

      Нажмите здесь Click here


      Body Electrical > SRS Airbag > Clear DTCs
    5. Выключите зажигание.

    6. Включите зажигание (IG) и подождите не менее 60 с.

    7. Проверьте наличие кодов DTC.

      Нажмите здесь Click here


      Body Electrical > SRS Airbag > Trouble Codes

      Tech Tips

      На этом этапе могут выводиться коды, отличные от кодов DTC B1622, B1623, B1627 и B1628, однако они не связаны с данной проверкой.

      Результат
      Результат Перейти к
      Выводится код DTC B1622 или B1623. А
      Выводится код DTC B1627 или B1628. B
      Коды DTC B1622, B1623, B1627 и B1628 не выводятся. C
    8. Выключите зажигание.

    9. Отсоедините провод от отрицательного (-) вывода аккумуляторной батареи.

      CAUTION:

      После отсоединения провода от отрицательного (-) вывода аккумуляторной батареи подождите не менее 90 с, чтобы предотвратить срабатывание системы SRS.

    10. Установите на место левый и правый задние датчики системы SRS и подсоедините к ним разъемы.


    B
    C
    А
  27. ПРОВЕРЬТЕ ПРАВЫЙ БОКОВОЙ ДАТЧИК СИСТЕМЫ SRS


    1. A01MW49C02
      *1 Левый боковой датчик системы SRS в сборе
      *2 Правый задний датчик системы SRS

      Поменяйте местами правый и левый боковые датчики системы SRS и подсоедините к ним разъемы.

    2. Подсоедините провод к отрицательному (-) выводу аккумуляторной батареи.

    3. Удалите коды DTC, сохраненные в памяти.

      Нажмите здесь Click here


      Body Electrical > SRS Airbag > Clear DTCs
    4. Выключите зажигание.

    5. Включите зажигание (IG) и подождите не менее 60 с.

    6. Проверьте наличие кодов DTC.

      Нажмите здесь Click here


      Body Electrical > SRS Airbag > Trouble Codes

      Tech Tips

      На этом этапе могут выводиться коды, отличные от кодов DTC B1622, B1623, B1627 и B1628, однако они не связаны с данной проверкой.

      Результат
      Результат Перейти к
      Выводится код DTC B1622 или B1623. А
      Выводится код DTC B1627 или B1628. B
      Коды DTC B1622, B1623, B1627 и B1628 не выводятся. C
    7. Выключите зажигание.

    8. Отсоедините провод от отрицательного (-) вывода аккумуляторной батареи.

      CAUTION:

      После отсоединения провода от отрицательного (-) вывода аккумуляторной батареи подождите не менее 90 с, чтобы предотвратить срабатывание системы SRS.

    9. Установите на место правый и левый боковые датчики системы SRS и подсоедините к ним разъемы.


    А
    B
    C
  28. ПРОВЕРЬТЕ ПРАВЫЙ ЗАДНИЙ ДАТЧИК СИСТЕМЫ SRS


    1. A01MYKBC01
      *1 Левый задний датчик системы SRS
      *2 Блок управления системы SRS

      Выключите зажигание.

    2. Отсоедините провод от отрицательного (-) вывода аккумуляторной батареи.

      CAUTION:

      После отсоединения провода от отрицательного (-) вывода аккумуляторной батареи подождите не менее 90 с, чтобы предотвратить срабатывание системы SRS.

    3. Поменяйте местами правый и левый задние датчики системы SRS в сборе и подсоедините к ним разъемы.

    4. Подсоедините провод к отрицательному (-) выводу аккумуляторной батареи.

    5. Удалите коды DTC, сохраненные в памяти.

      Нажмите здесь Click here


      Body Electrical > SRS Airbag > Clear DTCs
    6. Выключите зажигание.

    7. Включите зажигание (IG) и подождите не менее 60 с.

    8. Проверьте наличие кодов DTC.

      Нажмите здесь Click here


      Body Electrical > SRS Airbag > Trouble Codes

      Tech Tips

      На этом этапе могут выводиться коды, отличные от кодов DTC B1632 и B1637, однако они не связаны с данной проверкой.

      Результат
      Результат Следующий шаг
      Выводится DTC B1632. А
      Выводится DTC B1637. B
      Коды DTC B1632 и B1637 не выводятся. C
    9. Выключите зажигание.

    10. Отсоедините провод от отрицательного (-) вывода аккумуляторной батареи.

      CAUTION:

      После отсоединения провода от отрицательного (-) вывода аккумуляторной батареи подождите не менее 90 с, чтобы предотвратить срабатывание системы SRS.

    11. Установите на место левый и правый задние датчики системы SRS и подсоедините к ним разъемы.


    А
    B
    C