СИСТЕМА ПОДУШЕК БЕЗОПАСНОСТИ, Diagnostic DTC:B1617/84, B1618/84

Код DTC Наименование DTC
B1617/84 Нарушение связи с левым передним датчиком системы SRS
B1618/84 Не завершена инициализация левого переднего датчика системы SRS

ОПИСАНИЕ

Цепь левого переднего датчика системы SRS включает в себя центральный блок управления системы SRS и левый передний датчик системы SRS.

Левый передний датчик системы SRS обнаруживает удар автомобиля при столкновении и посылает сигналы в блок управления системы SRS, который определяет необходимость активации подушек безопасности и преднатяжителей.

Эти коды DTC регистрируются при обнаружении неисправности в цепи левого переднего датчика системы SRS.

№ DTC Неисправность Условие обнаружения DTC Неисправный участок Режим диагностики / режим проверки
B1617/84 Нарушение связи с левым передним датчиком системы SRS
  • Датчик системы SRS обнаруживает сигнал короткого замыкания в линии, короткого замыкания на массу или B+, или обрыва в цепи левого переднего датчика системы SRS.

  • Неисправность левого переднего датчика системы SRS

  • Неисправность блока управления системы SRS


  • Жгут проводов панели приборов

  • Основной жгут проводов моторного отсека

  • Левый передний датчик системы SRS

  • Блок управления системы SRS

Не относится к режиму диагностики/проверки
B1618/84 Не завершена инициализация левого переднего датчика системы SRS
  • Датчик системы SRS обнаруживает сигнал короткого замыкания в линии, короткого замыкания на массу или B+, или обрыва в цепи левого переднего датчика системы SRS.

  • Неисправность левого переднего датчика системы SRS

  • Неисправность блока управления системы SRS


  • Жгут проводов панели приборов

  • Основной жгут проводов моторного отсека

  • Левый передний датчик системы SRS

  • Блок управления системы SRS

Не относится к режиму диагностики/проверки

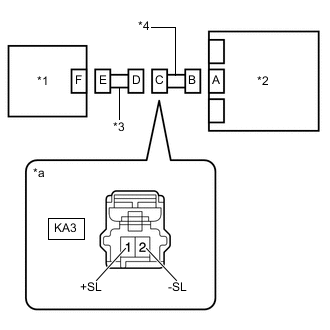
СХЕМА ЭЛЕКТРИЧЕСКИХ СОЕДИНЕНИЙ

A01MXAUE21
*a Левый передний датчик системы SRS
*b Блок управления системы SRS

ПРЕДОСТЕРЕЖЕНИЕ / ПРИМЕЧАНИЕ / УКАЗАНИЕ

Note

После выключения зажигания следует подождать некоторое время, прежде чем отсоединять провод от отрицательного (-) вывода аккумуляторной батареи. Поэтому, прежде чем приступать к этой работе, обязательно ознакомьтесь с примечанием относительно отсоединения провода от отрицательного (-) вывода аккумуляторной батареи.

Нажмите здесь Click here

ПОРЯДОК ВЫПОЛНЕНИЯ


  1. ПРОВЕРЬТЕ РАЗЪЕМЫ


    1. Выключите зажигание.

    2. Отсоедините провод от отрицательного (-) вывода аккумуляторной батареи.

      CAUTION:

      После отсоединения провода от отрицательного (-) вывода аккумуляторной батареи подождите не менее 90 с, чтобы предотвратить срабатывание системы SRS.

    3. Проверьте правильность подключения разъемов к центральному блоку управления системы SRS и левому переднему датчику системы SRS. Также убедитесь в надежности подключения разъемов, соединяющих главный кабель моторного отсека и жгут проводов панели приборов.

      OK
      Разъемы подсоединены должным образом.

      Tech Tips

      Если разъемы подсоединены ненадежно, подсоедините их и перейдите к следующей проверке.

    4. Отсоедините разъемы от центрального блока управления системы SRS и левого переднего датчика системы SRS. Также разъедините разъемы, соединяющие главный кабель моторного отсека и жгут проводов панели приборов.

    5. Убедитесь, что контакты разъемов не повреждены.

      OK
      Контакты не деформированы и не повреждены.
      Результат
      Следующий шаг
      OK
      NG

    NG
    OK
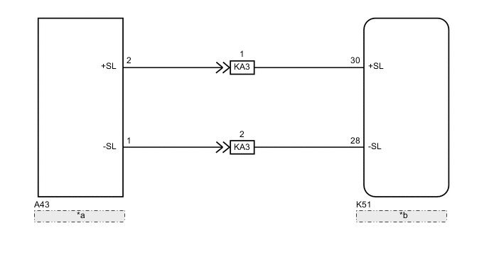
  2. ПРОВЕРЬТЕ ЦЕПЬ ЛЕВОГО ПЕРЕДНЕГО ДАТЧИКА СИСТЕМЫ SRS (ОБРЫВ)


    1. A01MYMHC02
      *1 Левый передний датчик системы SRS
      *2 Блок управления системы SRS
      *3 Технологический провод
      *a

      Вид спереди разъема со стороны жгута проводов:

      (блок управления системы SRS)

      *b

      Вид спереди разъема со стороны жгута проводов:

      (к левому переднему датчику системы SRS)

      Соедините разъемы, соединяющие главный кабель моторного отсека и жгут проводов панели приборов.

    2. С помощью технологического провода соедините контакты 30 (+SL) и 28 (-SL) разъема "В".

      Note

      Технологический провод следует вставлять в контакты разъема без усилия.

    3. Измерьте сопротивление в соответствии со значениями, приведенными в таблице ниже.

      Номинальное сопротивление
      Подключение диагностического прибора Условие Заданные условия
      A43-2 (+SL) - A43-1 (-SL) Всегда Менее 1 Ом
      Результат
      Следующий шаг
      OK
      NG

    NG
    OK
  3. ПРОВЕРЬТЕ ЦЕПЬ ЛЕВОГО ПЕРЕДНЕГО ДАТЧИКА СИСТЕМЫ SRS (КОРОТКОЕ ЗАМЫКАНИЕ)


    1. A01MW8QC08
      *1 Левый передний датчик системы SRS
      *2 Блок управления системы SRS
      *a

      Вид спереди разъема со стороны жгута проводов:

      (к левому переднему датчику системы SRS)

      Отсоедините технологический провод от разъема В.

    2. Измерьте сопротивление в соответствии со значениями, приведенными в таблице ниже.

      Номинальное сопротивление
      Подключение диагностического прибора Условие Заданные условия
      A43-2 (+SL) - A43-1 (-SL) Всегда 1 МОм или более
      Результат
      Следующий шаг
      OK
      NG

    NG
    OK
  4. ПРОВЕРЬТЕ ЦЕПЬ ЛЕВОГО ПЕРЕДНЕГО ДАТЧИКА СИСТЕМЫ SRS (КОРОТКОЕ ЗАМЫКАНИЕ НА B+)


    1. A01MW8QC08
      *1 Левый передний датчик системы SRS
      *2 Блок управления системы SRS
      *a

      Вид спереди разъема со стороны жгута проводов:

      (к левому переднему датчику системы SRS)

      Подсоедините провод к отрицательному (-) выводу аккумуляторной батареи.

    2. Включите зажигание (IG).

    3. Измерьте напряжение в соответствии со значениями, приведенными в таблице.

      Номинальное напряжение
      Подключение диагностического прибора Условие Заданные условия
      A43-2 (+SL) - масса Зажигание включено (IG) Менее 1 В
      A43-1 (-SL) - масса Зажигание включено (IG) Менее 1 В
    4. Выключите зажигание.

    5. Отсоедините провод от отрицательного (-) вывода аккумуляторной батареи.

      CAUTION:

      После отсоединения провода от отрицательного (-) вывода аккумуляторной батареи подождите не менее 90 с, чтобы предотвратить срабатывание системы SRS.

      Результат
      Следующий шаг
      OK
      NG

    NG
    OK
  5. ПРОВЕРЬТЕ ЦЕПЬ ЛЕВОГО ПЕРЕДНЕГО ДАТЧИКА СИСТЕМЫ SRS (КОРОТКОЕ ЗАМЫКАНИЕ НА МАССУ)


    1. A01MW8QC08
      *1 Левый передний датчик системы SRS
      *2 Блок управления системы SRS
      *a

      Вид спереди разъема со стороны жгута проводов:

      (к левому переднему датчику системы SRS)

      Измерьте сопротивление в соответствии со значениями, приведенными в таблице ниже.

      Номинальное сопротивление
      Подключение диагностического прибора Условие Заданные условия
      A43-2 (+SL) - масса Всегда 1 МОм или более
      A43-1 (-SL) - масса Всегда 1 МОм или более
      Результат
      Перейти к
      OK
      NG

    NG
    OK
  6. ПРОВЕРЬТЕ ЛЕВЫЙ ПЕРЕДНИЙ ДАТЧИК СИСТЕМЫ SRS


    1. A01MWYDC02
      *1 Правый передний датчик системы SRS
      *2 Блок управления системы SRS

      Подсоедините разъем к блоку управления системы SRS.

    2. Поменяйте местами правый и левый передние датчики системы SRS и подсоедините к ним разъемы.

    3. Подсоедините провод к отрицательному выводу (-) аккумуляторной батареи.

    4. Удалите коды DTC, сохраненные в памяти.

      Нажмите здесь Click here


      Body Electrical > SRS Airbag > Clear DTCs
    5. Выключите зажигание.

    6. Включите зажигание (IG) и подождите не менее 60 с.

    7. Проверьте наличие кодов DTC.

      Нажмите здесь Click here


      Body Electrical > SRS Airbag > Trouble Codes

      Tech Tips

      На этом этапе могут выводиться коды, отличные от кодов DTC B1612/83, B1613/83, B1617/84 и B1618/84, однако они не связаны с данной проверкой.

      Результат
      Результат Перейти к
      Коды DTC B1612/83, B1613/83, B1617/84 и B1618/84 не выводятся. А
      Выводится код DTC B1617/84 или B1618/84. B
      Выводится код DTC B1612/83 или B1613/83. C
    8. Выключите зажигание.

    9. Отсоедините провод от отрицательного (-) вывода аккумуляторной батареи.

      CAUTION:

      После отсоединения провода от отрицательного (-) вывода аккумуляторной батареи подождите не менее 90 с, чтобы предотвратить срабатывание системы SRS.

    10. Установите на место левый и правый передние датчики системы SRS и подсоедините к ним разъемы.


    А
    B
    C
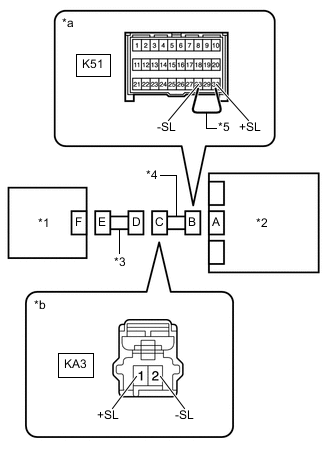
  7. ПРОВЕРЬТЕ ЖГУТ ПРОВОДОВ ПАНЕЛИ ПРИБОРОВ (НА КОРОТКОЕ ЗАМЫКАНИЕ НА МАССУ)


    1. A01MVA5C04
      *1 Левый передний датчик системы SRS
      *2 Блок управления системы SRS
      *3 Главный жгут проводов моторного отсека
      *4 Жгут проводов панели приборов
      *a

      Вид спереди разъема со стороны жгута проводов:

      (к главному кабелю моторного отсека)

      Отсоедините разъем основного жгута проводов моторного отсека от жгута проводов панели приборов.

    2. Измерьте сопротивление в соответствии со значениями, приведенными в таблице ниже.

      Номинальное сопротивление
      Подключение диагностического прибора Условие Заданные условия
      KA3-1 (+SL) - масса Всегда 1 МОм или более
      KA3-2 (-SL) - масса Всегда 1 МОм или более
      Результат
      Следующий шаг
      OK
      NG

    OK
    NG
  8. ПРОВЕРЬТЕ ЖГУТ ПРОВОДОВ ПАНЕЛИ ПРИБОРОВ (НА КОРОТКОЕ ЗАМЫКАНИЕ НА В+)


    1. A01MVA5C04
      *1 Левый передний датчик системы SRS
      *2 Блок управления системы SRS
      *3 Главный жгут проводов моторного отсека
      *4 Жгут проводов панели приборов
      *a

      Вид спереди разъема со стороны жгута проводов:

      (к главному кабелю моторного отсека)

      Отсоедините разъем основного жгута проводов моторного отсека от жгута проводов панели приборов.

    2. Подсоедините провод к отрицательному (-) выводу аккумуляторной батареи.

    3. Включите зажигание (IG).

    4. Измерьте напряжение в соответствии со значениями, приведенными в таблице.

      Номинальное напряжение
      Подключение диагностического прибора Условие Заданные условия
      KA3-1 (+SL) - масса Зажигание включено (IG) Менее 1 В
      KA3-2 (-SL) - масса Зажигание включено (IG) Менее 1 В
      Результат
      Перейти к
      OK
      NG

    OK
    NG
  9. ПРОВЕРЬТЕ ЖГУТ ПРОВОДОВ ПАНЕЛИ ПРИБОРОВ (НА КОРОТКОЕ ЗАМЫКАНИЕ)


    1. A01MVA5C04
      *1 Левый передний датчик системы SRS
      *2 Блок управления системы SRS
      *3 Главный жгут проводов моторного отсека
      *4 Жгут проводов панели приборов
      *a

      Вид спереди разъема со стороны жгута проводов:

      (к главному кабелю моторного отсека)

      Отсоедините разъем основного жгута проводов моторного отсека от жгута проводов панели приборов.

    2. Измерьте сопротивление в соответствии со значениями, приведенными в таблице ниже.

      Номинальное сопротивление
      Подключение диагностического прибора Условие Заданные условия
      KA3-1 (+SL) - KA3-2 (-SL) Всегда 1 МОм или более
      Результат
      Следующий шаг
      OK
      NG

    OK
    NG
  10. ПРОВЕРЬТЕ ЖГУТ ПРОВОДОВ ПАНЕЛИ ПРИБОРОВ (ОБРЫВ)


    1. A01MW0RC01
      *1 Левый передний датчик системы SRS
      *2 Блок управления системы SRS
      *3 Главный жгут проводов моторного отсека
      *4 Жгут проводов панели приборов
      *5 Технологический провод
      *a

      Вид спереди разъема со стороны жгута проводов:

      (блок управления системы SRS)

      *b

      Вид спереди разъема со стороны жгута проводов:

      (к главному кабелю моторного отсека)

      Отсоедините разъем основного жгута проводов моторного отсека от жгута проводов панели приборов.

      Tech Tips

      Технологический провод уже вставлен в разъем "B".

    2. Измерьте сопротивление в соответствии со значениями, приведенными в таблице ниже.

      Номинальное сопротивление
      Подключение диагностического прибора Условие Заданные условия
      KA3-1 (+SL) - KA3-2 (-SL) Всегда Менее 1 Ом
    3. Отсоедините технологический провод от разъема В.

      Результат
      Перейти к
      OK
      NG

    OK
    NG