КАРДАННЫЙ ВАЛ В СБОРЕ (для моделей с 4GR-FSE) УСТАНОВКА

ПОРЯДОК ВЫПОЛНЕНИЯ


  1. УСТАНОВИТЕ КАРДАННЫЙ ВАЛ С ЦЕНТРАЛЬНЫМ ПОДШИПНИКОМ В СБОРЕ


    1. Полностью удалите остатки масла и очистите контактные поверхности соединительного фланца задней ведущей шестерни и карданного вала с центральным подшипником в сборе.

    2. Снимите SST с трансмиссии.

    3. Вставьте вилку карданного вала с центральным подшипником в сборе в трансмиссию.

      Note

      Соблюдайте осторожность, чтобы не повредить сальник удлинителя картера автоматической трансмиссии.

    4. A01MWB0C02
      *a Метка

      Совместите метки на соединительном фланце задней ведущей шестерни и карданном валу с центральным подшипником в сборе.

    5. Установите 4 болта, 4 шайбы и 4 гайки.

      Torque:
      73,5 Н*м  { 749 кгс*см, 54 фунт-сила-фута }

      Tech Tips

      Установите шайбы с той же стороны, что и болты.

    6. Предварительно вверните 2 болта и установите 2 регулировочных шайбы.

      Tech Tips

      Используйте снятые ранее регулировочные шайбы.

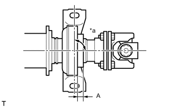
    7. A01MX3LC02
      *a 90°

      Отрегулируйте расстояние (A) от края центрального опорного подшипника до края подушки таким образом, чтобы оно составило 11,5-13,5 мм (0,453-0,531 дюйма), как показано на рисунке.

      Расстояние (A)
      11,5 - 13,5 мм (0,453 - 0,531 дюйма)
    8. Осевая линия кронштейна должна проходить под прямым углом к осевому направлению вала.

    9. Затяните 2 болта.

      Torque:
      49,1 Н*м  { 501 кгс*см, 36 фунт-сила-футов }
  2. ПРОВЕРЬТЕ И ОТРЕГУЛИРУЙТЕ УГЛЫ КАРДАННЫХ ШАРНИРОВ № 2 И № 3

    Note

    Измеряйте угол карданного шарнира, когда автомобиль поднят с помощью четырехточечного подъемника, либо из ямы.

    Tech Tips

    При возникновении какой-либо вибрации или шума проверьте угол стыка, как описано ниже, и замените регулировочную шайбу подходящей.


    1. Стабилизируйте карданный вал и дифференциал.


      1. Несколько раз вручную проверните карданный вал, чтобы стабилизировать положение центрального опорного подшипника.

      2. С помощью домкрата поднимите и опустите дифференциал, чтобы стабилизировать положение крепежной опоры дифференциала.

    2. Проверьте углы карданных шарниров № 2 и № 3.

      A01MYWKC01
      *a Угол карданного шарнира № 2 *b Угол карданного шарнира № 3

      1. С помощью SST измерьте углы установки промежуточного карданного вала и карданного вала в сборе.

        SST
        09370-50010

        Tech Tips

        SST следует устанавливать непосредственно под валом.

      2. С помощью SST измерьте угол установки дифференциала.

        SST
        09370-50010

        Tech Tips

        При измерении угла установки помещайте SST в местах, показанных на рисунке.

      3. Рассчитайте угол карданного шарнира № 2.

        Угол карданного шарнира № 2
        Точка измерения Угол карданного шарнира № 2
        A - B -0°54' +/- 30'
      4. Рассчитайте угол карданного шарнира № 3.

        Угол карданного шарнира № 3
        Точка измерения Угол карданного шарнира № 3
        B - C 2°02' +/- 32'

        Если измеренный угол не попадает в заданный диапазон, отрегулируйте его с помощью регулировочных шайб.

    3. Отрегулируйте угол карданного шарнира № 2.


      1. Выберите регулировочные шайбы для регулировки.

        Регулировочная шайба
        Каталожный номер Толщина, мм (дюйм.)
        90201-10106 2,0 мм (0,0787 дюйма)
        90201-10008 4,5 мм (0,177 дюйма)
        90201-10033 6,5 мм (0,256 дюйма)
        90201-10017 9,0 мм (0,354 дюйма)
        90201-10034 11,0 мм (0,433 дюйма)

        Note


        • Толщина регулировочных шайб с левой и правой стороны должна быть одинакова.

        • Не устанавливайте на болт несколько шайб.

  3. УСТАНОВИТЕ ЗАЩИТУ ТОПЛИВНОГО БАКА № 1


    1. A01MXWYN01

      Закрепите защиту топливного бака № 1 с помощью 4 гаек и затяните гайки в порядке, показанном на рисунке.

      Torque:
      5,0 Н*м  { 51 кгс*см, 44 фунт-сила-дюйма }
  4. УСТАНОВИТЕ ПЕРЕДНИЙ ТЕПЛОЗАЩИТНЫЙ ЭКРАН ПОЛА № 1


    1. Установите передний теплозащитный экран пола № 1 и закрепите его 4 гайками.

      Torque:
      5,4 Н*м  { 55 кгс*см, 48 фунт-сила-дюймов }
  5. УСТАНОВИТЕ ПРИЕМНУЮ ТРУБУ В СБОРЕ (TWC: задний каталитический нейтрализатор)

    Нажмите здесь Click here