КАРДАННЫЙ ВАЛ В СБОРЕ (для моделей с 4GR-FSE) УЗЛЫ И ДЕТАЛИ

ИЛЛЮСТРАЦИЯ

A01263CC02
*1 ПЕРЕДНИЙ ТЕПЛОЗАЩИТНЫЙ ЭКРАН ПОЛА № 1 *2 ЭЛЕМЕНТ ЗАЩИТЫ №1 ТОПЛИВНОГО БАКА
*3 КАРДАННЫЙ ВАЛ С ЦЕНТРАЛЬНЫМ ПОДШИПНИКОМ В СБОРЕ *4 РЕГУЛИРОВОЧНАЯ ШАЙБА
A01MYHV Н*м (кгс*см, фунт-сила-фут) : Номинальный момент затяжки A01MWWF Запрещается наносить смазочные материалы

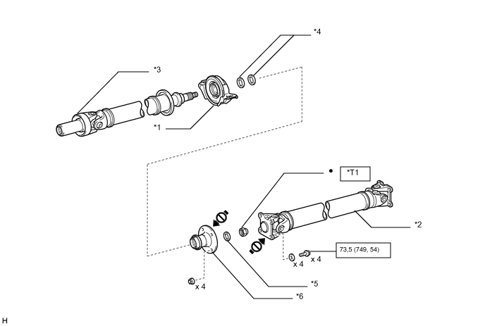
ИЛЛЮСТРАЦИЯ

A0127RCC02
*1 ЦЕНТРАЛЬНЫЙ ОПОРНЫЙ ПОДШИПНИК № 1 В СБОРЕ *2 КАРДАННЫЙ ВАЛ В СБОРЕ
*3 ПРОМЕЖУТОЧНЫЙ КАРДАННЫЙ ВАЛ В СБОРЕ *4 ШАЙБА ЦЕНТРАЛЬНОГО ОПОРНОГО ПОДШИПНИКА
*5 ШАЙБА ПРОМЕЖУТОЧНОГО КАРДАННОГО ВАЛА *6 ФЛАНЕЦ КАРДАННОГО ШАРНИРА
A01MYHV Н*м (кгс*см, фунт-сила-фут) : Номинальный момент затяжки Деталь однократного применения
A01MWWF Запрещается наносить смазочные материалы *T1

1-й: 181,5 (1851, 134)

2-й: 68,7 (701, 51)