МАСЛЯНЫЙ НАСОС (для моделей с 8AR-FTS) ПРОВЕРКА

ПОРЯДОК ВЫПОЛНЕНИЯ


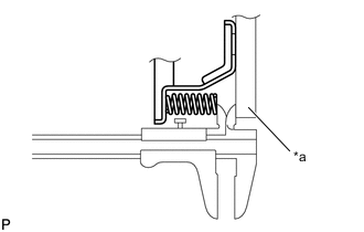
  1. ПРОВЕРЬТЕ ПРУЖИНУ ВАЛА СТАТОРА В СБОРЕ


    1. A01MVT9C02
      *a Поверочная линейка

      С помощью штангенциркуля и поверочной линейки измерьте расстояние между концом пружины вала статора генератора и поверочной линейкой.

      Номинальное расстояние
      6,52 мм (0,257 дюйма)

      Если расстояние превышает номинальное значение, замените пружину вала статора генератора.

  2. ПРОВЕРЬТЕ КОРПУС ПЕРЕДНЕГО МАСЛЯНОГО НАСОСА В СБОРЕ


    1. A01MVER

      С помощью индикатора часового типа для отверстий измерьте внутренний диаметр втулки корпуса переднего масляного насоса.

      Максимальный внутренний диаметр
      41,173 мм (1,62 дюйма)

      Если внутренний диаметр превышает максимально допустимый, замените корпус переднего масляного насоса в сборе.

  3. ПРОВЕРЬТЕ ВАЛ СТАТОРА В СБОРЕ


    1. A01MWAZ

      С помощью индикатора часового типа для отверстий измерьте внутренний диаметр втулки вала статора.

      Максимальный внутренний диаметр (спереди)
      21,527 мм (0,848 дюйма)
      Максимальный внутренний диаметр (сзади)
      35,251 мм (1,39 дюйма)

      Если внутренний диаметр превышает максимально допустимый, замените вал статора в сборе.

  4. ПРОВЕРЬТЕ ЗАЗОР МАСЛЯНОГО НАСОСА В СБОРЕ


    1. A01MUEU

      Прижмите ведомую шестерню переднего масляного насоса к одной стороне корпуса переднего масляного насоса в сборе.

    2. С помощью комплекта плоских щупов измерьте зазор между ведомой шестерней и корпусом переднего масляного насоса.

      Номинальный зазор
      0,10-0,17 мм (0,00394-0,00669 дюйма)

      Если зазор не соответствует номинальному, замените ведущую шестерню переднего масляного насоса, ведомую шестерню переднего масляного насоса и корпус переднего масляного насоса в сборе.

    3. A01MX72

      С помощью комплекта плоских щупов измерьте зазор между зубьями ведущей и ведомой шестерен переднего масляного насоса.

      Номинальный зазор между вершинами зубьев
      0,07-0,15 мм (0,00276-0,00590 дюйма)

      Если зазор между зубьями не соответствует требованиям, замените ведущую шестерню, ведомую шестерню и корпус переднего масляного насоса.

    4. A01MYU1

      С помощью поверочной линейки и комплекта плоских щупов измерьте боковой зазор обеих шестерен.

      Номинальный боковой зазор
      0,03 - 0,05 мм (0,00119 - 0,00196 дюйма)

      Если боковой зазор не соответствует требованиям, замените ведущую шестерню, ведомую шестерню и корпус переднего масляного насоса.

      Tech Tips

      Существует 7 ведущих и ведомых шестерен переднего масляного насоса различной толщины.

      Толщина ведущей шестерни переднего масляного насоса
      11,412 - 11,418 мм (0,4493 - 0,4495 дюйма)
      Толщина ведомой шестерни переднего масляного насоса
      11,412 - 11,418 мм (0,4493 - 0,4495 дюйма)
  5. ПРОВЕРЬТЕ ВРАЩЕНИЕ ВЕДУЩЕЙ ШЕСТЕРНИ ПЕРЕДНЕГО МАСЛЯНОГО НАСОСА

    A01MXYV

    1. Установите масляный насос в сборе на гидротрансформатор в сборе.

    2. Убедитесь, что ведущая шестерня переднего масляного насоса вращается плавно.

    3. Снимите масляный насос в сборе с гидротрансформатора.