МАСЛЯНЫЙ НАСОС (для моделей с 2GR-FSE) ПРОВЕРКА

ПОРЯДОК ВЫПОЛНЕНИЯ


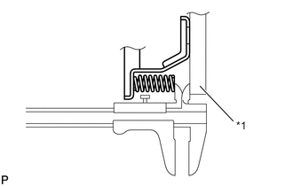
  1. ПРОВЕРЬТЕ ПРУЖИНУ ВАЛА СТАТОРА В СБОРЕ


    1. A01266NC01
      *1 Поверочная линейка

      С помощью штангенциркуля и поверочной линейки измерьте расстояние между концом пружины вала статора генератора и поверочной линейкой.

      Номинальное расстояние
      6,52 мм (0,2567 дюйма)
  2. ПРОВЕРЬТЕ КОРПУС ПЕРЕДНЕГО МАСЛЯНОГО НАСОСА В СБОРЕ


    1. A01MVER

      С помощью индикатора часового типа для отверстий измерьте внутренний диаметр втулки корпуса переднего масляного насоса.

      Максимальный внутренний диаметр
      45,078 мм (1,7747 дюйма)

      • Если внутренний диаметр превышает максимально допустимый, замените корпус переднего масляного насоса в сборе.

  3. ПРОВЕРЬТЕ ВАЛ СТАТОРА В СБОРЕ


    1. A01MWAZ

      С помощью индикатора часового типа для отверстий измерьте внутренний диаметр втулки вала статора.

      Максимальный внутренний диаметр
      Спереди
      21,527 мм (0,8475 дюйма)
      Сзади
      35,251 мм (1,3878 дюйма)

      • Если внутренний диаметр превышает максимально допустимый, замените вал статора в сборе.

  4. ПРОВЕРЬТЕ ЗАЗОР МАСЛЯНОГО НАСОСА В СБОРЕ


    1. A01MUEU

      Прижмите ведомую шестерню к одной из сторон корпуса насоса.

    2. С помощью комплекта плоских щупов измерьте зазор между ведомой шестерней и корпусом переднего масляного насоса.

      Номинальный зазор корпуса
      0,10 - 0,17 мм (0,0040 - 0,0066 дюйма)

      • Если зазор корпуса не соответствует требованиям, замените ведущую шестерню, ведомую шестерню и корпус насоса.

    3. A01MX72

      С помощью комплекта плоских щупов измерьте зазор между зубьями ведущей и ведомой шестерен.

      Номинальный зазор между вершинами зубьев шестерен
      0,07-0,15 мм (0,0028-0,0059 дюйма)

      • Если зазор между зубьями не соответствует требованиям, замените ведущую шестерню, ведомую шестерню и корпус насоса.

    4. A01MYU1

      С помощью стальной поверочной линейки и комплекта плоских щупов измерьте зазор между шестернями и поверочной линейкой.

      Номинальный боковой зазор
      0,03 - 0,05 мм (0,0012 - 0,0019 дюйма)

      • Если боковой зазор не соответствует требованиям, замените ведущую шестерню, ведомую шестерню и корпус насоса.

      Tech Tips

      Существует 7 ведущих и ведомых шестерен разной толщины.

      Толщина ведущей шестерни переднего масляного насоса
      Каталожный номер Метка Толщина
      35321-50080 0 11,636 - 11,642 мм (0,4582 - 0,4583 дюйма)
      35321-50090 1 11,643 - 11,649 мм (0,4584 - 0,4586 дюйма)
      35321-50100 2 11,650 - 11,656 мм (0,4587 - 0,4588 дюйма)
      35321-50110 3 11,657 - 11,663 мм (0,4590 - 0,4591 дюйма)
      35321-50120 4 11,664 - 11,670 мм (0,4593 - 0,4594 дюйма)
      35321-50130 5 11,671 - 11,677 мм (0,4595 - 0,4597 дюйма)
      35321-50140 6 11,678 - 11,684 мм (0,4598 - 0,4599 дюйма)
      Толщина ведомой шестерни переднего масляного насоса
      Каталожный номер Метка Толщина
      35322-50080 0 11,636 - 11,642 мм (0,4582 - 0,4583 дюйма)
      35322-50090 1 11,643 - 11,649 мм (0,4584 - 0,4586 дюйма)
      35322-50100 2 11,650 - 11,656 мм (0,4587 - 0,4588 дюйма)
      35322-50110 3 11,657 - 11,663 мм (0,4590 - 0,4591 дюйма)
      35322-50120 4 11,664 - 11,670 мм (0,4593 - 0,4594 дюйма)
      35322-50130 5 11,671 - 11,677 мм (0,4595 - 0,4597 дюйма)
      35322-50140 6 11,678 - 11,684 мм (0,4598 - 0,4599 дюйма)
  5. ПРОВЕРЬТЕ ВРАЩЕНИЕ ВЕДУЩЕЙ ШЕСТЕРНИ ПЕРЕДНЕГО МАСЛЯНОГО НАСОСА

    A01MXYV

    1. Поместите масляный насос в сборе на муфту гидротрансформатора.

    2. Убедитесь, что ведущая шестерня вращается плавно.