БЛОК АВТОМАТИЧЕСКОЙ ТРАНСМИССИИ (для моделей с 8AR-FTS) ПОВТОРНАЯ СБОРКА

ПОРЯДОК ВЫПОЛНЕНИЯ


  1. РАСПОЛОЖЕНИЕ ПОДШИПНИКОВ


    1. Проверьте положение и направление установки всех подшипников.

      A01MWMPN01
      Расположение подшипников
      Положение

      Диаметр переднего кольца

      внутренний / наружный

      Диаметр упорного подшипника

      внутренний / наружный

      Диаметр заднего кольца

      внутренний / наружный

      А - 36,2 мм (1,43 дюйма) / 58,2 мм (2,29 дюйма) 44,0 мм (1,73 дюйма) / 62,0 мм (2,44 дюйма)
      B - 34,5 мм (1,36 дюйма) / 49,4 мм (1,94 дюйма) 36,6 мм (1,44 дюйма) / 51,9 мм (2,04 дюйма)
      C 46,5 мм (1,83 дюйма) / 60,1 мм (2,37 дюйма) 47,0 мм (1,85 дюйма) / 61,9 мм (2,44 дюйма) -
      D - 71,9 мм (2,83 дюйма) / 85,6 мм (3,37 дюйма) 72,7 мм (2,86 дюйма) / 89,2 мм (3,51 дюйма)
      E 30,0 мм (1,18 дюйма) / 49,9 мм (1,96 дюйма) 31,0 мм (1,22 дюйма) / 53,1 мм (2,09 дюйма) -
      F 31,5 мм (1,24 дюйма) / 53,0 мм (2,08 дюйма) 28,7 мм (1,13 дюйма) / 52,3 мм (2,06 дюйма) 28,7 мм (1,13 дюйма) / 50,4 мм (1,98 дюйма)
      G - 30,5 мм (1,20 дюйма) / 55,7 мм (2,19 дюйма) 33,5 мм (1,32 дюйма) / 59,0 мм (2,32 дюйма)
      H - 58,9 мм (2,32 дюйма) / 76,7 мм (3,02 дюйма) 62,0 мм (2,44 дюйма) / 82,5 мм (3,25 дюйма)
  2. УСТАНОВИТЕ ЗАДНИЙ РАДИАЛЬНЫЙ ШАРИКОВЫЙ ПОДШИПНИК ВЫХОДНОГО ВАЛА


    1. A01MURCN01

      С помощью SST установите новый задний радиальный шариковый подшипник выходного вала в картер автоматической трансмиссии в сборе.

      SST
      09316-60011   ( 09316-00011, 09316-00021 )
    2. С помощью съемника стопорных колец установите пружинное стопорное кольцо в картер автоматической трансмиссии в сборе.

  3. УСТАНОВИТЕ СТОПОРНУЮ ПРУЖИНУ ТОРМОЗНОЙ ПЛАСТИНЫ


    1. Установите 2 стопорных пружины тормозных пластин.

  4. УСТАНОВИТЕ ПОРШЕНЬ ТОРМОЗНОГО ЦИЛИНДРА № 2


    1. Покройте 3 новых кольцевых уплотнения трансмиссионной жидкостью и установите их на поршень тормозного цилиндра № 2.

    2. A01MYKGC01
      *a Вырез
      *b Парковочное отверстие

      Установите поршень тормозного цилиндра № 2 в картер автоматической трансмиссии.

      Tech Tips

      Убедитесь, что парковочное отверстие поршня тормозного цилиндра № 2 располагается надлежащим образом с совмещением выступов на поршне тормозного цилиндра № 2 с пазами в картере автоматической трансмиссии в сборе, как показано на рисунке.

    3. Установите стяжную пружину поршня тормозного цилиндра 2-й передачи в сборе в картер автоматической трансмиссии в сборе.

    4. A01MZ1QC01
      *1 Пружинное стопорное кольцо
      *2 Стяжная пружина поршня тормозного цилиндра 2-й передачи в сборе

      Установите SST на стяжную пружину поршня тормозного цилиндра 2-й передачи в сборе и затяните его, чтобы сжать стяжную пружину поршня тормозного цилиндра 2-й передачи в сборе.

      SST
      09380-60011   ( 09381-05040, 09381-05050, 09381-06030, 09381-06040, 09381-06080, 09381-06120, 09381-06130 )
    5. С помощью SST установите пружинное стопорное кольцо.

      SST
      09350-30020   ( 09350-07070 )
  5. ПРОВЕРЬТЕ ЗАЗОР УПЛОТНЕНИЯ ТОРМОЗА № 2

    Нажмите здесь Click here

  6. УСТАНОВИТЕ ПОРШЕНЬ МУФТЫ ПРЯМОЙ ПЕРЕДАЧИ


    1. Покройте новое кольцевое уплотнение трансмиссионной жидкостью и установите его на барабан муфты прямой передачи в сборе.

    2. Покройте новое кольцевое уплотнение трансмиссионной жидкостью и установите его на поршень муфты прямой передачи.

    3. A01MVEWC01
      *1 Поршень муфты прямой передачи

      Установите поршень муфты прямой передачи на барабан муфты прямой передачи в сборе.

    4. Покройте новое кольцевое уплотнение трансмиссионной жидкостью и установите его на компенсатор муфты № 2.

    5. A01MUJLC01
      *1 Компенсатор муфты № 2
      *2 Стяжная пружина муфты прямой передачи в сборе

      Установите стяжную пружину муфты прямой передачи в сборе и компенсатор муфты № 2 в барабан муфты прямой передачи в сборе.

    6. A01MZ0RN01

      Установите SST на компенсатор муфты № 2 и сожмите стяжную пружину муфты прямой передачи в сборе прессом.

      SST
      09387-00020
    7. С помощью SST установите пружинное стопорное кольцо.

      SST
      09350-30020   ( 09350-07070 )
  7. УСТАНОВИТЕ ВЕДОМЫЙ ДИСК СЦЕПЛЕНИЯ № 2


    1. A01MXT8C01
      *1 Фланец муфты № 2
      *2 Диск муфты № 2
      *3 Диск сцепления № 2

      Установите 5 пластин муфты № 2, 5 дисков муфты № 2 и фланец муфты № 2 на барабан муфты прямой передачи в сборе.

      Note

      Убедитесь, что ведомые диски сцепления № 2, пластины сцепления № 2 и фланцы муфты № 2 установлены в правильном порядке.

    2. A01MZ0XC01
      *a Защитная клейкая лента

      С помощью отвертки установите пружинное стопорное кольцо на барабан муфты прямой передачи в сборе.

      Note

      Соблюдайте осторожность, чтобы не повредить барабан муфты прямой передачи.

      Tech Tips

      Конец отвертки перед использованием следует изолировать защитной клейкой лентой.

  8. ПРОВЕРЬТЕ ЗАЗОР УПЛОТНЕНИЯ МУФТЫ № 2

    Нажмите здесь Click here

  9. УСТАНОВИТЕ МНОГОДИСКОВУЮ МУФТУ В СБОРЕ


    1. A01MVPSC01
      *1 Маслоуплотнительное кольцо

      Покройте 2 маслоуплотнительных кольца жидкостью для автоматических трансмиссий и установите их на многодисковую муфту в сборе.

      Note

      Не увеличивайте зазоры маслоуплотнительных колец чрезмерно.

    2. A01MWY5C03
      *1 Маслоуплотнительное кольцо

      Нанесите жидкость для автоматических трансмиссий на 3 новых маслоуплотнительных кольца и установите их на выходной вал.

      Note

      Не увеличивайте зазоры маслоуплотнительных колец чрезмерно.

    3. A01MY4FC01
      *1 Многодисковая муфта в сборе
      *2 Упорный игольчатый роликовый подшипник (G)
      *3 Кольцо упорного подшипника (G)
      *4 Выходной вал в сборе

      Установите упорный игольчатый роликовый подшипник и кольцо упорного подшипника на многодисковую муфту в сборе.

      Диаметры упорного игольчатого роликового подшипника и кольца упорного подшипника
      Параметр Внутри Снаружи
      Упорный игольчатый роликовый подшипник (G) 30,5 мм (1,20 дюйма) 55,7 мм (2,19 дюйма)
      Кольцо упорного подшипника (G) 33,5 мм (1,32 дюйма) 59,0 мм (2,32 дюйма)
    4. Установите многодисковую муфту в сборе на выходной вал в сборе.

  10. УСТАНОВИТЕ КОРОННУЮ ШЕСТЕРНЮ ЗАДНЕЙ ПЛАНЕТАРНОЙ ПЕРЕДАЧИ


    1. A01MVN5C01
      *1 Коронная шестерня задней планетарной передачи
      *2 Пружинное стопорное кольцо

      Установите пружинное стопорное кольцо в канавку выходного вала в сборе.

    2. С помощью круглогубцев сожмите пружинное стопорное кольцо и установите коронную шестерню задней планетарной передачи к выходному валу в сборе.

  11. УСТАНОВИТЕ МНОГОДИСКОВУЮ МУФТУ В СБОРЕ ВМЕСТЕ С КОРОННОЙ ШЕСТЕРНЕЙ ЗАДНЕЙ ПЛАНЕТАРНОЙ ПЕРЕДАЧИ И ВЫХОДНЫМ ВАЛОМ В СБОРЕ


    1. A01MW8ZC02
      *1 Упорный игольчатый роликовый подшипник (H)
      *2 Кольцо упорного подшипника (H)
      *3 Упорный игольчатый роликовый подшипник (F)
      *4 Кольцо упорного подшипника (F)

      Установите 2 упорных игольчатых роликовых подшипника, 2 кольца упорного подшипника и многодисковую муфту в сборе с коронной шестерней задней планетарной передачи и выходным валом в сборе в картер автоматической трансмиссии в сборе.

      Диаметры упорного игольчатого роликового подшипника и кольца упорного подшипника
      Параметр Внутри Снаружи
      Кольцо упорного подшипника (H) 62,0 мм (2,44 дюйма) 82,5 мм (3,25 дюйма)
      Упорный игольчатый роликовый подшипник (H) 58,9 мм (2,32 дюйма) 76,7 мм (3,02 дюйма)
      Кольцо упорного подшипника (F) 28,7 мм (1,13 дюйма) 50,4 мм (1,98 дюйма)
      Упорный игольчатый роликовый подшипник (F) 28,7 мм (1,13 дюйма) 52,3 мм (2,06 дюйма)
  12. УСТАНОВИТЕ ЗАДНИЙ САЛЬНИК АВТОМАТИЧЕСКОЙ ТРАНСМИССИИ


    1. A01MY74C01
      *a Глубина

      С помощью SST и молотка установите новый задний сальник автоматической трансмиссии в картер автоматической трансмиссии в сборе.

      SST
      09316-12010
      09316-60011   ( 09316-00011, 09316-00041 )
    2. Смажьте кромку заднего сальника автоматической трансмиссии универсальной консистентной смазкой.

      Номинальная глубина
      3,3 - 3,7 мм (0,130 - 0,145 дюйма)
  13. УСТАНОВИТЕ ФЛАНЦЕВУЮ ВИЛКУ АВТОМАТИЧЕСКОЙ ТРАНСМИССИИ В СБОРЕ


    1. A01MX94C01
      *a Глубина

      С помощью SST и молотка установите новый сальник.

      SST
      09950-60010   ( 09951-00370 )
      09950-70010   ( 09951-07150 )
      Номинальная глубина
      0 - 0,3 мм (0 - 0,0118 дюйма)
    2. Покройте кромку сальника универсальной консистентной смазкой.

    3. Установите втулку задней крышки и 2 распорных втулки заднего подшипника № 1 выходного вала.

    4. Установите фланцевую вилку автоматической трансмиссии.

    5. A01MWBSC01
      *a Удерживайте
      *b Поверните

      Установите SST.

      SST
      09330-00021
      09950-30012   ( 09955-03040 )
    6. С помощью SST и удлиненной торцевой головки на 30 мм вверните новую контргайку.

      Torque:
      135 Н*м  { 1377 кгс*см, 100 фунт-сила-футов }
  14. ВЫБЕРИТЕ ВТУЛКУ ЗАДНЕЙ КРЫШКИ


    1. A01MYQNC02
      *1 Втулка задней крышки

      С помощью индикатора часового типа измерьте осевой люфт выходного вала.

      Номинальный осевой люфт
      0,21 - 0,36 мм (0,00827 - 0,0141 дюйма)

      Если осевой люфт не соответствует требованиям, подберите и установите соответствующую втулку задней крышки, при которой осевой люфт не будет выходить за пределы номинального диапазона.

      Tech Tips

      Существует 15 втулок задней крышки различной толщины.

      Толщина втулки задней крышки
      Каталожный номер Метка Толщина
      35155-50230 00 1,675 - 1,725 мм (0,0660 - 0,0679 дюйма)
      35155-50080 02 1,725 - 1,775 (0,0680 - 0,0698 дюйма)
      35155-50090 03 1,775 - 1,825 (0,0699 - 0,0718 дюйма)
      35155-50100 04 1,825-1,875 (0,0719-0,0738 дюйма)
      35155-50110 05 1,875 - 1,925 (0,0739 - 0,0757 дюйма)
      35155-50120 06 1,925 - 1,975 (0,0758 - 0,0777 дюйма)
      35155-50130 07 1,975-2,025 (0,0778-0,0797 дюйма)
      35155-50140 08 2,025 - 2,075 (0,0798 - 0,0816 дюйма)
      35155-50150 09 2,075 - 2,125 (0,0817 - 0,0836 дюйма)
      35155-50160 10 2,125-2,175 (0,0837-0,0856 дюйма)
      35155-50170 11 2,175 - 2,225 (0,0857 - 0,0875 дюйма)
      35155-50180 12 2,225 - 2,275 (0,0876 - 0,0895 дюйма)
      35155-50190 13 2,275-2,325 (0,0896-0,0915 дюйма)
      35155-50200 14 2,325-2,375 (0,0916-0,0935 дюйма)
      35155-50210 15 2,375 - 2,425 (0,0936 - 0,0954 дюйма)
    2. Надежно накерните контргайку с помощью молотка и зубила.

  15. УСТАНОВИТЕ ЗАДНЮЮ ПЛАНЕТАРНУЮ ПЕРЕДАЧУ В СБОРЕ


    1. A01MVMLC03
      *1 Упорный игольчатый роликовый подшипник (E)
      *2 Задняя планетарная передача в сборе
      *3 Кольцо упорного подшипника (F)

      Установите кольцо упорного подшипника, заднюю планетарную передачу в сборе и упорный игольчатый роликовый подшипник в картер автоматической трансмиссии в сборе.

      Диаметры упорного игольчатого роликового подшипника и упорного подшипника
      Параметр Внутри Снаружи
      Кольцо упорного подшипника (F) 31,5 мм (1,24 дюйма) 53,0 мм (2,09 дюйма)
      Упорный игольчатый роликовый подшипник (E) 31,0 мм (1,22 дюйма) 53,1 мм (2,09 дюйма)

      Note

      Перед установкой задней планетарной передачи в сборе нанесите жидкость для автоматических трансмиссий на контактные поверхности втулки задней планетарной передачи в сборе. После установки проверьте плавность вращения задней планетарной передачи в сборе.

  16. УСТАНОВИТЕ СОЛНЕЧНУЮ ШЕСТЕРНЮ ЗАДНЕЙ ПЛАНЕТАРНОЙ ПЕРЕДАЧИ В СБОРЕ


    1. A01MUUDC01
      *1 Солнечная шестерня задней планетарной передачи в сборе
      *2 Кольцо упорного подшипника (E)

      Установите кольцо упорного подшипника и солнечную шестерню задней планетарной передачи в сборе в картер автоматической трансмиссии в сборе.

      Диаметр кольца упорного подшипника
      Параметр Внутри Снаружи
      Кольцо упорного подшипника (E) 30,0 мм (1,18 дюйма) 49,9 мм (1,96 дюйма)

      Note

      Перед установкой солнечной шестерни задней планетарной передачи в сборе нанесите жидкость для автоматических трансмиссий на контактные поверхности втулки солнечной шестерни задней планетарной передачи в сборе. После установки проверьте плавность вращения солнечной шестерни задней планетарной передачи в сборе.

  17. УСТАНОВИТЕ ТОРМОЗНОЙ ДИСК № 2


    1. A01MVICC01
      *1 Тормозная пластина
      *2 Тормозной диск № 2
      *3 Тормозная пластина № 2
      *4 Фланец тормоза № 2

      Установите фланец тормоза № 2, 4 тормозных диска № 2, 3 тормозные пластины № 2 и тормозную пластину в картер автоматической трансмиссии в сборе.

      Note

      Убедитесь в том, что тормозные диски № 2, тормозные пластины № 2, тормозная пластина и фланец тормоза № 2 установлены в правильном порядке.

      Tech Tips

      Совместите выступы фланца тормоза № 2, тормозных пластин № 2 и тормозной пластины с пазами в картере автоматической трансмиссии в сборе.

      A01MURGC01
      *1 Фланец тормоза № 2 *2 Тормозная пластина
      *3 Тормозная пластина № 2 - -
      *a Выступание - -
  18. УСТАНОВИТЕ МУФТУ СВОБОДНОГО ХОДА № 1


    1. A01MY3XC01
      *1 Пружинное стопорное кольцо
      *2 Муфта свободного хода № 1
      *3 Наружное кольцо муфты свободного хода

      С помощью отвертки установите муфту свободного хода № 1 и 2 пружинных стопорных кольца в наружное кольцо муфты свободного хода.

      Note

      Убедитесь, что муфта свободного хода № 1 установлена в правильном направлении.

  19. ПРОВЕРЬТЕ МУФТУ СВОБОДНОГО ХОДА № 1

    Нажмите здесь Click here

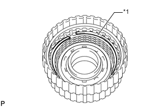
  20. УСТАНОВИТЕ НАРУЖНОЕ КОЛЬЦО МУФТЫ СВОБОДНОГО ХОДА ВМЕСТЕ С МУФТОЙ СВОБОДНОГО ХОДА № 1


    1. A01MVZC

      Установите наружное кольцо муфты свободного хода вместе с муфтой свободного хода № 1 в картер автоматической трансмиссии в сборе.

    2. A01MYHPN03

      С помощью SST установите пружинное стопорное кольцо на картер автоматической трансмиссии в сборе.

      SST
      09350-30020   ( 09350-07060 )

      Note


      • Установите пружинное стопорное кольцо таким образом, чтобы сужающаяся сторона была направлена наружу.

      • A01MUFHC01
        *1 Пружинное стопорное кольцо
        A01MWAN Передняя сторона

        Обязательно сориентируйте пружинное стопорное кольцо таким образом, чтобы края не выступали в один из вырезов на картере автоматической трансмиссии, как показано на рисунке.

  21. УСТАНОВИТЕ ПЕРВИЧНЫЙ БАРАБАН СОЛНЕЧНОЙ ШЕСТЕРНИ В СБОРЕ


    1. A01MV8NC01
      *1 Входной барабан солнечной шестерни в сборе
      *2 Упорный игольчатый роликовый подшипник (D)
      *3 Кольцо упорного подшипника (D)

      Установите кольцо упорного подшипника, упорный игольчатый роликовый подшипник и входной барабан солнечной шестерни в сборе в картер автоматической трансмиссии в сборе.

      Диаметры упорного игольчатого роликового подшипника и кольца упорного подшипника
      Параметр Внутри Снаружи
      Кольцо упорного подшипника (D) 72,7 мм (2,86 дюйма) 89,2 мм (3,51 дюйма)
      Упорный игольчатый роликовый подшипник (D) 71,9 мм (2,83 дюйма) 85,6 мм (3,37 дюйма)

      Note

      Перед установкой входного барабана солнечной шестерни в сборе нанесите жидкость для автоматических трансмиссий на контактные поверхности втулки входного барабана солнечной шестерни в сборе. После установки проверьте плавность вращения входного барабана солнечной шестерни в сборе.

  22. УСТАНОВИТЕ ПОРШЕНЬ МУФТЫ ПЕРЕДНЕГО ХОДА


    1. Покройте 2 новых кольцевых уплотнения трансмиссионной жидкостью и установите их на поршень муфты переднего хода.

    2. A01MXI0C01
      *1 Поршень муфты переднего хода

      Установите поршень муфты переднего хода в барабан муфты переднего хода.

    3. Покройте новое кольцевое уплотнение трансмиссионной жидкостью и установите его на компенсатор муфты № 1.

    4. A01MXZHC01
      *1 Компенсатор муфты № 1
      *2 Стяжная пружина муфты переднего хода в сборе

      Установите стяжную пружину муфты переднего хода в сборе и компенсатор муфты № 1 в барабан муфты переднего хода в сборе.

    5. A01MY56N02

      Установите SST на компенсатор муфты № 1 и сожмите стяжную пружину муфты переднего хода в сборе прессом.

      SST
      09380-50010   ( 09381-05010 )

      Note

      Во избежание деформации стяжной пружины муфты переднего хода в сборе прекратите нажатие, как только компенсатор муфты № 1 опустится на расстояние 1–2 мм (0,0394–0,0787 дюйма) ниже канавки пружинного стопорного кольца.

    6. С помощью SST установите пружинное стопорное кольцо.

      SST
      09350-30020   ( 09350-07070 )

      Note


      • Разрез пружинного стопорного кольца не должен совпадать с захватом держателя пружины.

      • Не разводите чрезмерно концы пружинного стопорного кольца.

  23. УСТАНОВИТЕ ДИСК МНОГОДИСКОВОЙ МУФТЫ ПЕРЕДНЕГО ХОДА


    1. A01MW5XC01
      *1 Фланец муфты переднего хода
      *2 Диск многодисковой муфты переднего хода
      *3 Пластина многодисковой муфты переднего хода

      Установите 5 пластин многодисковой муфты переднего хода, 5 дисков многодисковой муфты переднего хода и фланец муфты переднего хода на барабан муфты переднего хода в сборе.

      Note

      Убедитесь, что диски многодисковой муфты переднего хода, пластины многодисковой муфты переднего хода и фланец муфты переднего хода установлены в правильном порядке.

    2. A01MYGSC01
      *1 Пружинное стопорное кольцо

      Установите пружинное стопорное кольцо в барабан муфты переднего хода в сборе.

  24. ПРОВЕРЬТЕ ЗАЗОР УПЛОТНЕНИЯ МНОГОДИСКОВОЙ МУФТЫ ПЕРЕДНЕГО ХОДА

    Нажмите здесь Click here

  25. УСТАНОВИТЕ КОРОННУЮ ШЕСТЕРНЮ ПЕРЕДНЕЙ ПЛАНЕТАРНОЙ ПЕРЕДАЧИ


    1. A01MYJLC01
      *1 Коронная шестерня передней планетарной передачи
      *2 Пружинное стопорное кольцо
      *3 Многодисковая муфта переднего хода в сборе

      С помощью круглогубцев установите пружинное стопорное кольцо в канавку многодисковой муфты переднего хода в сборе.

    2. A01MWQI

      С помощью круглогубцев сожмите пружинное стопорное кольцо и установите коронную шестерню передней планетарной передачи на многодисковую муфту переднего хода в сборе.

      Note

      Убедитесь, что пружинное стопорное кольцо правильно установлено в канавке многодисковой муфты прямого хода в сборе, как показано на рисунке.

  26. УСТАНОВИТЕ СТУПИЦУ МНОГОДИСКОВОЙ МУФТЫ


    1. A01MWITC01
      *1 Многодисковая муфта переднего хода в сборе с коронной шестерней передней планетарной передачи
      *2 Упорный игольчатый роликовый подшипник (B)
      *3 Кольцо упорного подшипника (B)
      *4 Ступица многодисковой муфты

      Установите упорный игольчатый роликовый подшипник, кольцо упорного подшипника и многодисковую муфту переднего хода в сборе с коронной шестерней передней планетарной передачи на ступицу многодисковой муфты.

      Диаметры упорного игольчатого роликового подшипника и кольца упорного подшипника
      Параметр Внутри Снаружи
      Упорный игольчатый роликовый подшипник (B) 34,5 мм (1,36 дюйма) 49,4 мм (1,94 дюйма)
      Кольцо упорного подшипника (B) 36,6 мм (1,44 дюйма) 51,9 мм (2,04 дюйма)
  27. УСТАНОВИТЕ МНОГОДИСКОВУЮ МУФТУ ПЕРЕДНЕГО ХОДА В СБОРЕ С КОРОННОЙ ШЕСТЕРНЕЙ ПЕРЕДНЕЙ ПЛАНЕТАРНОЙ ПЕРЕДАЧИ И СТУПИЦЕЙ МНОГОДИСКОВОЙ МУФТЫ


    1. A01MVGIC01
      *1 Многодисковая муфта переднего хода в сборе с коронной шестерней передней планетарной передачи
      *2 Упорный игольчатый роликовый подшипник (C)
      *3 Кольцо упорного подшипника (C)

      Установите кольцо упорного подшипника, упорный игольчатый роликовый подшипник и многодисковую муфту переднего хода вместе с коронной шестерней передней планетарной передачи и ступицей многодисковой муфты в картер автоматической трансмиссии в сборе.

      Диаметры упорного игольчатого роликового подшипника и кольца упорного подшипника
      Параметр Внутри Снаружи
      Упорный игольчатый роликовый подшипник (C) 47,0 мм (1,85 дюйма) 61,9 мм (2,44 дюйма)
      Кольцо упорного подшипника (C) 46,5 мм (1,83 дюйма) 60,1 мм (2,37 дюйма)

      Note

      Перед установкой многодисковой муфты переднего хода в сборе нанесите жидкость для автоматических трансмиссий на контактные поверхности втулки многодисковой муфты переднего хода в сборе. После установки проверьте плавность вращения многодисковой муфты переднего хода в сборе.

  28. УСТАНОВИТЕ ПОРШЕНЬ МУФТЫ ПРЯМОЙ ПОВЫШАЮЩЕЙ ПЕРЕДАЧИ В СБОРЕ


    1. Покройте новое кольцевое уплотнение трансмиссионной жидкостью и установите его на барабан муфты прямой повышающей передачи в сборе.

    2. Покройте новое кольцевое уплотнение трансмиссионной жидкостью и установите его на поршень муфты прямой повышающей передачи в сборе.

    3. A01MXSVC01
      *1 Поршень муфты прямой повышающей передачи в сборе

      Установите поршень муфты прямой повышающей передачи в сборе в барабан муфты прямой повышающей передачи в сборе.

    4. Покройте новое кольцевое уплотнение трансмиссионной жидкостью и установите его на компенсатор муфты № 3.

    5. A01MUDBC02
      *1 Компенсатор муфты № 3
      *2 Стяжная пружина муфты повышающей передачи в сборе

      Установите стяжную пружину муфты повышающей передачи в сборе и компенсатор муфты № 3 в барабан муфты повышающей передачи в сборе.

    6. A01MX5RN03

      Установите SST на компенсатор муфты № 3 и сожмите стяжную пружину муфты повышающей передачи в сборе прессом.

      SST
      09380-50010   ( 09381-05010 )

      Note

      Во избежание деформации стяжной пружины муфты повышающей передачи в сборе прекратите нажатие, как только компенсатор муфты № 3 опустится на расстояние 1–2 мм (0,0394–0,0787 дюйма) ниже канавки пружинного стопорного кольца.

    7. С помощью SST установите пружинное стопорное кольцо.

      SST
      09350-30020   ( 09350-07070 )

      Note


      • Разрез пружинного стопорного кольца не должен совпадать с захватом держателя пружины.

      • Не разводите чрезмерно концы пружинного стопорного кольца.

  29. УСТАНОВИТЕ БАРАБАН МУФТЫ ЗАДНЕГО ХОДА В СБОРЕ


    1. A01MYSNC01
      *1 Барабан муфты заднего хода в сборе

      Покройте 3 новых кольцевых уплотнения трансмиссионной жидкостью и установите их в барабан муфты заднего хода в сборе.

    2. Установите барабан муфты заднего хода в сборе на барабан муфты прямой повышающей передачи в сборе.

  30. УСТАНОВИТЕ ПОРШЕНЬ МУФТЫ ЗАДНЕГО ХОДА


    1. A01MW1AC01
      *1 Поршень муфты заднего хода

      Покройте новое кольцевое уплотнение трансмиссионной жидкостью и установите его на поршень муфты заднего хода.

    2. Установите поршень муфты заднего хода в барабан муфты прямой повышающей передачи в сборе.

    3. A01MV1IC02
      *1 Компенсатор муфты заднего хода
      *2 Стяжная пружина муфты заднего хода в сборе

      Установите стяжную пружину муфты заднего хода в сборе и компенсатор муфты заднего хода на барабан муфты прямой повышающей передачи в сборе.

    4. A01MULYN02

      Установите SST на компенсатор муфты заднего хода и сожмите стяжную пружину муфты заднего хода в сборе прессом.

      SST
      09380-50010   ( 09381-05010 )

      Note

      Во избежание деформации стяжной пружины муфты заднего хода в сборе прекратите нажатие, как только компенсатор муфты заднего хода опустится на расстояние 1–2 мм (0,0394–0,0787 дюйма) ниже канавки пружинного стопорного кольца.

    5. С помощью SST установите пружинное стопорное кольцо.

      SST
      09350-30020   ( 09350-07070 )

      Note


      • Разрез пружинного стопорного кольца не должен совпадать с захватом держателя пружины.

      • Не разводите чрезмерно концы пружинного стопорного кольца.

  31. УСТАНОВИТЕ ДИСК МУФТЫ ЗАДНЕГО ХОДА


    1. A01MUX3C02
      *1 Пластина муфты заднего хода
      *2 Диск муфты заднего хода
      *3 Фланец муфты заднего хода

      Установите 5 пластин муфты заднего хода, 5 дисков муфты заднего хода и фланец муфты заднего хода на барабан муфты заднего хода в сборе.

      Note

      Убедитесь, что диски, пластины и фланец муфты заднего хода установлены в правильном порядке.

    2. A01MX4NC01
      *1 Пружинное стопорное кольцо

      Установите пружинное стопорное кольцо в барабан муфты заднего хода в сборе.

  32. ПРОВЕРЬТЕ ЗАЗОР УПЛОТНЕНИЯ МУФТЫ ЗАДНЕГО ХОДА

    Нажмите здесь Click here

  33. УСТАНОВИТЕ ВЕДОМЫЙ ДИСК СЦЕПЛЕНИЯ № 3


    1. A01MWXUC02
      *1 Диск сцепления № 3
      *2 Диск муфты № 3
      *3 Фланец муфты № 3

      Установите 4 пластин муфты № 3, 4 дисков муфты № 3 и фланец муфты № 3 на барабан муфты прямой повышающей передачи в сборе.

      Note

      Убедитесь, что ведомые диски сцепления № 3, пластины сцепления № 3 и фланцы муфты № 3 установлены в правильном порядке.

    2. A01MVHLC01
      *1 Пружинное стопорное кольцо

      Установите пружинное стопорное кольцо в барабан муфты прямой повышающей передачи в сборе.

  34. ПРОВЕРЬТЕ ЗАЗОР УПЛОТНЕНИЯ МУФТЫ № 3

    Нажмите здесь Click here

  35. УСТАНОВИТЕ ПЕРЕДНЮЮ ПЛАНЕТАРНУЮ ПЕРЕДАЧУ В СБОРЕ


    1. A01MX3DC01
      *1 Упорный игольчатый роликовый подшипник передней планетарной передачи

      Установите упорный игольчатый роликовый подшипник передней планетарной передачи на переднюю планетарную передачу в сборе.

    2. A01MYFTC01
      *1 Пружинное стопорное кольцо вала передней планетарной передачи

      Нанесите на 2 новых пружинных стопорных кольца вала передней планетарной передачи трансмиссионную жидкость и установите их на переднюю планетарную передачу в сборе.

      Note

      Запрещается чрезмерно увеличивать зазор пружинных стопорных колец вала передней планетарной передачи.

    3. A01MY9AC01
      *1 Пружинное стопорное кольцо вала передней планетарной передачи

      Нанесите на 3 новых пружинных стопорных кольца вала передней планетарной передачи трансмиссионную жидкость и установите их на переднюю планетарную передачу в сборе.

      Note

      Запрещается чрезмерно увеличивать зазор пружинных стопорных колец вала передней планетарной передачи.

    4. A01MY9XC01
      *1 Упорная шайба водила планетарной передачи

      Установите упорную шайбу водила планетарной передачи на переднюю планетарную передачу в сборе.

    5. A01MWAJC01
      *1 Солнечная шестерня планетарной передачи

      Установите солнечную шестерню планетарной передачи на переднюю планетарную передачу в сборе.

    6. A01MY5ZC01
      *1 Передняя планетарная передача в сборе

      Установите переднюю планетарную передачу в сборе вместе с солнечной шестерней передней планетарной передачи и многодисковую муфту повышающей передачи и заднего хода в сборе.

  36. ПРОВЕРЬТЕ ЗАЗОР УПЛОТНЕНИЯ ТОРМОЗА № 1

    Нажмите здесь Click here

  37. УСТАНОВИТЕ МНОГОДИСКОВУЮ МУФТУ ПОВЫШАЮЩЕЙ ПЕРЕДАЧИ И ЗАДНЕГО ХОДА В СБОРЕ ВМЕСТЕ С ПЕРЕДНЕЙ ПЛАНЕТАРНОЙ ПЕРЕДАЧЕЙ В СБОРЕ


    1. A01MVBSC01
      *1 Упорный игольчатый роликовый подшипник (A)
      *2 Кольцо упорного подшипника (A)

      Установите кольцо упорного подшипника, упорный игольчатый подшипник и многодисковую муфту повышающей передачи и заднего хода в сборе вместе с передней планетарной передачей в сборе в картер автоматической трансмиссии в сборе.

      Диаметры упорного игольчатого роликового подшипника и кольца упорного подшипника
      Параметр Внутри Снаружи
      Упорный игольчатый роликовый подшипник (А) 44,0 мм (1,73 дюйма) 62,0 мм (2,44 дюйма)
      Кольцо упорного подшипника (А) 36,2 мм (1,43 дюйма) 58,2 мм (2,29 дюйма)

      Note

      Перед установкой многодисковой муфты повышающей передачи и заднего хода в сборе нанесите жидкость для автоматических трансмиссий на контактные поверхности втулки многодисковой муфты повышающей передачи и заднего хода в сборе. После установки проверьте плавность вращения многодисковой муфты повышающей передачи и заднего хода в сборе передней планетарной передачей в сборе.

  38. УСТАНОВИТЕ ТОРМОЗНОЙ ДИСК № 1


    1. A01MVR2C01
      *1 Фланец тормоза № 1
      *2 Тормозной диск № 1
      *3 Тормозная пластина № 1

      Установите фланец тормоза № 1, 4 тормозных диска № 1 и 4 тормозных пластины № 1 на картер автоматической трансмиссии в сборе.

      Note

      Убедитесь в том, что тормозные диски № 1, тормозные пластины № 1 и фланец тормоза № 1 установлены в правильном порядке.

  39. УСТАНОВИТЕ МАСЛЯНЫЙ НАСОС В СБОРЕ


    1. A01MWA5C01
      *1 Масляный насос в сборе
      *2 Кольцевое уплотнение масляного насоса

      Нанесите на новое кольцевое уплотнение масляного насоса жидкость для автоматических трансмиссий и установите его на масляный насос в сборе.

    2. Поместите масляный насос в сборе на первичный вал и совместите болтовые отверстия масляного насоса в сборе и картера автоматической трансмиссии в сборе.

    3. Временно закрепите масляный насос в сборе на картере автоматической трансмиссии в сборе.

    4. Нанесите герметик на фланцы всех 11 болтов.

      Герметик
      Фирменный герметик Toyota 1281, Three Bond 1281 или аналогичный
    5. A01MYYW

      Закрепите масляный насос 11 болтами.

      Torque:
      21,1 Н*м  { 215 кгс*см, 16 фунт-сила-футов }

      Note


      • Не допускайте, чтобы герметик попадал на резьбу болтов.

      • Убедитесь, что на болтах и контактных поверхностях масляного насоса в сборе отсутствует масло.

  40. ПРОВЕРЬТЕ РАБОТУ КАЖДОГО ПОРШНЯ

    Нажмите здесь Click here

  41. УСТАНОВИТЕ САЛЬНИК ВАЛА РЫЧАГА КЛАПАНА С РУЧНЫМ УПРАВЛЕНИЕМ


    1. A01MYY1N02

      С помощью SST и молотка установите новый сальник вала рычага клапана с ручным управлением.

      SST
      09350-30020   ( 09350-07110 )
      Номинальная глубина
      -0,3 - 0,3 мм (-0,0118 - 0,0118 дюйма)
    2. Покройте кромку сальника вала рычага клапана с ручным управлением универсальной консистентной смазкой.

  42. УСТАНОВИТЕ ВАЛ ЗАПОРНОГО ШТИФТА СТОЯНОЧНОГО ТОРМОЗА


    1. A01MXV3C01
      *1 Запорный штифт стояночного тормоза
      *2 Вал запорного штифта стояночного тормоза
      *3 Пружина
      *4 E-образное кольцо
      A01MWAN Передняя сторона

      Установите разрезное уплотнение на вал запорного штифта стояночного тормоза.

    2. Установите запорный штифт стояночного тормоза, вал запорного штифта стояночного тормоза и пружину.

  43. УСТАНОВИТЕ ЗАПОРНЫЙ СТЕРЖЕНЬ СТОЯНОЧНОГО ТОРМОЗА В СБОРЕ


    1. A01MVJ6C01
      *1 Рычаг клапана с ручным управлением в сборе
      *2 Запорный стержень стояночного тормоза в сборе

      Установите запорный стержень стояночного тормоза в сборе на рычаг клапана с ручным управлением в сборе.

  44. УСТАНОВИТЕ РЫЧАГ КЛАПАНА С РУЧНЫМ УПРАВЛЕНИЕМ В СБОРЕ


    1. A01MXATC02
      *1 Распорная втулка

      Установите новую распорную втулку на рычаг клапана с ручным управлением в сборе.

    2. Установите вал рычага клапана с ручным управлением на рычаг клапана с ручным управлением в сборе, а затем в картер автоматической трансмиссии в сборе.

    3. A01MVUAC01
      *1 Пружинный штифт

      С помощью молотка установите новый пружинный штифт.

    4. A01MYEW

      Поверните распорную втулку и вал рычага клапана с ручным управлением, чтобы совместить малое отверстие на втулке с углублением на рычаге клапана с ручным управлением в сборе.

    5. Накерните распорную втулку с помощью молотка и бородка с тонким цилиндрическим концом (3 мм).

    6. Убедитесь, что распорная втулка не вращается.

  45. УСТАНОВИТЕ КРОНШТЕЙН ЗАПОРНОГО ШТИФТА СТОЯНОЧНОГО ТОРМОЗА


    1. A01MWY9N02

      Установите кронштейн запорного штифта стояночного тормоза в картер автоматической трансмиссии в сборе и закрепите его 3 болтами, затянув их в несколько этапов в порядке, показанном на рисунке.

      Torque:
      18 Н*м  { 184 кгс*см, 13 фунт-сила-футов }
    2. A01MWJ1

      Переместите рычаг клапана с ручным управлением в сборе в положение P и убедитесь, что выходной вал заблокирован запорным штифтом стояночного тормоза.

  46. УСТАНОВИТЕ ПРОБКУ КАРТЕРА АВТОМАТИЧЕСКОЙ ТРАНСМИССИИ


    1. A01MW35

      Покройте новое кольцевое уплотнение трансмиссионной жидкостью и установите его на пробку картера автоматической трансмиссии.

    2. С помощью торцевой шестигранной головки на 17 мм вверните пробку картера автоматической трансмиссии в картер автоматической трансмиссии в сборе.

      Torque:
      80 Н*м  { 816 кгс*см, 59 фунт-сила-футов }
  47. УСТАНОВИТЕ ДАТЧИК ОБОРОТОВ ТРАНСМИССИИ (NT)


    1. Нанесите на кольцевое уплотнение трансмиссионную жидкость.

    2. A01MYK8C01
      *1 Датчик частоты вращения трансмиссии (NT)

      Установите датчик оборотов трансмиссии (NT) на картер автоматической трансмиссии и закрепите его болтом с помощью торцевого ключа "TORX" T30.

      Torque:
      6,8 Н*м  { 69 кгс*см, 60 фунт-сила-дюймов }

      Note


      • В случае повторного использования датчика оборотов трансмиссии (NT) проверьте кольцевое уплотнение.

      • При установке датчика оборотов трансмиссии (NT) следите за тем, чтобы кольцевое уплотнение не треснуло и не оказалось смятым.

  48. УСТАНОВИТЕ ДАТЧИК ОБОРОТОВ ТРАНСМИССИИ SP2


    1. A01MWURC01
      *1 Датчик оборотов трансмиссии (SP2)

      Установите датчик оборотов трансмиссии (SP2) и закрепите его болтом.

      Torque:
      5,4 Н*м  { 55 кгс*см, 48 фунт-сила-дюймов }
  49. УСТАНОВИТЕ ДАТЧИК ОБОРОТОВ ТРАНСМИССИИ (NC3)


    1. A01MZB5C01
      *1 Датчик оборотов трансмиссии (NC3)

      Установите датчик оборотов трансмиссии (NC3), закрепив его болтом.

      Torque:
      5,4 Н*м  { 55 кгс*см, 48 фунт-сила-дюймов }
  50. УСТАНОВИТЕ ЖГУТ ЭЛЕКТРОПРОВОДКИ ТРАНСМИССИИ


    1. A01MVN4

      Установите зажим жгута проводов корпуса клапанов на картер автоматической трансмиссии в сборе и закрепите болтом.

      Torque:
      5,4 Н*м  { 55 кгс*см, 48 фунт-сила-дюймов }
    2. Нанесите на кольцевое уплотнение трансмиссионную жидкость.

    3. A01MUIC

      Установите жгут электропроводки трансмиссии в картер трансмиссии и закрепите его болтом.

      Torque:
      5,4 Н*м  { 55 кгс*см, 48 фунт-сила-дюймов }

      Note


      • В случае повторного использования жгута электропроводки трансмиссии проверьте кольцевое уплотнение.

      • При установке жгута электропроводки трансмиссии проследите, чтобы кольцевое уплотнение не треснуло и не оказалось смятым.

    4. A01MYYT

      Подсоедините 3 разъема датчика оборотов трансмиссии.

  51. УСТАНОВИТЕ КОРПУС КЛАПАНОВ ТРАНСМИССИИ В СБОРЕ

    Нажмите здесь Click here

  52. УСТАНОВИТЕ СЕТЧАТЫЙ МАСЛЯНЫЙ ФИЛЬТР КОРПУСА КЛАПАНОВ В СБОРЕ

    Нажмите здесь Click here

  53. УСТАНОВИТЕ МАСЛЯНЫЙ ПОДДОН АВТОМАТИЧЕСКОЙ ТРАНСМИССИИ В СБОРЕ


    1. A01MUP3C02
      *1 Магнит масляного фильтра трансмиссии

      Установите 3 магнита масляного фильтра трансмиссии на масляный поддон автоматической трансмиссии, как показано на рисунке.

    2. Установите новую прокладку масляного поддона автоматической трансмиссии на масляный поддон автоматической трансмиссии.

    3. A01MVRT

      Установите масляный поддон автоматической трансмиссии с прокладкой на картер автоматической трансмиссии и закрепите его 9 болтами.

      Torque:
      7,4 Н*м  { 75 кгс*см, 65 фунт-сила-дюймов }

      Note

      A01MWWEC02
      *1 Втулка
      *2 Картер автоматической трансмиссии в сборе
      *a Правильно
      *b Неправильно
      *c Выступание

      • Убедитесь, что уплотнительной поверхности прокладки масляного поддона автоматической трансмиссии и контактной поверхности масляного поддона автоматической трансмиссии отсутствует масло и посторонние частицы.

      • Установите прокладку масляного поддона автоматической трансмиссии так, чтобы она не была ослаблена и вся уплотнительная поверхность была ровной.

      • Убедитесь, что 9 выступов надлежащим образом введены в зацепление на масляном поддоне автоматической трансмиссии.

      • При установке масляного поддона автоматической трансмиссии следите за тем, чтобы прокладка масляного поддона автоматической трансмиссии не была защемлена между втулкой и уплотнительной поверхностью картера автоматической трансмиссии.

  54. УСТАНОВИТЕ ШЛАНГ ПРОБКИ САПУНА

    A01MWD1

    1. Установите на шланг пробки сапуна новое кольцевое уплотнение.

    2. Установите шланг пробки сапуна на картер автоматической трансмиссии.

  55. УСТАНОВИТЕ МАСЛЯНЫЙ РАДИАТОР ТРАНСМИССИИ


    1. A01MU7JC02
      *1 Кольцевое уплотнение

      Покройте 2 новых кольцевых уплотнения трансмиссионной жидкостью и установите их на масляный радиатор трансмиссии.

    2. A01MU4P

      Установите масляный радиатор трансмиссии на картер автоматической трансмиссии в сборе и закрепите 3 болтами.

      Torque:
      21 Н*м  { 214 кгс*см, 15 фунт-сила-футов }
  56. УСТАНОВИТЕ ДАТЧИК ПОЛОЖЕНИЯ ПАРКИНГА / НЕЙТРАЛИ В СБОРЕ

    Tech Tips

    Перед установкой датчика положения паркинга/нейтрали убедитесь, что вал рычага клапана с ручным управлением не повернут, так как пружина фиксатора может отсоединиться от вала рычага клапана с ручным управлением.


    1. Очистите болт и отверстие под болт.

    2. A01MW7PC62
      *a Герметик 1344

      Нанесите герметик на последние 2-3 нитки резьбы болта.

      Герметик
      Фирменный герметик 1344 от компании Toyota, Three Bond 1344 или аналогичный

      Note

      Вверните болт в течение 3 минут после нанесения герметика.

    3. A01MYXJ

      Временно закрепите датчик положения паркинга/нейтрали в сборе на картере автоматической трансмиссии в сборе с помощью болта.

    4. Установите стопорную шайбу и гайку на датчик положения паркинга/нейтрали.

      Torque:
      6,9 Н*м  { 70 кгс*см, 61 фунт-сила-дюйм }
    5. Временно установите правый рычаг приводного вала трансмиссии на датчик положения паркинга/нейтрали в сборе и закрепите его гайкой с пружинной шайбой.

    6. A01MU83C01
      *1 Правый рычаг приводного вала трансмиссии
      *a P
      *b R
      *c N

      Поверните правый рычаг приводного вала трансмиссии до упора против часовой стрелки, а затем на 2 прорези по часовой стрелке.

    7. Отверните гайку, снимите пружинную шайбу и снимите правый рычаг приводного вала трансмиссии с датчика положения паркинга/нейтрали в сборе.

    8. A01MYYKC02
      *a Базовая линия нейтрали
      *b Канавка

      Совместите базовую линию нейтрали с канавкой, как показано на рисунке.

    9. Удерживая датчик положения паркинга/нейтрали в сборе в таком положении, затяните болт.

      Torque:
      12,8 Н*м  { 131 кгс*см, 9 фунт-сила-футов }
    10. С помощью отвертки загните вверх лепестки стопорной шайбы.

  57. УСТАНОВИТЕ ПРАВЫЙ РЫЧАГ ПРИВОДНОГО ВАЛА ТРАНСМИССИИ


    1. A01MXOX

      Установите правый рычаг приводного вала трансмиссии на датчик положения паркинга/нейтрали в сборе и закрепите его гайкой с пружинной шайбой.

      Torque:
      15,7 Н*м  { 160 кгс*см, 12 фунт-сила-дюймов }
    2. A01MVHK

      Установите уплотнительную шайбу на правый рычаг приводного вала трансмиссии.

    3. A01MV8Z

      Установите распорную втулку вала рычага клапана с ручным управлением на правый рычаг приводного вала трансмиссии.