ЗАДНИЙ САЛЬНИК АВТОМАТИЧЕСКОЙ ТРАНСМИССИИ (для моделей с 2GR-FSE) ЗАМЕНА

ПОРЯДОК ВЫПОЛНЕНИЯ


  1. СНИМИТЕ КАРДАННЫЙ ВАЛ С ЦЕНТРАЛЬНЫМ ПОДШИПНИКОМ В СБОРЕ

    Нажмите здесь Click here

  2. СНИМИТЕ ФЛАНЦЕВУЮ ВИЛКУ АВТОМАТИЧЕСКОЙ ТРАНСМИССИИ В СБОРЕ


    1. A01MZ8GN03

      С помощью SST и молотка ослабьте накерненную часть контргайки.

      SST
      09930-00010

      Note


      • SST следует обращать конической поверхностью к валу.

      • Не стачивайте наконечник SST с помощью шлифовального станка или другого устройства.

      • Перед снятием контргайки полностью освободите ее накерненную часть.

      • Не повредите резьбы вала.

    2. A01MV1RN05

      Подсоедините SST.

      SST
      09330-00021
      09950-30012   ( 09955-03040 )
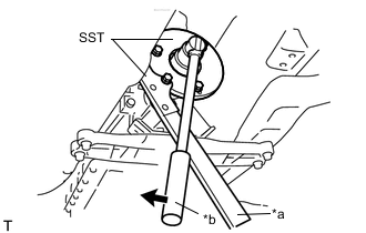
    3. A01MXF5C02
      *a Удерживайте
      *b Поверните

      С помощью SST и удлиненной торцевой головки на 30 мм отверните контргайку.

    4. Снимите SST.

    5. С помощью молотка с пластмассовым покрытием выбейте и снимите фланцевую вилку автоматической трансмиссии в сборе.

    6. A01MZ8JC01
      *1 Сальник

      С помощью отвертки подденьте и снимите сальник с фланцевой вилки автоматической трансмиссии.

      Note

      Соблюдайте осторожность, чтобы не повредить фланцевую вилку автоматической трансмиссии в сборе.

  3. СНИМИТЕ ЗАДНИЙ САЛЬНИК АВТОМАТИЧЕСКОЙ ТРАНСМИССИИ


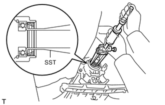
    1. A01MWNGN07

      С помощью SST выбейте задний сальник автоматической трансмиссии.

      SST
      09308-00010
  4. УСТАНОВИТЕ ЗАДНИЙ САЛЬНИК АВТОМАТИЧЕСКОЙ ТРАНСМИССИИ


    1. Смажьте кромку нового заднего сальника автоматической трансмиссии универсальной консистентной смазкой.

    2. A01MZ4FC01
      *a Глубина установки сальника

      С помощью SST и молотка запрессуйте задний сальник автоматической трансмиссии.

      SST
      09214-76011
      Глубина установки сальника от торца
      3,3 - 3,7 мм (0,130 - 0,145 дюйма)
  5. УСТАНОВИТЕ ФЛАНЦЕВУЮ ВИЛКУ АВТОМАТИЧЕСКОЙ ТРАНСМИССИИ В СБОРЕ


    1. Покройте кромку нового сальника универсальной консистентной смазкой.

    2. A01MW8FC02
      *1 Сальник

      С помощью SST и молотка установите сальник.

      SST
      09517-36010
      Глубина установки сальника
      0 - 0,3 мм (0 - 0,0118 дюйма)
    3. Установите фланцевую вилку автоматической трансмиссии.

    4. A01MX7QC03
      *a Удерживайте
      *b Поверните

      Установите SST.

      SST
      09330-00021
      09950-30012   ( 09955-03040 )
    5. С помощью SST и удлиненной торцевой головки на 30 мм вверните и затяните новую контргайку.

      Torque:
      135 Н*м  { 1377 кгс*см, 100 фунт-сила-футов }
    6. Надежно закрепите гайку с помощью молотка и зубила.

  6. УСТАНОВИТЕ КАРДАННЫЙ ВАЛ С ЦЕНТРАЛЬНЫМ ПОДШИПНИКОМ В СБОРЕ

    Нажмите здесь Click here