ЗАДНИЙ САЛЬНИК АВТОМАТИЧЕСКОЙ ТРАНСМИССИИ (для моделей с 2GR-FSE) УЗЛЫ И ДЕТАЛИ

ИЛЛЮСТРАЦИЯ

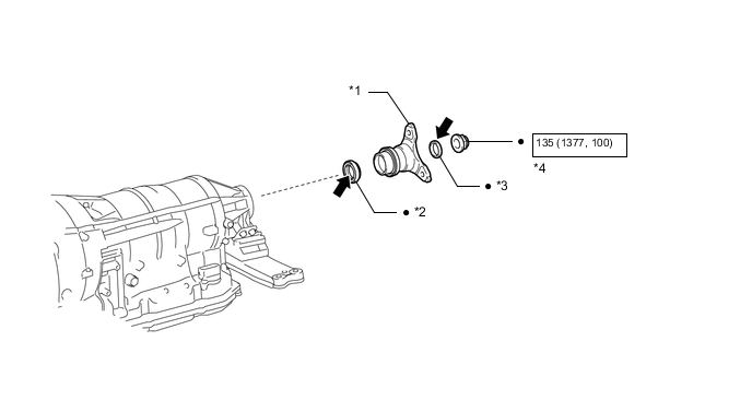
A0126M4C01
*1 ФЛАНЦЕВАЯ ВИЛКА АВТОМАТИЧЕСКОЙ ТРАНСМИССИИ В СБОРЕ *2 ЗАДНИЙ САЛЬНИК АВТОМАТИЧЕСКОЙ ТРАНСМИССИИ
*3 САЛЬНИК *4 КОНТРГАЙКА
A01MYHV Н*м (кгс*см, фунт-сила-фут) : Номинальный момент затяжки Деталь однократного применения
A01MWAN Универсальная консистентная смазка - -