СИСТЕМА АВТОМАТИЧЕСКОЙ ТРАНСМИССИИ (для моделей с 8AR-FTS) Цепь переключателя управления переключением

ОПИСАНИЕ

Когда рычаг переключения передач находится в положении D, приведение в действие переключателя управления переключением передач "-" вызывает переход трансмиссии в режим фиксации диапазона, в котором ограничивается наивысшая передача. С помощью переключателей управления переключением "+" (переключение на более высокую передачу) или "-" (переключение на более низкую передачу) можно переключать передачи.

Если во время движения с рычагом переключения передач в положении D (в режиме фиксации диапазона) автомобиль останавливается, или педаль акселератора непрерывно удерживается в течение определенного периода времени на одной и той же передаче, автомобиль автоматически возвращается в нормальный для положения D режим работы.

Когда рычаг переключения передач находится в положении M, можно использовать максимальные частоты вращения коленчатого вала двигателя, зафиксировав передачу в автомобиле. Фиксация передачи означает, что передачи не будут переключаться до тех пор, пока не будет нажат переключатель управления переключением "+" (переключение на более высокую передачу) и "-" (переключение на более низкую передачу).

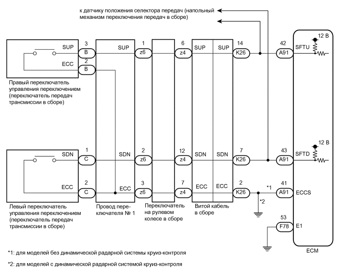
СХЕМА СОЕДИНЕНИЙ

A01MYOHE02

ПОРЯДОК ВЫПОЛНЕНИЯ


  1. ПРОВЕРЬТЕ СОСТОЯНИЕ АВТОМОБИЛЯ


    1. Выберите модель для проверки.

      Результат
      Результат Следующий шаг
      Для моделей без динамической радарной системы круиз-контроля А
      для моделей с динамической радарной системой круиз-контроля B

    B
    А
  2. ПРОВЕРЬТЕ ЖГУТ ПРОВОДОВ И РАЗЪЕМ (ПЕРЕКЛЮЧАТЕЛЬ УПРАВЛЕНИЯ ПЕРЕКЛЮЧЕНИЕМ - ЕСМ)


    1. Отсоедините разъем А91 ECM.

    2. Измерьте сопротивление в соответствии со значениями, приведенными в таблице ниже.

      Номинальное сопротивление
      Подключение диагностического прибора Условие Заданные условия
      A91-42 (SFTU) - A91-41 (ECCS) "+" постоянно вытянут (переключение на более высокую передачу) Менее 2,5 Ом
      "+" отпущен (переключение на более высокую передачу) 1 МОм или более
      A91-43 (SFTD) - A91-41 (ECCS) "-" постоянно вытянут (переключение на более низкую передачу) Менее 2,5 Ом
      "-" отпущен (переключение на более низкую передачу) 1 МОм или более
      Результат
      Следующий шаг
      OK
      NG

    NG
    OK
  3. ПРОВЕРЬТЕ ЖГУТ ПРОВОДОВ И РАЗЪЕМЫ (ECM — МАССА)


    1. Отсоедините разъем F78 ЕСМ.

    2. Измерьте сопротивление в соответствии со значениями, приведенными в таблице ниже.

      Номинальное сопротивление
      Подключение диагностического прибора Условие Заданные условия
      F78-53 (Е1) - масса Всегда Менее 1 Ом
      Результат
      Перейти к
      OK
      NG

    OK
    NG
  4. ПРОВЕРЬТЕ ЖГУТ ПРОВОДОВ И РАЗЪЕМ (ВИТОЙ КАБЕЛЬ - ECM)


    1. Отсоедините разъем K26 витого кабеля в сборе.

    2. Отсоедините разъем А91 ECM.

    3. Измерьте сопротивление в соответствии со значениями, приведенными в таблице ниже.

      Номинальное сопротивление
      Подключение диагностического прибора Условие Заданные условия
      A91-42 (SFTU) - K26-14 (SUP) Всегда Менее 1 Ом
      A91-43 (SFTD) - K26-7 (SDN) Всегда Менее 1 Ом
      A91-41 (ECCS) - K26-2 (ECC) Всегда Менее 1 Ом
      A91-42 (SFTU) или K26-14 (SUP) - масса Всегда 10 кОм или более
      A91-43 (SFTD) или K26-7 (SDN) - масса Всегда 10 кОм или более
      A91-41 (ECCS) или K26-2 (ECC) - масса Всегда 10 кОм или более
      Результат
      Следующий шаг
      OK
      NG

    NG
    OK
  5. ПРОВЕРЬТЕ ВИТОЙ КАБЕЛЬ В СБОРЕ


    1. Проверьте состояние витого кабеля

      Нажмите здесь Click here

      Результат
      Перейти к
      OK
      NG

    NG
    OK
  6. ОСМОТРИТЕ ПЕРЕКЛЮЧАТЕЛЬ УПРАВЛЕНИЯ ПЕРЕКЛЮЧЕНИЕМ В СБОРЕ (ЛЕВЫЙ ПЕРЕКЛЮЧАТЕЛЬ УПРАВЛЕНИЯ ПЕРЕКЛЮЧЕНИЕМ)


    1. A01MWTZC05
      *a

      Устройство с неподсоединенным жгутом проводов

      (Левый переключатель управления переключением (переключатель передач трансмиссии в сборе))

      Снимите переключатель передач трансмиссии в сборе (левый переключатель управления переключением).

      Нажмите здесь Click here

    2. Измерьте сопротивление в соответствии со значениями, приведенными в таблице ниже.

      Номинальное сопротивление
      Подключение диагностического прибора Условие Заданные условия
      C-1 (SDN) - C-2 (ECC) "-" постоянно вытянут (переключение на более низкую передачу) Менее 2,5 Ом
      "-" отпущен (переключение на более низкую передачу) 1 МОм или более
      Результат
      Перейти к
      OK
      NG

    NG
    OK
  7. ОСМОТРИТЕ ПЕРЕКЛЮЧАТЕЛЬ УПРАВЛЕНИЯ ПЕРЕКЛЮЧЕНИЕМ В СБОРЕ (ПРАВЫЙ ПЕРЕКЛЮЧАТЕЛЬ УПРАВЛЕНИЯ ПЕРЕКЛЮЧЕНИЕМ)


    1. A01MXMBC04
      *a

      Устройство с неподсоединенным жгутом проводов

      (Правый переключатель управления переключением (переключатель передач трансмиссии в сборе))

      Снимите переключатель передач трансмиссии в сборе (правый переключатель управления переключением).

      Нажмите здесь Click here

    2. Измерьте сопротивление в соответствии со значениями, приведенными в таблице ниже.

      Номинальное сопротивление
      Подключение диагностического прибора Условие Заданные условия
      B-3 (SUP) - B-2 (ECC) "+" постоянно вытянут (переключение на более высокую передачу) Менее 2,5 Ом
      "+" отпущен (переключение на более высокую передачу) 1 МОм или более
      Результат
      Следующий шаг
      OK
      NG

    NG
    OK
  8. ПРОВЕРЬТЕ ЖГУТ ПРОВОДОВ ПЕРЕКЛЮЧАТЕЛЯ № 1


    1. A01MU6SC06
      *a

      Вид спереди разъема со стороны жгута проводов:

      (к переключателю на рулевом колесе)

      Установите переключатель передач трансмиссии в сборе.

      Нажмите здесь Click here

    2. Отсоедините разъем z6 жгута проводов переключателя № 1 от переключателя на рулевом колесе.

    3. Измерьте сопротивление в соответствии со значениями, приведенными в таблице ниже.

      Номинальное сопротивление
      Подключение диагностического прибора Условие Заданные условия
      z6-1 (SUP) - z6-3 (ECC) "+" постоянно вытянут (переключение на более высокую передачу) Менее 2,5 Ом
      "+" отпущен (переключение на более высокую передачу) 1 МОм или более
      z6-2 (SDN) - z6-3 (ECC) "-" постоянно вытянут (переключение на более низкую передачу) Менее 2,5 Ом
      "-" отпущен (переключение на более низкую передачу) 1 МОм или более
      Результат
      Следующий шаг
      OK
      NG

    NG
    OK
  9. ПРОВЕРЬТЕ ПЕРЕКЛЮЧАТЕЛИ НА РУЛЕВОМ КОЛЕСЕ


    1. A01MWL3C15
      *a

      Вид спереди разъема со стороны жгута проводов:

      (к витому кабелю в сборе)

      Подсоедините разъем z6 жгута проводов переключателя № 1 к переключателю на рулевом колесе.

    2. Отсоедините разъем z4 переключателя на рулевом колесе.

    3. Измерьте сопротивление в соответствии со значениями, приведенными в таблице ниже.

      Номинальное сопротивление
      Подключение диагностического прибора Условие Заданные условия
      z4-6 (SUP) - z4-7 (ECC) "+" постоянно вытянут (переключение на более высокую передачу) Менее 2,5 Ом
      "+" отпущен (переключение на более высокую передачу) 1 МОм или более
      z4-12 (SDN) - z4-7 (ECC) "-" постоянно вытянут (переключение на более низкую передачу) Менее 2,5 Ом
      "-" отпущен (переключение на более низкую передачу) 1 МОм или более
      Результат
      Перейти к
      OK
      NG

    OK
    NG
  10. ПРОВЕРЬТЕ ЖГУТ ПРОВОДОВ И РАЗЪЕМ (ПЕРЕКЛЮЧАТЕЛЬ УПРАВЛЕНИЯ ПЕРЕКЛЮЧЕНИЕМ - ЕСМ)


    1. Отсоедините разъем А91 ECM.

    2. Измерьте сопротивление в соответствии со значениями, приведенными в таблице ниже.

      Номинальное сопротивление
      Подключение диагностического прибора Условие Заданные условия
      A91-42 (SFTU) - масса "+" постоянно вытянут (переключение на более высокую передачу) Менее 2,5 Ом
      "+" отпущен (переключение на более высокую передачу) 1 МОм или более
      A91-43 (SFTD) - масса "-" постоянно вытянут (переключение на более низкую передачу) Менее 2,5 Ом
      "-" отпущен (переключение на более низкую передачу) 1 МОм или более
      Результат
      Перейти к
      OK
      NG

    OK
    NG
  11. ПРОВЕРЬТЕ ЖГУТ ПРОВОДОВ И РАЗЪЕМ (ВИТОЙ КАБЕЛЬ - ECM)


    1. Отсоедините разъем K26 витого кабеля в сборе.

    2. Отсоедините разъем А91 ECM.

    3. Измерьте сопротивление в соответствии со значениями, приведенными в таблице ниже.

      Номинальное сопротивление
      Подключение диагностического прибора Условие Заданные условия
      A91-42 (SFTU) - K26-14 (SUP) Всегда Менее 1 Ом
      A91-43 (SFTD) - K26-7 (SDN) Всегда Менее 1 Ом
      A91-42 (SFTU) или K26-14 (SUP) - масса Всегда 10 кОм или более
      A91-43 (SFTD) или K26-7 (SDN) - масса Всегда 10 кОм или более
      Результат
      Перейти к
      OK
      NG

    NG
    OK
  12. ПРОВЕРЬТЕ ЖГУТ ПРОВОДОВ И РАЗЪЕМ (ВИТОЙ КАБЕЛЬ - МАССА)


    1. Отсоедините разъем K26 витого кабеля в сборе.

    2. Измерьте сопротивление в соответствии со значениями, приведенными в таблице ниже.

      Номинальное сопротивление
      Подключение диагностического прибора Условие Заданные условия
      K26-2 (ECC) - масса Всегда Менее 1 Ом
      Результат
      Перейти к
      OK
      NG

    OK
    NG