БЛОК АВТОМАТИЧЕСКОЙ ТРАНСМИССИИ ПОВТОРНАЯ СБОРКА

ПОРЯДОК ВЫПОЛНЕНИЯ


  1. РАСПОЛОЖЕНИЕ ПОДШИПНИКОВ

    A01MYPLN01
    Метка Внутренний/наружный диаметр переднего кольца Внутренний/наружный диаметр упорного подшипника Внутренний/наружный диаметр заднего кольца
    А 74,2 мм (2,921 дюйма) / 87,7 мм (3,453 дюйма) 71,9 мм (2,831 дюйма) / 85,6 мм (3,370 дюйма) -
    B 37,0 мм (1,457 дюйма) / 51,2 мм (2,016 дюйма) 33,5 мм (1,319 дюйма) / 48,0 мм (1,890 дюйма) -
    C 20,0 мм (0,787 дюйма) / 35,6 мм (1,402 дюйма) 20,0 мм (0,787 дюйма) / 41,0 мм (1,614 дюйма) -
    D 31,0 мм (1,220 дюйма) / 48,0 мм (1,890 дюйма) 33,3 мм (1,311 дюйма) / 51,2 мм (2,016 дюйма) -
    E - 42,5 мм (1,673 дюйма) / 61,2 мм (2,409 дюйма) -
    F 34,9 мм (1,374 дюйма) / 50,8 мм (1,999 дюйма) 38,6 мм (1,520 дюйма) / 53,1 мм (2,091 дюйма) -
    G - 58,5 мм (2,303 дюйма) / 73,5 мм (2,894 дюйма) 55,2 мм (2,173 дюйма) / 71,2 мм (2,803 дюйма)
    H 29,6 мм (1,165 дюйма) / 44,9 мм (1,768 дюйма) 27,8 мм (1,095 дюйма) / 43,8 мм (1,726 дюйма) 27,8 мм (1,095 дюйма) / 43,7 мм (1,721 дюйма)
    I 19,0 мм (0,748 дюйма) / 35,0 мм (1,378 дюйма) 20,8 мм (0,819 дюйма) / 38,5 мм (1,516 дюйма) -
    J 43,3 мм (1,705 дюйма) / 56,7 мм (2,232 дюйма) 40,6 мм (1,598 дюйма) / 58,0 мм (2,284 дюйма) -
    K 37,0 мм (1,457 дюйма) / 51,2 мм (2,016 дюйма) 36,1 мм (1,421 дюйма) / 52,5 мм (2,067 дюйма) 36,1 мм (1,421 дюйма) / 51,0 мм (2,007 дюйма)
  2. УСТАНОВИТЕ ПОРШЕНЬ ТОРМОЗНОГО ЦИЛИНДРА № 4


    1. A01MVAHC01
      *1 Реактивная втулка тормоза
      *2 Поршень тормозного цилиндра № 4
      *3 Кольцевое уплотнение

      Покройте 2 новых кольцевых уплотнения трансмиссионной жидкостью и установите их на реактивную втулку тормоза.

    2. Покройте 2 новых кольцевых уплотнения трансмиссионной жидкостью и установите их на поршень тормозного цилиндра № 4.

    3. Установите поршень тормозного цилиндра № 4 на реактивную втулку тормоза. ПРИМЕЧАНИЕ:

      Note

      Соблюдайте осторожность, чтобы не повредить кольцевые уплотнения.

  3. УСТАНОВИТЕ РЕАКТИВНУЮ ВТУЛКУ ТОРМОЗА


    1. A01MVP6C01
      *1 Реактивная втулка тормоза
      *2 Поршень тормозного цилиндра № 4

      Расположив поршень тормозного цилиндра № 4 снизу (сзади), установите реактивную втулку тормоза и поршень тормозного цилиндра № 4 в картер автоматической трансмиссии.

      Note

      Соблюдайте осторожность, чтобы не повредить кольцевые уплотнения.

  4. УСТАНОВИТЕ ПОРШЕНЬ ТОРМОЗНОГО ЦИЛИНДРА 1-Й ПЕРЕДАЧИ И ПЕРЕДАЧИ ЗАДНЕГО ХОДА


    1. A01MXRXC01
      *1 Поршень тормозного цилиндра 1-й передачи и передачи заднего хода

      Покройте новое кольцевое уплотнение трансмиссионной жидкостью и установите его на поршень тормозного цилиндра 1-й передачи и передачи заднего хода.

    2. Обратив седло пружины поршня тормозного цилиндра 1-й передачи и передачи заднего хода вверх (спереди), поместите поршень тормозного цилиндра 1-й передачи и передачи заднего хода в картер автоматической трансмиссии в сборе.

      Note

      Соблюдайте осторожность, чтобы не повредить кольцевое уплотнение.

  5. УСТАНОВИТЕ СТЯЖНУЮ ПРУЖИНУ ТОРМОЗА 1-Й ПЕРЕДАЧИ И ПЕРЕДАЧИ ЗАДНЕГО ХОДА В СБОРЕ


    1. A01MY8KC01
      *1 Пружинное стопорное кольцо

      Установите стяжную пружину тормоза 1-й передачи и передачи заднего хода в сборе на поршень тормозного цилиндра 1-й передачи и передачи заднего хода.

    2. Поместите SST на стяжную пружину тормоза 1-й передачи и передачи заднего хода и сожмите эту пружину.

      SST
      09350-30020   ( 09350-07050 )
    3. С помощью SST установите пружинное стопорное кольцо на картер автоматической трансмиссии в сборе.

      SST
      09350-30020   ( 09350-07070 )

      Note

      Не разводите чрезмерно концы пружинного стопорного кольца.

  6. УСТАНОВИТЕ МАСЛЯНУЮ ТРУБКУ ТОРМОЗА


    1. A01MYST

      Установите масляную трубку тормоза, вставив выступ трубки в канавку картера автоматической трансмиссии, как показано на рисунке.

      Note

      Сцепите захват поршня тормозного цилиндра 1-й передачи и передачи заднего хода с выступом масляной трубки тормоза.

  7. УСТАНОВИТЕ ЗАДНЮЮ ПЛАНЕТАРНУЮ ПЕРЕДАЧУ В СБОРЕ


    1. A01MYXA

      Установите упорный игольчатый роликовый подшипник на картер автоматической трансмиссии в сборе.

      Диаметр подшипника
      Параметр / Устройство Внутри Снаружи
      Упорный игольчатый роликовый подшипник 40,6 мм (1,598 дюйма) 58,0 мм (2,284 дюйма)
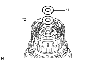
    2. A01MVTAC01
      *1 Кольцо упорного подшипника
      *2 Упорный игольчатый роликовый подшипник
      *3 Кольцо упорного подшипника № 9

      Установите упорный игольчатый роликовый подшипник на заднюю планетарную передачу.

      Диаметры подшипников и колец
      Параметр / Устройство Внутри Снаружи
      Упорный игольчатый роликовый подшипник 20,8 мм (0,819 дюйма) 38,5 мм (1,516 дюйма)
      Кольцо упорного подшипника 19,0 мм (0,748 дюйма) 35,0 мм (1,378 дюйма)
      Кольцо упорного подшипника № 9 43,3 мм (1,705 дюйма) 56,7 мм (2,232 дюйма)
    3. Покройте кольцо упорного подшипника № 9 и кольцо упорного подшипника техническим вазелином, и установите их на заднюю планетарную передачу.

    4. A01MUGS

      Установите заднюю планетарную передачу в сборе на картер автоматической трансмиссии в сборе.

  8. ПРОВЕРЬТЕ ЗАЗОР УПЛОТНЕНИЯ ТОРМОЗА № 4

    Нажмите здесь Click here

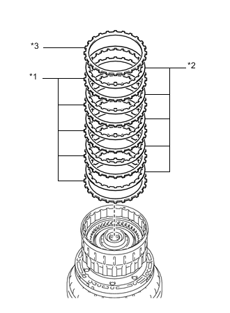
  9. УСТАНОВИТЕ ТОРМОЗНОЙ ДИСК № 4


    1. A01MXLSC01
      *1 Фланец тормоза № 4
      *2 Тормозной диск № 4
      *3 Тормозная пластина № 4

      Установите 2 фланца тормоза № 4, 5 тормозных дисков № 4 и 4 тормозных пластины № 4 на картер автоматической трансмиссии в сборе.

      Порядок установки
      *1 - *2 - *3 - *2 - *3 - *2 - *3 - *2 - *3 - *2 - *1

      Note

      Убедитесь в том, что тормозные диски № 4, тормозные пластины № 4 и фланец тормоза № 4 установлены в правильном порядке.

  10. УСТАНОВИТЕ СТОПОРНУЮ ПРУЖИНУ ТОРМОЗНОЙ ПЛАСТИНЫ


    1. A01MWOL

      Установите стопорную пружину тормозной пластины на картер автоматической трансмиссии в сборе.

  11. УСТАНОВИТЕ ФЛАНЕЦ КОРОННОЙ ШЕСТЕРНИ ЗАДНЕЙ ПЛАНЕТАРНОЙ ПЕРЕДАЧИ В СБОРЕ


    1. A01MVE6C01
      *1 Защитная клейкая лента

      С помощью отвертки установите фланец коронной шестерни задней планетарной передачи на коронную шестерню задней планетарной передачи и зафиксируйте его пружинным стопорным кольцом.

      Note

      Соблюдайте осторожность, чтобы не повредить коронную шестерню задней планетарной передачи.

      Tech Tips

      Конец отвертки перед использованием следует изолировать защитной клейкой лентой.

  12. УСТАНОВИТЕ КОРОННУЮ ШЕСТЕРНЮ ЗАДНЕЙ ПЛАНЕТАРНОЙ ПЕРЕДАЧИ


    1. A01MUFFC01
      *1 Коронная шестерня задней планетарной передачи
      *2 Кольцо упорного подшипника № 7
      *3 Упорный игольчатый роликовый подшипник
      *4 Кольцо упорного подшипника № 8

      Установите кольцо упорного подшипника № 8, упорный игольчатый роликовый подшипник, кольцо упорного подшипника № 7 и коронную шестерню задней планетарной передачи на промежуточный вал.

      Диаметры подшипников и колец
      Параметр / Устройство Внутри Снаружи
      Кольцо упорного подшипника № 7 29,6 мм (1,165 дюйма) 44,9 мм (1,768 дюйма)
      Упорный игольчатый роликовый подшипник 27,8 мм (1,095 дюйма). 43,8 мм (1,726 дюйма)
      Кольцо упорного подшипника № 8 27,8 мм (1,095 дюйма) 43,7 мм (1,721 дюйма)
  13. УСТАНОВИТЕ МУФТУ СВОБОДНОГО ХОДА № 3 В СБОРЕ


    1. A01MYFNC01
      *1 Муфта свободного хода № 3
      *2 Внутреннее кольцо муфты свободного хода

      Установите муфту свободного хода № 3 в сборе и внутреннее кольцо муфты свободного хода на промежуточный вал.

  14. УСТАНОВИТЕ ПРОМЕЖУТОЧНЫЙ ВАЛ


    1. A01MUDU

      Установите промежуточный вал вместе с муфтой свободного хода № 3 в сборе на картер автоматической трансмиссии в сборе.

    2. A01MXWZN01

      С помощью SST установите пружинное стопорное кольцо на картер автоматической трансмиссии в сборе.

      SST
      09350-30020   ( 09350-07060 )
  15. УСТАНОВИТЕ ЦЕНТРАЛЬНУЮ ПЛАНЕТАРНУЮ ПЕРЕДАЧУ В СБОРЕ


    1. A01MXJEC01
      *1 Упорный игольчатый роликовый подшипник
      *2 Кольцо упорного подшипника № 4
      *3 Центральная планетарная передача в сборе
      *4 Солнечная шестерня планетарной передачи

      Установите центральную планетарную передачу в сборе и солнечную шестерню планетарной передачи в картер автоматической трансмиссии.

      Диаметры подшипников и колец
      Параметр Внутри Снаружи
      Упорный игольчатый роликовый подшипник 58,5 мм (2,303 дюйма) 73,5 мм (2,894 дюйма)
      Кольцо упорного подшипника № 4 54,8 мм (2,157 дюйма) 71,2 мм (2,803 дюйма)
    2. Смажьте кольцо упорного подшипника № 4 техническим вазелином и установите его на центральную планетарную передачу в сборе.

    3. Установите упорный игольчатый роликовый подшипник на центральную планетарную передачу.

  16. УСТАНОВИТЕ ПОРШЕНЬ ТОРМОЗНОГО ЦИЛИНДРА № 2


    1. A01MVCXC01
      *1 Кольцевое уплотнение

      Покройте 2 новых кольцевых уплотнения трансмиссионной жидкостью и установите их на поршень тормозного цилиндра № 2.

    2. Вставьте поршень тормозного цилиндра № 2 в тормозной цилиндр № 2.

      Note

      Соблюдайте осторожность, чтобы не повредить кольцевые уплотнения.

  17. УСТАНОВИТЕ ТОРМОЗНОЙ ЦИЛИНДР № 2


    1. A01MV8K

      Установите тормозной цилиндр № 2 в картер автоматической трансмиссии.

      Tech Tips

      Установите тормозной цилиндр № 2 так, чтобы выступ выдавался с верхней стороны картера автоматической трансмиссии.

    2. A01MVUO

      Убедитесь в том, что отверстие для подачи масла в тормозном цилиндре № 2 совмещено с отверстием для подачи масла в картере автоматической трансмиссии.

  18. УСТАНОВИТЕ ТОРМОЗНОЙ ДИСК № 2


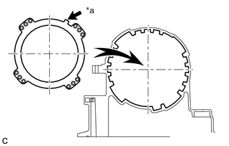
    1. A01MVZAC01
      *a Идентификационный выступ

      Установите стяжную пружину поршня тормозного цилиндра № 2 в сборе на картер автоматической трансмиссии в сборе, как показано на рисунке.

      Note

      Убедитесь, что идентификационный выступ на стяжной пружине поршня тормозного цилиндра № 2 в сборе обращен в правую верхнюю сторону, как показано на рисунке.

    2. A01MUATC01
      *1 Фланец тормоза № 2
      *2 Тормозной диск № 2
      *3 Тормозная пластина № 2

      Установите 2 фланца тормоза № 2, 4 тормозных диска № 2 и 3 тормозных пластины № 2 на картер автоматической трансмиссии в сборе.

      Порядок установки
      *1 - *2 - *3 - *2 - *3 - *2 - *3 - *2 - *1

      Note

      Убедитесь в том, что тормозные диски № 2, тормозные пластины № 2 и фланец тормоза № 2 установлены в правильном порядке.

    3. A01MXTGC01
      *1 Защитная клейкая лента

      С помощью SST и отвертки сожмите стяжную пружину поршня тормозного цилиндра № 2 в сборе и установите пружинное стопорное кольцо на картер автоматической трансмиссии в сборе.

      SST
      09350-30020   ( 09350-07020, 09381-06030, 09381-06050, 09381-06080, 09381-06090, 09381-06100, 09381-06110 )

      Note

      Действуйте осторожно, чтобы не повредить картер автоматической трансмиссии в сборе.

      Tech Tips

      Конец отвертки перед использованием следует изолировать защитной клейкой лентой.

  19. ПРОВЕРЬТЕ ПОРШЕНЬ ТОРМОЗНОГО ЦИЛИНДРА № 2

    Нажмите здесь Click here

  20. УСТАНОВИТЕ ПОРШЕНЬ ТОРМОЗНОГО ЦИЛИНДРА № 1


    1. A01MULRC01
      *1 Кольцевое уплотнение

      Покройте 2 новых кольцевых уплотнения трансмиссионной жидкостью и установите их на поршень тормозного цилиндра № 1.

    2. Вставьте поршень тормозного цилиндра № 1 в тормозной цилиндр № 1.

      Note

      Соблюдайте осторожность, чтобы не повредить кольцевые уплотнения.

  21. УСТАНОВИТЕ ТОРМОЗНОЙ ЦИЛИНДР № 1


    1. A01MW0NC01
      *1 Стяжная пружина поршня тормозного цилиндра в сборе
      *2 Тормозной цилиндр № 1

      Установите тормозной цилиндр № 1 и стяжную пружину поршня тормозного цилиндра на картер автоматической трансмиссии.

      Tech Tips

      Установите тормозной цилиндр № 1 так, чтобы выступ выдавался с верхней стороны картера автоматической трансмиссии.

    2. A01MX04

      Убедитесь в том, что отверстие для подачи масла в тормозном цилиндре № 1 совмещено с отверстием для подачи масла в картере автоматической трансмиссии.

    3. A01MXSMC01
      *1 Защитная клейкая лента

      С помощью SST и отвертки сожмите стяжную пружину поршня тормозного цилиндра в сборе и установите пружинное стопорное кольцо на картер автоматической трансмиссии в сборе.

      SST
      09350-30020   ( 09350-07020, 09351-04010, 09351-04020 )

      Note

      Действуйте осторожно, чтобы не повредить картер автоматической трансмиссии в сборе.

      Tech Tips

      Конец отвертки перед использованием следует изолировать защитной клейкой лентой.

  22. УСТАНОВИТЕ ЦЕНТРАЛЬНУЮ КОРОННУЮ ШЕСТЕРНЮ ПЛАНЕТАРНОЙ ПЕРЕДАЧИ


    1. Установите фланец коронной шестерни передней планетарной передачи на коронную шестерню центральной планетарной передачи.

    2. A01MVP3C02
      *1 Защитная клейкая лента

      С помощью отвертки установите пружинное стопорное кольцо в коронную шестерню центральной планетарной передачи.

      Note

      Соблюдайте осторожность, чтобы не повредить коронную шестерню центральной планетарной передачи.

      Tech Tips

      Конец отвертки перед использованием следует изолировать защитной клейкой лентой.

    3. Установите центральную коронную шестерню планетарной передачи на коронную шестерню передней планетарной передачи.

    4. A01MXIFC01
      *1 Защитная клейкая лента

      С помощью отвертки установите пружинное стопорное кольцо в коронную шестерню передней планетарной передачи.

      Note


      • Соблюдайте осторожность, чтобы не повредить коронную шестерню передней планетарной передачи.


      • Устанавливайте пружинное стопорное кольцо на коронную шестерню передней планетарной передачи так, чтобы оба конца пружинного стопорного кольца достигали центра выступа на коронной шестерне передней планетарной передачи.

      Tech Tips

      Конец отвертки перед использованием следует изолировать защитной клейкой лентой.

  23. УСТАНОВИТЕ КОРОННУЮ ШЕСТЕРНЮ ПЕРЕДНЕЙ ПЛАНЕТАРНОЙ ПЕРЕДАЧИ


    1. A01MXFS

      Установите коронную шестерню передней планетарной передачи на картер автоматической трансмиссии в сборе.

  24. УСТАНОВИТЕ ПЕРЕДНЮЮ ПЛАНЕТАРНУЮ ПЕРЕДАЧУ В СБОРЕ


    1. A01MVKIC01
      *1 Кольцо заднего упорного подшипника фланца передней планетарной передачи
      *2 Упорный игольчатый роликовый подшипник фланца передней планетарной передачи
      *3 Упорная шайба водила планетарной передачи № 2

      Установите упорную шайбу водила планетарной передачи № 2 и упорный игольчатый роликовый подшипник фланца передней планетарной передачи в картер автоматической трансмиссии.

      Диаметры подшипников и колец
      Параметр / Устройство Внутри Снаружи
      Упорный игольчатый роликовый подшипник фланца передней планетарной передачи 38,6 мм (1,520 дюйма) 53,1 мм (2,091 дюйма)
      Заднее кольцо упорного подшипника передней планетарной передачи 34,9 мм (1,374 дюйма) 50,8 мм (1,999 дюйма)
    2. Смажьте заднее кольцо упорного подшипника передней планетарной передачи техническим вазелином и установите на коронную шестерню передней планетарной передачи.

    3. A01MWF7C01
      *1 Внутреннее кольцо муфты свободного хода в сборе
      *2 Передняя планетарная передача в сборе

      Установите переднюю планетарную передачу в сборе и внутреннее кольцо муфты свободного хода в сборе на картер автоматической трансмиссии в сборе.

  25. ПРОВЕРЬТЕ ХОД ПОРШНЯ ТОРМОЗНОГО ЦИЛИНДРА № 1

    Нажмите здесь Click here

  26. УСТАНОВИТЕ ТОРМОЗНОЙ ДИСК № 1


    1. A01MZ15C01
      *1 Тормозная пластина № 1
      *2 Тормозной диск № 1
      *3 Фланец тормоза № 1

      Установите 3 тормозных диска № 1, 3 тормозных диска № 1 и фланец тормоза № 1 на картер автоматической трансмиссии в сборе.

      Порядок установки
      *1 - *2 - *1 - *2 - *1 - *2 - *3

      Note

      Убедитесь в том, что тормозные диски № 1, тормозные пластины № 1 и фланец тормоза № 1 установлены в правильном порядке.

  27. УСТАНОВИТЕ МУФТУ СВОБОДНОГО ХОДА В СБОРЕ


    1. A01MWLBC01
      *1 Муфта свободного хода в сборе
      *2 Упорная шайба водила планетарной передачи № 1

      Установите упорную шайбу водила планетарной передачи № 1 и муфту свободного хода в сборе на картер автоматической трансмиссии в сборе.

  28. УСТАНОВИТЕ ПОРШЕНЬ ТОРМОЗНОГО ЦИЛИНДРА 2-Й ПЕРЕДАЧИ


    1. A01MZ32C01
      *1 Кольцевое уплотнение

      Покройте 2 новых кольцевых уплотнения трансмиссионной жидкостью и установите их на поршень тормозного цилиндра 2-й передачи.

    2. Вставьте поршень тормозного цилиндра 2-й передачи в тормозной цилиндр 2-й передачи.

      Note

      Соблюдайте осторожность, чтобы не повредить кольцевые уплотнения.

    3. A01MY8SC01
      *1 Пружинное стопорное кольцо
      *2 Стяжная пружина поршня тормозного цилиндра № 3 в сборе
      *3 Цилиндр тормоза 2-й передачи

      Используя отвертку, установите стяжную пружину поршня тормозного цилиндра № 3 в сборе на тормозной цилиндр 2-й передачи с помощью пружинного стопорного кольца.

      Note


      • Зазор разреза пружинного стопорного кольца не должен быть совмещен с захватом держателя пружины.


      • Соблюдайте осторожность, чтобы не повредить тормозной цилиндр 2-й передачи.

      Tech Tips

      Конец отвертки перед использованием следует изолировать защитной клейкой лентой.

  29. УСТАНОВИТЕ ТОРМОЗНОЙ ЦИЛИНДР 2-Й ПЕРЕДАЧИ


    1. A01MVGB

      Установите тормозной цилиндр 2-й передачи на картер автоматической трансмиссии в сборе.

    2. A01MYRI

      Убедитесь в том, что отверстие для подачи масла в тормозном цилиндре 2-й передачи совмещено с отверстием для подачи масла в картере автоматической трансмиссии.

    3. A01MYETN01

      С помощью SST установите пружинное стопорное кольцо на картер автоматической трансмиссии в сборе.

      SST
      09350-30020   ( 09350-07060 )
  30. УСТАНОВИТЕ ТОРМОЗНОЙ ДИСК № 3 (НАБОР ТОРМОЗНЫХ ДИСКОВ 2-Й ПЕРЕДАЧИ)


    1. A01MYK2C01
      *1 Тормозная пластина № 3
      *2 Тормозной диск № 3
      *3 Фланец тормоза № 3

      Установите 3 тормозных диска № 3, 3 тормозных диска № 3 и фланец тормоза № 3 на картер автоматической трансмиссии в сборе.

      Порядок установки
      *1 - *2 - *1 - *2 - *1 - *2 - *3

      Note

      Убедитесь в том, что тормозные диски № 3, тормозные пластины № 3 и фланец тормоза № 3 установлены в правильном порядке.

    2. A01MVROC01
      *1 Защитная клейкая лента

      С помощью отвертки установите пружинное стопорное кольцо в картер автоматической трансмиссии в сборе.

      Note

      Действуйте осторожно, чтобы не повредить картер автоматической трансмиссии в сборе.

      Tech Tips

      Конец отвертки перед использованием следует изолировать защитной клейкой лентой.

  31. УСТАНОВИТЕ ПОРШЕНЬ МУФТЫ ПРЯМОЙ ПЕРЕДАЧИ В СБОРЕ


    1. A01MW1TC01
      *1 Кольцевое уплотнение

      Покройте 2 новых кольцевых уплотнения трансмиссионной жидкостью и установите их на поршень муфты прямой передачи.

    2. A01MWX8C01
      *1 Кольцевое уплотнение

      Покройте новое кольцевое уплотнение трансмиссионной жидкостью и установите его на компенсатор муфты № 2.

    3. A01MXIGC01
      *1 Поршень муфты прямой передачи в сборе
      *2 Стяжная пружина муфты прямой передачи в сборе
      *3 Компенсатор муфты № 2

      Установите компенсатор муфты № 2 и стяжную пружину муфты прямой передачи на поршень муфты прямой передачи в сборе.

    4. Вручную (обеими руками) запрессуйте поршень муфты прямой передачи в сборе в барабан муфты заднего хода.

      Note

      Соблюдайте осторожность, чтобы не повредить кольцевые уплотнения.

    5. A01MYRHN01

      Установите SST на компенсатор муфты № 2 и сожмите стяжную пружину муфты прямой передачи в сборе прессом.

      SST
      09320-89010

      Note

      Во избежание деформации тонколистовой пружины прекратите нажимать, как только пружина опустится на расстояние 1-2 мм (0,0394-0,0787 дюйма) от канавки пружинного стопорного кольца.

    6. С помощью SST установите пружинное стопорное кольцо на барабан муфты заднего хода.

      SST
      09350-30020   ( 09350-07070 )

      Note


      • Зазор разреза пружинного стопорного кольца не должен быть совмещен с захватом держателя пружины.


      • Не разводите чрезмерно концы пружинного стопорного кольца.

    7. A01MVZIC01
      *1 Стопор

      Установите зазор разреза пружинного стопорного кольца в компенсаторе муфты № 2, как показано на рисунке.

  32. УСТАНОВИТЕ ПОРШЕНЬ МУФТЫ ЗАДНЕГО ХОДА В СБОРЕ


    1. A01MXOLC01
      *1 Кольцевое уплотнение

      Покройте новое кольцевое уплотнение трансмиссионной жидкостью и установите его на барабан муфты заднего хода в сборе.

    2. A01MXPPC01
      *1 Кольцевое уплотнение

      Покройте новое кольцевое уплотнение трансмиссионной жидкостью и установите его на поршень муфты заднего хода в сборе.

    3. A01MWM8C01
      *1 Поршень муфты заднего хода в сборе
      *2 Барабан муфты заднего хода в сборе

      Обеими руками запрессуйте барабан муфты заднего хода в сборе в поршень муфты заднего хода.

      Note

      Соблюдайте осторожность, чтобы не повредить кольцевые уплотнения.

  33. УСТАНОВИТЕ КОМПЕНСАТОР МУФТЫ № 3


    1. A01MVPIC01
      *1 Кольцевое уплотнение

      Покройте новое кольцевое уплотнение трансмиссионной жидкостью и установите его на поршень муфты заднего хода в сборе.

    2. A01MV2PC01
      *1 Компенсатор муфты № 3
      *2 Стяжная пружина муфты заднего хода в сборе

      Установите стяжную пружину муфты заднего хода и компенсатор муфты № 3 в барабан муфты заднего хода.

      Note

      Соблюдайте осторожность, чтобы не повредить кольцевые уплотнения.

    3. A01MUO4N01

      Установите SST на компенсатор муфты № 3 и сожмите стяжную пружину муфты заднего хода в сборе прессом.

      SST
      09387-00070

      Note

      Во избежание деформации тонколистовой пружины прекратите нажимать, как только пружина опустится на расстояние 1-2 мм (0,0394-0,0787 дюйма) от канавки пружинного стопорного кольца.

    4. С помощью SST установите пружинное стопорное кольцо на барабан муфты заднего хода.

      SST
      09350-30020   ( 09350-07070 )

      Note


      • Зазор разреза пружинного стопорного кольца не должен быть совмещен с захватом держателя пружины.


      • Не разводите чрезмерно концы пружинного стопорного кольца.

    5. A01MYCYC01
      *1 Пружинное стопорное кольцо
      *a Правильно
      *b Неправильно

      Установите зазор разреза пружинного стопорного кольца в компенсаторе муфты № 3, как показано на рисунке.

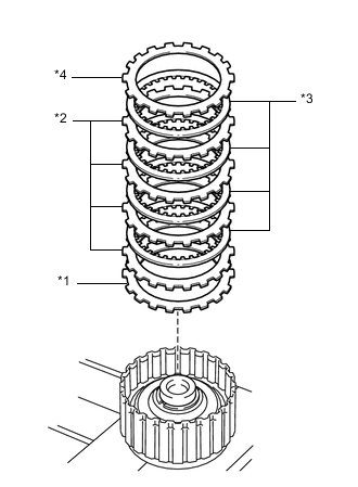
  34. УСТАНОВИТЕ ДИСК МУФТЫ ПРЯМОЙ ПЕРЕДАЧИ (МУФТЫ № 2)


    1. A01MYWNC01
      *1 Диск муфты прямой передачи
      *2 Диск муфты прямой передачи
      *3 Фланец муфты прямой передачи

      Установите 5 пластин муфты прямой передачи, 5 дисков муфты прямой передачи и фланец муфты прямой передачи на барабан муфты заднего хода.

      Порядок установки
      *1 - *2 - *1 - *2 - *1 - *2 - *1 - *2 - *1 - *2 - *3

      Note

      Убедитесь, что диски, пластины и фланец муфты прямой передачи установлены в правильном порядке.

    2. A01MVTVC01
      *1 Защитная клейкая лента

      С помощью отвертки установите 2 пружинных стопорных кольца на барабан муфты заднего хода в сборе.

      Note

      Соблюдайте осторожность, чтобы не повредить барабан муфты заднего хода в сборе.

      Tech Tips

      Конец отвертки перед использованием следует изолировать защитной клейкой лентой.

  35. ПРОВЕРЬТЕ ЗАЗОР УПЛОТНЕНИЯ МУФТЫ № 2

    Нажмите здесь Click here

  36. УСТАНОВИТЕ ФЛАНЕЦ МУФТЫ ЗАДНЕГО ХОДА


    1. A01MYYL

      Установите фланец муфты заднего хода на барабан муфты заднего хода в сборе.

  37. УСТАНОВИТЕ РЕАКТИВНУЮ ВТУЛКУ МУФТЫ ЗАДНЕГО ХОДА


    1. A01MVZOC01
      *1 Диск муфты заднего хода
      *2 Пластина муфты заднего хода
      *3 Фланец муфты заднего хода
      *4 Пружинящий диск муфты
      *5 Реактивная втулка муфты заднего хода

      Установите 4 диска муфты заднего хода, 3 пластины муфты заднего хода, фланец муфты заднего хода, пружинящий диск сцепления и реактивную втулку муфты заднего хода на барабан муфты заднего хода.

      Порядок установки
      *1 - *2 - *1 - *2 - *1 - *2 - *1 - *3 - *4 - *5

      Note

      Убедитесь, что диски, пластины, фланец муфты заднего хода, пружинящий диск сцепления и реактивная втулка муфты заднего хода установлены в правильном порядке.

    2. A01MZ7QC01
      *1 Защитная клейкая лента

      С помощью отвертки установите пружинное стопорное кольцо на поршень муфты заднего хода в сборе.

      Note

      Соблюдайте осторожность, чтобы не повредить поршень муфты заднего хода.

      Tech Tips

      Конец отвертки перед использованием следует изолировать клейкой лентой.

  38. ПРОВЕРЬТЕ ЗАЗОР УПЛОТНЕНИЯ МУФТЫ № 3

    Нажмите здесь Click here

  39. СНИМИТЕ РЕАКТИВНУЮ ВТУЛКУ МУФТЫ ЗАДНЕГО ХОДА


    1. A01MZ7QC01
      *1 Защитная клейкая лента

      С помощью отвертки снимите пружинное стопорное кольцо с поршня муфты заднего хода в сборе.

      Note

      Соблюдайте осторожность, чтобы не повредить поршень муфты заднего хода.

      Tech Tips

      Конец отвертки перед использованием следует изолировать клейкой лентой.

    2. A01MUOZ

      Снимите реактивную втулку муфты заднего хода, пружинящий диск сцепления, фланец муфты заднего хода, 4 диска муфты заднего хода и 3 пластины сцепления с барабана муфты заднего хода в сборе.

  40. УСТАНОВИТЕ ПОРШЕНЬ МУФТЫ ПЕРЕДНЕГО ХОДА В СБОРЕ


    1. A01MX7WC01
      *1 Поршень муфты движения по инерции
      *2 Поршень муфты переднего хода в сборе

      Установите поршень муфты движения по инерции на поршень муфты переднего хода в сборе.

    2. A01MX20C01
      *1 Кольцевое уплотнение

      Покройте новое кольцевое уплотнение трансмиссионной жидкостью и установите его на первичный вал.

    3. A01MVV7

      Установите поршень муфты переднего хода на первичный вал.

      Note

      Соблюдайте осторожность, чтобы не повредить кольцевые уплотнения.

  41. УСТАНОВИТЕ КОМПЕНСАТОР МУФТЫ № 1


    1. A01MUK2C01
      *1 D-образное кольцо

      Покройте новое D-образное кольцо трансмиссионной жидкостью и установите его на компенсатор муфты № 1.

    2. A01MYLWC01
      *1 Компенсатор муфты № 1
      *2 Стяжная пружина муфты переднего хода в сборе

      Установите стяжную пружину муфты переднего хода и компенсатор муфты № 1 на первичный вал.

      Note

      Соблюдайте осторожность, чтобы не повредить D-образное кольцо.

    3. A01MZ60N01

      Установите SST на компенсатор муфты № 1 и сожмите стяжную пружину муфты переднего хода в сборе прессом.

      SST
      09387-00110

      Note

      Во избежание деформации тонколистовой пружины прекратите нажимать, как только пружина опустится на расстояние 1-2 мм (0,0394-0,0787 дюйма) от канавки пружинного стопорного кольца.

    4. С помощью SST установите пружинное стопорное кольцо на первичный вал.

      SST
      09350-30020   ( 09350-07070 )

      Note


      • Зазор разреза пружинного стопорного кольца не должен быть совмещен с захватом держателя пружины.


      • Не разводите чрезмерно концы пружинного стопорного кольца.

    5. A01MVH7C04
      *1 Пружинное стопорное кольцо
      *2 Правильно
      *3 Неправильно

      Установите зазор разреза пружинного стопорного кольца в компенсаторе муфты № 1, как показано на рисунке.

  42. УСТАНОВИТЕ ДИСК МУФТЫ ДВИЖЕНИЯ ПО ИНЕРЦИИ (МУФТЫ № 4)


    1. A01MWJ7C01
      *1 Пластина муфты движения по инерции
      *2 Диск муфты движения по инерции
      *3 Фланец муфты движения по инерции

      Установите 4 пластины муфты движения по инерции, 4 диска муфты движения по инерции и фланец муфты движения по инерции на поршень муфты переднего хода.

      Порядок установки
      *1 - *2 - *1 - *2 - *1 - *2 - *1 - *2 - *3

      Note

      Убедитесь, что диски, пластины и фланец муфты движения по инерции установлены в правильном порядке.

    2. A01MX7NC01
      *1 Защитная клейкая лента

      С помощью отвертки установите пружинное стопорное кольцо на поршень муфты переднего хода в сборе.

      Note

      Соблюдайте осторожность, чтобы не повредить поршень муфты переднего хода.

      Tech Tips

      Конец отвертки перед использованием следует изолировать защитной клейкой лентой.

  43. ПРОВЕРЬТЕ ЗАЗОР УПЛОТНЕНИЯ МУФТЫ № 4

    Нажмите здесь Click here

  44. УСТАНОВИТЕ ДИСК МУФТЫ ПЕРЕДНЕГО ХОДА (МУФТЫ № 1)


    1. A01MXWDC01
      *1 Пружинящий диск муфты
      *2 Пластина муфты переднего хода
      *3 Диск муфты переднего хода 1
      *4 Фланец муфты переднего хода

      Установите пружинящий диск сцепления, 4 пластины муфты переднего хода, 4 диска муфты переднего хода и фланец муфты переднего хода на первичный вал.

      Порядок установки
      *1 - *2 - *3 - *2 - *3 - *2 - *3 - *2 - *3 - *4

      Note

      Убедитесь, что диски, пластины, фланец муфты переднего хода и пружинящий диск сцепления установлены в правильном порядке.

    2. A01MUHLC01
      *1 Защитная клейкая лента

      С помощью отвертки установите пружинное стопорное кольцо на первичный вал.

      Note

      Соблюдайте осторожность, чтобы не повредить первичный вал в сборе.

      Tech Tips

      Конец отвертки перед использованием следует изолировать защитной клейкой лентой.

  45. ПРОВЕРЬТЕ ЗАЗОР УПЛОТНЕНИЯ МУФТЫ № 1

    Нажмите здесь Click here

  46. УСТАНОВИТЕ МАСЛОУПЛОТНИТЕЛЬНОЕ КОЛЬЦО БАРАБАНА МУФТЫ


    1. A01MXQM

      Нанесите трансмиссионную жидкость на 4 новых маслоуплотнительных кольца барабана муфты.

    2. Сожмите концы 4 маслоуплотнительных колец барабана муфты вместе и установите их в канавку первичного вала.

      Note

      Не следует чрезмерно сжимать маслоуплотнительные кольца.

      Tech Tips

      После установки маслоуплотнительных колец барабана муфты убедитесь, что они вращаются плавно.

  47. УСТАНОВИТЕ ПЕРВИЧНЫЙ ВАЛ В СБОРЕ


    1. A01MZ88

      Установите первичный вал в барабан муфты заднего хода.

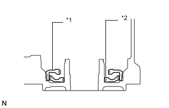
    2. A01MWFWC01
      *1 Упорный игольчатый роликовый подшипник
      *2 Кольцо заднего упорного подшипника первичного вала

      Установите заднее кольцо упорного подшипника первичного вала и упорный игольчатый роликовый подшипник на первичный вал.

      Диаметры подшипников и колец
      Параметр / Устройство Внутри Снаружи
      Упорный игольчатый роликовый подшипник 20,0 мм (0,787 дюйма) 41,0 мм (1,614 дюйма)
      Кольцо заднего упорного подшипника первичного вала 20,0 мм (0,787 дюйма) 35,6 мм (1,402 дюйма)
  48. УСТАНОВИТЕ МУФТУ СВОБОДНОГО ХОДА № 4 В СБОРЕ


    1. A01MXEPC01
      *1 Ступица муфты движения по инерции в сборе
      *2 Упорная шайба ступицы муфты № 2
      *3 Муфта свободного хода № 4

      Установите упорную шайбу ступицы муфты № 2 и муфту свободного хода № 4 в сборе на ступицу муфты движения по инерции в сборе.

  49. УСТАНОВИТЕ СТУПИЦУ МУФТЫ ДВИЖЕНИЯ ПО ИНЕРЦИИ В СБОРЕ


    1. A01MX5Y

      Установите ступицу муфты движения по инерции в сборе на барабан муфты заднего хода в сборе.

  50. УСТАНОВИТЕ СТУПИЦУ МУФТЫ ПЕРЕДНЕГО ХОДА В СБОРЕ


    1. A01MV4WC02
      *1 Упорный игольчатый роликовый подшипник А
      *2 Упорный игольчатый роликовый подшипник В
      *3 Кольцо упорного подшипника № 2

      Установите 2 упорных игольчатых роликовых подшипника и кольцо упорного подшипника № 2 на ступицу муфты переднего хода в сборе.

      Диаметры подшипников и колец
      Параметр / Устройство Внутри Снаружи
      Упорный игольчатый роликовый подшипник A 42,5 мм (1,673 дюйма) 61,2 мм (2,409 дюйма)
      Упорный игольчатый роликовый подшипник B 33,3 мм (1,311 дюйма) 51,2 мм (2,016 дюйма)
      Кольцо упорного подшипника № 2 31,0 мм (1,220 дюйма) 48,0 мм (1,890 дюйма)
    2. A01MX9KC01
      *1 Ступица муфты переднего хода в сборе
      *2 Упорная шайба ступицы муфты № 3

      Установите упорную шайбу ступицы муфты № 3 и ступицу муфты переднего хода в сборе на барабан муфты заднего хода в сборе.

  51. УСТАНОВИТЕ ДИСК МУФТЫ ЗАДНЕГО ХОДА (МУФТЫ № 3)


    1. A01MVSUC01
      *1 Диск муфты заднего хода
      *2 Пластина муфты заднего хода
      *3 Фланец муфты заднего хода
      *4 Пружинящий диск муфты

      Установите 4 диска муфты заднего хода, 3 пластины муфты заднего хода, фланец муфты заднего хода и пружинящий диск сцепления на ступицу муфты заднего хода.

      Порядок установки
      *1 - *2 - *1 - *2 - *1 - *2 - *1 - *3 - *4

      Note

      Убедитесь, что диски, пластины, фланец муфты заднего хода и пружинящий диск сцепления установлены в правильном порядке.

  52. УСТАНОВИТЕ РЕАКТИВНУЮ ВТУЛКУ МУФТЫ ЗАДНЕГО ХОДА


    1. A01MX6J

      Установите реактивную втулку муфты заднего хода в ступицу муфты заднего хода.

  53. УСТАНОВИТЕ СТУПИЦУ МУФТЫ ЗАДНЕГО ХОДА В СБОРЕ


    1. A01MUM1

      Установите ступицу муфты заднего хода в сборе на барабан муфты заднего хода в сборе.

    2. A01MY44C01
      *1 Защитная клейкая лента

      С помощью отвертки установите пружинное стопорное кольцо на поршень муфты заднего хода в сборе.

      Note

      Соблюдайте осторожность, чтобы не повредить поршень муфты заднего хода.

      Tech Tips

      Конец отвертки перед использованием следует изолировать защитной клейкой лентой.

  54. УСТАНОВИТЕ МУФТУ СВОБОДНОГО ХОДА № 2 В СБОРЕ


    1. A01MW6AC01
      *1 Муфта свободного хода № 2
      *2 Упорная шайба барабана муфты первичного вала

      Установите упорную шайбу барабана муфты первичного вала и муфту свободного хода № 2 в сборе на барабан муфты и первичный вал в сборе.

  55. УСТАНОВИТЕ БАРАБАН МУФТЫ И ПЕРВИЧНЫЙ ВАЛ В СБОРЕ


    1. A01MUJTC01
      *1 Упорный игольчатый роликовый подшипник
      *2 Кольцо переднего упорного подшипника первичного вала
      *3 Передний упорный игольчатый роликовый подшипник первичного вала
      *4 Упорная шайба барабана муфты

      Установите передний упорный игольчатый роликовый подшипник первичного вала и упорный игольчатый роликовый подшипник на барабан муфты и первичный вал в сборе.

      Диаметры подшипников и колец
      Параметр / Устройство Внутри Снаружи
      Упорный игольчатый роликовый подшипник 71,9 мм (2,831 дюйма) 85,6 мм (3,370 дюйма)
      Переднее кольцо упорного подшипника первичного вала 37,0 мм (1,457 дюйма) 51,2 мм (2,016 дюйма)
      Передний упорный игольчатый роликовый подшипник первичного вала 33,5 мм (1,319 дюйма) 48,0 мм (1,890 дюйма)
    2. Смажьте переднее кольцо упорного подшипника первичного вала и упорную шайбу барабана муфты техническим вазелином и установите их на барабан муфты и первичный вал в сборе.

    3. A01MU56

      Установите барабан муфты и первичный вал в сборе на картер автоматической трансмиссии в сборе.

  56. УСТАНОВИТЕ МАСЛЯНЫЙ НАСОС В СБОРЕ


    1. A01MYQOC05
      *1 Кольцо упорного подшипника № 1
      *2 Масляный насос в сборе
      *3 Кольцевое уплотнение

      Установите на масляный насос кольцо упорного подшипника № 1.

      Диаметр кольца
      Параметр / Устройство Внутри Снаружи
      Кольцо упорного подшипника № 1 74,2 мм (2,921 дюйма) 87,7 мм (3,453 дюйма)
    2. Покройте новое кольцевое уплотнение трансмиссионной жидкостью и установите его на масляный насос в сборе.

    3. Проведите масляный насос в сборе через первичный вал и совместите болтовые отверстия масляного насоса в сборе и картера автоматической трансмиссии в сборе.

      Note

      Соблюдайте осторожность, чтобы не повредить кольцевое уплотнение.

    4. Удерживая первичный вал, слегка надавите на масляный насос в сборе, чтобы вставить маслоуплотнительных кольца барабана муфты в барабан муфты и первичный вал в сборе.

    5. A01MWO9

      Вверните 9 болта.

      Torque:
      21,1 Н*м  { 215 кгс*см, 16 фунт-сила-футов }
  57. ПРОВЕРЬТЕ РАБОТУ КАЖДОГО ПОРШНЯ

    Нажмите здесь Click here

  58. УСТАНОВИТЕ САЛЬНИК ВАЛА РЫЧАГА КЛАПАНА С РУЧНЫМ УПРАВЛЕНИЕМ


    1. A01MYHEC03
      *a Правая сторона
      *b Левая сторона

      Смажьте кромки сальников вала рычага клапана с ручным управлением универсальной консистентной смазкой.

    2. С помощью SST и молотка вбейте 2 новых сальника вала рычага клапана с ручным управлением в картер автоматической трансмиссии в сборе.

      SST
      09350-30020   ( 09350-07110 )
      Глубина заглубления
      -0,3 - 0,3 мм (-0,0118 - 0,0118 дюйма)
  59. УСТАНОВИТЕ РЫЧАГ КЛАПАНА С РУЧНЫМ УПРАВЛЕНИЕМ В СБОРЕ


    1. A01MUN2C01
      *1 Распорная втулка
      *2 Рычаг клапана с ручным управлением в сборе

      Установите новую распорную втулку на рычаг клапана с ручным управлением в сборе.

    2. Пропустите вал рычага клапана с ручным управлением через картер автоматической трансмиссии и рычаг клапана с ручным управлением, чтобы установить его.

    3. A01MVWC

      С помощью молотка установите новый пружинный штифт в рычаг клапана с ручным управлением.

    4. A01MZ3I

      Совместите углубление на рычаге клапана с ручным управлением с отверстием распорной втулки и скрепите их вместе с помощью бородка.

    5. Убедитесь, что вал рычага клапана с ручным управлением вращается плавно.

  60. УСТАНОВИТЕ ВАЛ ЗАПОРНОГО ШТИФТА СТОЯНОЧНОГО ТОРМОЗА


    1. A01MVCTC01
      *1 Запорный штифт стояночного тормоза
      *2 E-образное кольцо
      *3 Вал запорного штифта стояночного тормоза
      *4 Торсионная пружина

      Установите новое разрезное уплотнение на вал запорного штифта стояночного тормоза.

    2. Установите запорный штифт стояночного тормоза, вал запорного штифта стояночного тормоза и торсионную пружину на картер автоматической трансмиссии в сборе.

  61. УСТАНОВИТЕ ЗАПОРНЫЙ СТЕРЖЕНЬ СТОЯНОЧНОГО ТОРМОЗА В СБОРЕ


    1. A01MU85

      Установите запорный стержень стояночного тормоза в сборе на рычаг клапана с ручным управлением в сборе.

  62. УСТАНОВИТЕ КРОНШТЕЙН ЗАПОРНОГО ШТИФТА СТОЯНОЧНОГО ТОРМОЗА


    1. A01MYF2

      Закрепите кронштейн запорного штифта стояночного тормоза на картере автоматической трансмиссии 3 болтами.

      Torque:
      7,4 Н*м  { 75 кгс*см, 65 фунт-сила-дюймов }
    2. A01MWL2C01
      *1 Задняя планетарная передача
      *2 Рычаг клапана с ручным управлением в сборе
      *3 Запорный штифт стояночного тормоза

      Сместите рычаг клапан с ручным управлением в положение P и убедитесь в том, что задняя планетарная передача правильно заблокирована запорным штифтом стояночного тормоза.

  63. УСТАНОВИТЕ КЛАПАН ГИДРОАККУМУЛЯТОРА B-1


    1. A01MY1B

      Установите пружину и клапан гидроаккумулятора B-1 в картер автоматической трансмиссии.

      Пружина гидроаккумулятора B-1
      Длина в свободном состоянии Наружный диаметр Цвет
      46,36 мм (1,825 дюйма) 17,1 мм (0,673 дюйма) Естественный
  64. УСТАНОВИТЕ ПОРШЕНЬ ГИДРОАККУМУЛЯТОРА C-3


    1. A01MWB9

      С помощью отвертки установите пружину на поршень гидроаккумулятора C-3, используя пружинное стопорное кольцо.

      Пружина гидроаккумулятора C-3 в сборе
      Длина в свободном состоянии Наружный диаметр витков Цвет
      23,0 мм (0,906 дюйма) 14,0 мм (0,551 дюйма) Розовый

      Note

      Соблюдайте осторожность, чтобы не повредить поршень гидроаккумулятора C-3.

      Tech Tips

      Конец отвертки перед использованием следует изолировать защитной клейкой лентой.

    2. A01MYRQC01
      *1 Кольцевое уплотнение
      *2 Внутренняя пружина
      *3 Наружная пружина

      Покройте 2 новых кольцевых уплотнения трансмиссионной жидкостью и установите их на поршень гидроаккумулятора C-3.

    3. Установите 2 пружины и поршень гидроаккумулятора C-3 в картер автоматической трансмиссии.

      Пружина гидроаккумулятора C-3
      Пружина Длина в свободном состоянии Наружный диаметр Цвет
      Внутренняя 44,0 мм (1,732 дюйма) 14 мм (0,551 дюйма) Желтый
      Наружная 76,65 мм (3,018 дюйма) 20,1 мм (0,791 дюйма) Белый
  65. УСТАНОВИТЕ ПОРШЕНЬ ГИДРОАККУМУЛЯТОРА B-3


    1. A01MWB9

      С помощью отвертки установите пружину на поршень гидроаккумулятора B-3, используя пружинное стопорное кольцо.

      Пружина гидроаккумулятора B-3 в сборе
      Длина в свободном состоянии Наружный диаметр витков Цвет
      30,0 мм (1,181 дюйма) 16,2 мм (0,638 дюйма) Белый

      Note

      Соблюдайте осторожность, чтобы не повредить поршень гидроаккумулятора B-3.

      Tech Tips

      Конец отвертки перед использованием следует изолировать клейкой лентой.

    2. A01MVIOC01
      *1 Кольцевое уплотнение
      *2 Пружина

      Покройте 2 новых кольцевых уплотнения трансмиссионной жидкостью и установите их на поршень гидроаккумулятора B-3.

    3. Установите пружину и поршень гидроаккумулятора B-3 в картер автоматической трансмиссии.

      Пружина гидроаккумулятора B-3
      Длина в свободном состоянии Наружный диаметр Цвет
      64,5 мм (2,539 дюйма) 19,5 мм (0,768 дюйма) Оранжевый
  66. УСТАНОВИТЕ ПОРШЕНЬ ГИДРОАККУМУЛЯТОРА C-2


    1. A01MWB9

      С помощью отвертки установите пружину на поршень гидроаккумулятора C-2, используя пружинное стопорное кольцо.

      Пружина гидроаккумулятора C-2 в сборе
      Длина в свободном состоянии Длина в свободном состоянии Цвет
      18,5 мм (0,728 дюйма) 14,0 мм (0,551 дюйма) Зеленый

      Note

      Соблюдайте осторожность, чтобы не повредить поршень гидроаккумулятора C-2.

      Tech Tips

      Конец отвертки перед использованием следует изолировать клейкой лентой.

    2. A01MWHVC01
      *1 Кольцевое уплотнение
      *2 Пружина

      Покройте 2 новых кольцевых уплотнения трансмиссионной жидкостью и установите их на поршень гидроаккумулятора C-2.

    3. Установите пружину и поршень гидроаккумулятора C-2 в картер автоматической трансмиссии.

      Пружина гидроаккумулятора C-2
      Длина в свободном состоянии Наружный диаметр Цвет
      65,07 мм (2,562 дюйма) 16,2 мм (0,638 дюйма) Розовый
  67. УСТАНОВИТЕ КОРПУС ЗАПОРНОГО ШАРИКА


    1. A01MWEPC10
      *1 Корпус запорного шарика
      *2 Пружина сжатия

      Установите корпус запорного шарика и пружину сжатия на картер автоматической трансмиссии в сборе.

  68. УСТАНОВИТЕ ПРОКЛАДКУ ТОРМОЗНОГО БАРАБАНА


    1. A01MW48

      Установите 3 новых прокладки тормозного барабана на картер автоматической трансмиссии в сборе.

  69. УСТАНОВИТЕ ПРОКЛАДКУ КАРТЕРА ТРАНСМИССИИ


    1. A01MX8Z

      Установите 3 новых прокладки картера трансмиссии на картер автоматической трансмиссии в сборе.

  70. УСТАНОВИТЕ КОРПУС КЛАПАНОВ ТРАНСМИССИИ В СБОРЕ


    1. A01MUJ0C03
      *1 Соединительный шток клапана с ручным управлением в сборе
      *2 Рычаг клапана с ручным управлением в сборе

      Подсоедините соединительный шток клапана с ручным управлением в сборе к рычагу клапана с ручным управлением в сборе.

    2. A01MYEXN05

      Установите корпус клапанов трансмиссии в сборе на картер автоматической трансмиссии в сборе и закрепите 19 болтами.

      Torque:
      11 Н*м  { 112 кгс*см, 8 фунт-сила-футов }

      Tech Tips

      Ниже указаны длины каждого из болтов.

      Болт Длина болта
      А 25 мм (0,984 дюйма)
      B 36 мм (1,417 дюйма)
      C 45 мм (1,772 дюйма)
      D 50 мм (1,969 дюйма)
    3. A01MX3QC02
      *1 Крышка пружины фиксатора
      *2 Пружина фиксатора

      Установите пружину фиксатора и крышку пружины фиксатора на корпус клапанов трансмиссии в сборе, закрепив их болтом.

      Torque:
      10 Н*м  { 102 кгс*см, 7 фунт-сила-футов }
  71. УСТАНОВИТЕ ЖГУТ ЭЛЕКТРОПРОВОДКИ ТРАНСМИССИИ


    1. A01MUD4C04
      *1 Кольцевое уплотнение
      *2 Датчик температуры ATF

      Покройте новое кольцевое уплотнение трансмиссионной жидкостью и установите его на датчик температуры ATF.

    2. A01MU6LC06
      *1 Кольцевое уплотнение

      Покройте новое кольцевое уплотнение трансмиссионной жидкостью и установите его на жгут электропроводки трансмиссии.

    3. A01MWU0

      Установите жгут электропроводки трансмиссии в картер автоматической трансмиссии и закрепите его болтом.

      Torque:
      5,4 Н*м  { 55 кгс*см, 48 фунт-сила-дюймов }
    4. A01MUY6

      Подсоедините 9 разъемов электромагнитных клапанов.

    5. A01MV41

      Установите датчик температуры ATF и зажим датчика температуры на корпус клапанов трансмиссии и закрепите их болтом.

      Torque:
      10 Н*м  { 102 кгс*см, 7 фунт-сила-футов }
    6. A01MV7UN05

      Установите 2 зажима жгута проводов корпуса клапанов на корпуса клапанов трансмиссии и закрепите их 2 болтами.

      Torque:
      для болта A
      6,4 Н*м  { 65 кгс*см, 57 фунт-сила-дюймов }
      для болта B
      10 Н*м  { 102 кгс*см, 7 фунт-сила-футов }
  72. УСТАНОВИТЕ СЕТЧАТЫЙ МАСЛЯНЫЙ ФИЛЬТР КОРПУСА КЛАПАНОВ В СБОРЕ


    1. A01MZ6ZC03
      *1 Кольцевое уплотнение

      Покройте новое кольцевое уплотнение трансмиссионной жидкостью и установите его в сетчатый масляный фильтр корпуса клапанов в сборе.

    2. A01MUC4

      Установите сетчатый масляный фильтр корпуса клапанов на корпус клапанов трансмиссии и закрепите его 4 болтами.

      Torque:
      10 Н*м  { 102 кгс*см, 7 фунт-сила-футов }
  73. УСТАНОВИТЕ МАСЛЯНЫЙ ПОДДОН АВТОМАТИЧЕСКОЙ ТРАНСМИССИИ В СБОРЕ


    1. A01MWRCC05
      *1 Магнит масляного фильтра трансмиссии

      Установите на масляный поддон автоматической трансмиссии в сборе 3 магнита масляного фильтра трансмиссии.

    2. A01MV2Y

      Установите новую прокладку масляного поддона автоматической трансмиссии и масляный поддон автоматической трансмиссии на картер автоматической трансмиссии и закрепите их 20 болтами.

      Torque:
      7,0 Н*м  { 71 кгс*см, 62 фунт-сила-дюйма }
    3. Установите пробку сливного отверстия и новую прокладку на масляный поддон автоматической трансмиссии.

      Torque:
      20 Н*м  { 204 кгс*см, 15 фунт-сила-футов }
    4. Используя шестигранный торцевой ключ на 5 мм, установите пробку переливного отверстия и новую прокладку на масляный поддон автоматической трансмиссии.

      Torque:
      20 Н*м  { 204 кгс*см, 15 фунт-сила-футов }
  74. УСТАНОВИТЕ УПОРНЫЙ ПОДШИПНИК ВЫХОДНОГО ВАЛА


    1. A01MW1DC04
      *1 Кольцо упорного подшипника выходного вала
      *2 Упорный подшипник выходного вала
      *3 Кольцо заднего упорного подшипника выходного вала.

      Установите кольцо упорного подшипника выходного вала, упорный подшипник выходного вала и заднее кольцо упорного подшипника выходного вала на выходной вал задней планетарной передачи в сборе.

      Диаметры подшипников и колец
      Параметр / Устройство Внутри Снаружи
      Кольцо упорного подшипника выходного вала 37,0 мм (1,457 дюйма) 51,2 мм (2,016 дюйма)
      Упорный подшипник выходного вала 36,1 мм (1,421 дюйма) 52,5 мм (2,067 дюйма)
      Заднее кольцо упорного подшипника выходного вала 36,1 мм (1,421 дюйма) 51,0 мм (2,007 дюйма)
    2. A01MVYK

      С помощью съемника стопорных колец установите пружинное стопорное кольцо на выходной вал задней планетарной передачи в сборе.

    3. A01MU49

      Используя комплект плоских щупов, измерьте зазор между пружинным стопорным кольцом и задним кольцом упорного подшипника выходного вала.

      Номинальный зазор
      0,02 - 0,12 мм (0,000787 - 0,00472 дюйма)

      Если зазор находится вне номинального диапазона, подберите другое заднее кольцо упорного подшипника выходного вала, которое обеспечивает надлежащий зазор.

      Tech Tips

      Существуют 12 различающихся толщиной типоразмеров задних колец упорного подшипника выходного вала.

      Толщина кольца
      Каталожный номер Метка Толщина
      35789-35060 A01MUKQ 3,80 мм (0,150 дюйма)
      35789-50070 A01MVFH 3,85 мм (0,152 дюйма)
      35789-35070 A01MVWA 3,90 мм (0,154 дюйма)
      35789-50080 A01MUH5 3,95 мм (0,156 дюйма)
      35789-35080 A01MW2I 4,00 мм (0,157 дюйма)
      35789-50090 A01MWA3 4,05 мм (0,159 дюйма)
      35789-35090 A01MWUQ 4,10 мм (0,161 дюйма)
      35789-50100 A01MUIS 4,15 мм (0,163 дюйма)
      35789-35100 A01MUTD 4,20 мм (0,165 дюйма)
      35789-50110 A01MWM9 4,25 мм (0,167 дюйма)
      35789-50120 A01MWPR 4,30 мм (0,169 дюйма)
      35789-50130 A01MWPO 4,35 мм (0,171 дюйма)
  75. УСТАНОВИТЕ САЛЬНИК УДЛИНИТЕЛЯ КАРТЕРА АВТОМАТИЧЕСКОЙ ТРАНСМИССИИ


    1. A01MVL0N01

      С помощью SST и молотка вбейте новый сальник удлинителя картера автоматической трансмиссии в удлинитель картера трансмиссии в сборе.

      SST
      09325-40010
      Глубина заглубления
      5,4 - 5,8 мм (0,213 - 0,228 дюйма)
    2. Смажьте кромку сальника удлинителя картера автоматической трансмиссии универсальной консистентной смазкой.

  76. УСТАНОВИТЕ ПРОТИВОПЫЛЕВОЙ КОЛПАК УДЛИНИТЕЛЯ КАРТЕРА АВТОМАТИЧЕСКОЙ ТРАНСМИССИИ


    1. A01MVNEN01

      С помощью SST и пресса установите новый противопылевой колпак удлинителя картера на удлинитель картера в сборе.

      SST
      09950-60020   ( 09951-01030 )
  77. УСТАНОВИТЕ РАДИАЛЬНЫЙ ШАРИКОВЫЙ ПОДШИПНИК ПЕРЕХОДНИКА КАРТЕРА ТРАНСМИССИИ


    1. A01MW8G

      Установите в удлинитель картера радиальный шариковый подшипник переходника картера трансмиссии.

    2. С помощью съемника стопорных колец установите пружинное стопорное кольцо на удлинитель картера трансмиссии в сборе.

  78. УСТАНОВИТЕ УДЛИНИТЕЛЬ КАРТЕРА ТРАНСМИССИИ В СБОРЕ


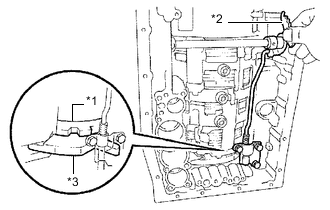
    1. Очистите и обезжирьте резьбу 6 болтов, 6 отверстий под болты и контактные поверхности картера и корпуса не оставляющим осадка растворителем.

    2. A01MY3IC01
      *a

      Герметик

      (диаметр уплотнения: 1,2 мм (0,0472 дюйма))

      Нанесите герметик на удлинитель картера трансмиссии в сборе, как показано на рисунке.

      Герметик
      Фирменный герметик Toyota 1281, Three Bond 1281 или аналогичный

      Note

      Удлинитель картера в сборе следует монтировать в течение 10 мин после нанесения герметика.

    3. A01MVX7C01
      *1 Герметик

      Нанесите герметик на 2-3 витка резьбы и концы 6 болтов.

      Герметик-фиксатор
      Фирменный герметик 1344 от компании Toyota, Three Bond 1344 или аналогичный

      Note

      Вверните 6 болтов в течение 3 минут после нанесения герметика.

    4. A01MWH5N01

      Установите удлинитель картера трансмиссии в сборе на картер автоматической трансмиссии в сборе и закрепите 6 болтами.

      Torque:
      33,9 Н*м  { 346 кгс*см, 25 фунт-сила-футов }

      Tech Tips

      Ниже указаны длины каждого из болтов.

      Крутящий момент
      Болт A
      35 мм (1,378 дюйма)
      Болт B
      45 мм (1,772 дюйма)
  79. УСТАНОВИТЕ КОЖУХ АВТОМАТИЧЕСКОЙ ТРАНСМИССИИ


    1. Очистите и обезжирьте резьбу 10 болтов и 10 отверстий под болты не оставляющим осадка растворителем.

    2. A01MXWF

      Установите корпус автоматической трансмиссии на картер автоматической трансмиссии в сборе и закрепите 6 болтами.

      Torque:
      33,9 Н*м  { 346 кгс*см, 25 фунт-сила-футов }
    3. A01MVX7C02
      *1 Герметик-фиксатор

      Нанесите герметик на 2-3 витка резьбы и концы 4 болтов.

      Герметик-фиксатор
      Фирменный герметик 1344 от компании Toyota, Three Bond 1344 или аналогичный

      Note

      Вверните 4 болтов в течение 3 минут после нанесения герметика.

    4. A01MXORN01

      Установите корпус автоматической трансмиссии на картер автоматической трансмиссии в сборе и закрепите 4 болтами.

      Torque:
      Болт A (болт M10)
      33,9 Н*м  { 346 кгс*см, 25 фунт-сила-футов }
      Болт B (болт M12)
      56,8 Н*м  { 579 кгс*см, 42 фунт-сила-фута }
  80. УСТАНОВИТЕ ПРОБКУ КАРТЕРА АВТОМАТИЧЕСКОЙ ТРАНСМИССИИ


    1. A01MWMU

      Покройте новое кольцевое уплотнение трансмиссионной жидкостью и установите его на пробку картера автоматической трансмиссии.

    2. С помощью торцевого ключа "TORX" T55 вверните пробку картера автоматической трансмиссии в картер автоматической трансмиссии.

      Torque:
      39,2 Н*м  { 400 кгс*см, 29 фунт-сила-футов }
    3. A01MXO6

      Покройте 5 новых кольцевых уплотнений трансмиссионной жидкостью и установите их на 5 пробок картера автоматической трансмиссии.

    4. Установите 5 пробок картера автоматической трансмиссии в картер автоматической трансмиссии.

      Torque:
      7,4 Н*м  { 75 кгс*см, 65 фунт-сила-дюймов }
  81. УСТАНОВИТЕ ТРУБКУ САПУНА АВТОМАТИЧЕСКОЙ ТРАНСМИССИИ


    1. A01MWK2

      Установите трубку сапуна автоматической трансмиссии на картер автоматической трансмиссии в сборе и закрепите 2 болтами.

      Torque:
      5,4 Н*м  { 55 кгс*см, 48 фунт-сила-дюймов }
  82. УСТАНОВИТЕ ДАТЧИК ОБОРОТОВ ТРАНСМИССИИ


    1. A01MXUD

      Покройте 2 новых кольцевых уплотнения трансмиссионной жидкостью и установите их на 2 датчика оборотов трансмиссии.

    2. Установите 2 датчика числа оборотов трансмиссии на картер автоматической трансмиссии в сборе и закрепите 2 болтами.

      Torque:
      5,4 Н*м  { 55 кгс*см, 48 фунт-сила-дюймов }
  83. УСТАНОВИТЕ КРОНШТЕЙН ЗАЖИМА ЖГУТА ПРОВОДОВ


    1. A01MYIK

      Установите кронштейн зажима жгута проводов на картер автоматической трансмиссии в сборе и закрепите болтом.

      Torque:
      10 Н*м  { 102 кгс*см, 7 фунт-сила-футов }
  84. УСТАНОВИТЕ МАСЛЯНЫЙ РАДИАТОР ТРАНСМИССИИ


    1. A01MXT1C04
      *1 Кольцевое уплотнение

      Покройте 2 новых кольцевых уплотнения трансмиссионной жидкостью и установите их на масляный радиатор трансмиссии.

    2. A01MVX9

      Установите масляный радиатор трансмиссии на картер автоматической трансмиссии в сборе и закрепите 3 болтами.

      Torque:
      21 Н*м  { 214 кгс*см, 15 фунт-сила-футов }
  85. УСТАНОВИТЕ ДАТЧИК ПОЛОЖЕНИЯ ПАРКИНГА / НЕЙТРАЛИ В СБОРЕ


    1. Очистите и обезжирьте резьбу болта и отверстие под болт не оставляющим осадка растворителем.

    2. A01MVX7C01
      *1 Герметик-фиксатор

      Нанесите герметик на последние 2-3 нитки резьбы болта.

      Герметик-фиксатор
      Фирменный герметик 1344 от компании Toyota, Three Bond 1344 или аналогичный

      Note

      Вверните болт в течение 3 минут после нанесения герметика.

    3. A01MU3L

      Установите датчик положения паркинга/нейтрали на картер автоматической трансмиссии и предварительно затяните болт.

    4. Установите новую стопорную шайбу и гайку на датчик положения паркинга/нейтрали.

      Torque:
      6,9 Н*м  { 70 кгс*см, 61 фунт-сила-дюйм }
    5. A01MZ22N01

      Предварительно установите правый рычаг приводного вала трансмиссии на вал рычага клапана с ручным управлением.

    6. Поверните правый рычаг приводного вала трансмиссии до упора против часовой стрелки, а затем поверните на 2 прорези по часовой стрелке для установки в положение N.

    7. Снимите правый рычаг приводного вала трансмиссии с вала рычага клапана с ручным управлением.

    8. A01MXBZC01
      *a Базовая линия нейтрали
      *b Канавка

      Совместите базовую линию нейтрали с канавкой, как показано на рисунке, и затяните болт.

      Torque:
      12,8 Н*м  { 131 кгс*см, 9 фунт-сила-футов }
    9. A01MXNB

      С помощью отвертки загните лепестки стопорной шайбы.

  86. УСТАНОВИТЕ ПРАВЫЙ РЫЧАГ ПРИВОДНОГО ВАЛА ТРАНСМИССИИ


    1. A01MW33

      Установите правый рычаг приводного вала трансмиссии на вал рычага клапана с ручным управлением и закрепите его шайбой и гайкой.

      Torque:
      15,7 Н*м  { 160 кгс*см, 12 фунт-сила-дюймов }
  87. УСТАНОВИТЕ ПРОБКУ ЗАЛИВНОГО ОТВЕРСТИЯ


    1. Покройте новое кольцевое уплотнение трансмиссионной жидкостью и установите его на пробку наливного отверстия.

    2. Установите пробку наливного отверстия на автоматическую трансмиссию.

      Torque:
      39,2 Н*м  { 400 кгс*см, 29 фунт-сила-футов }
  88. УСТАНОВИТЕ КРЫШКУ КАРТЕРА ТРАНСМИССИИ (для моделей с крышкой картера)


    1. A01MWTV

      Установите крышку картера трансмиссии на картер автоматической трансмиссии в сборе и закрепите 2 болтами.

      Torque:
      5,4 Н*м  { 55 кгс*см, 48 фунт-сила-дюймов }