БЛОК АВТОМАТИЧЕСКОЙ ТРАНСМИССИИ ПРОВЕРКА

ПОРЯДОК ВЫПОЛНЕНИЯ


  1. ПРОВЕРЬТЕ СТЯЖНУЮ ПРУЖИНУ ТОРМОЗА 1-Й ПЕРЕДАЧИ И ПЕРЕДАЧИ ЗАДНЕГО ХОДА В СБОРЕ


    1. A01MVIQ

      С помощью штангенциркуля измерьте длину пружины с седлом в свободном состоянии.

      Номинальная длина в свободном состоянии
      23,74 мм (0,935 дюйма)

      Если длина в свободном состоянии меньше номинальной, замените стяжную пружину поршня тормоза 1-й передачи и передачи заднего хода в сборе.

  2. ПРОВЕРЬТЕ ЗАДНЮЮ ПЛАНЕТАРНУЮ ПЕРЕДАЧУ В СБОРЕ


    1. A01MV7Y

      С помощью комплекта плоских щупов измерьте осевой зазор ведущей шестерни задней планетарной передачи.

      Номинальный зазор
      0,2 - 0,6 мм (0,00788 - 0,0236 дюйма)

      Если зазор превышает номинальный, замените заднюю планетарную передачу в сборе.

    2. A01MUUU

      С помощью индикатора часового типа для отверстий измерьте внутренний диаметр втулки задней планетарной передачи.

      Номинальный внутренний диаметр
      18,025 мм (0,710 дюйма)

      Если внутренний диаметр превышает номинальный, замените заднюю планетарную передачу в сборе.

  3. ПРОВЕРЬТЕ ЗАЗОР УПЛОТНЕНИЯ ТОРМОЗА № 4


    1. A01MV5N

      Прерывисто подавая сжатый воздух (под давлением 392 кПа, 4,0 кгс/см2, 57 фунтов на кв. дюйм), убедитесь, что поршень тормозного цилиндра 1-й передачи и передачи заднего хода двигается плавно.

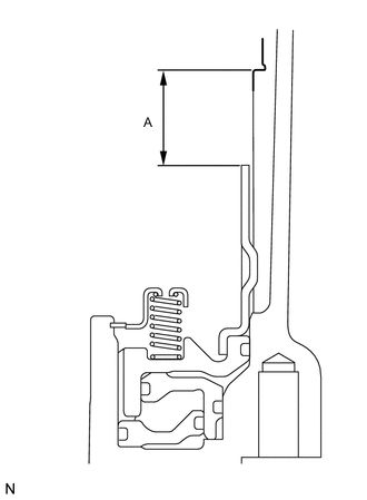
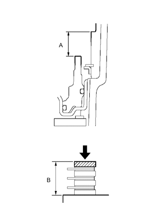
    2. A01MWL4N01

      С помощью штангенциркуля измерьте разность уровней (размер A) верхней поверхности масляной трубки тормоза и контактной поверхности фланца тормоза № 4 с обеих сторон на диаметре поршня тормозного цилиндра 1-й передачи и передачи заднего хода и рассчитайте среднее значение.

      Note

      Поршень тормозного цилиндра 1-й передачи и передачи заднего хода должен быть надежно закреплен на торцевой поверхности картера трансмиссии.

      Tech Tips

      Размер A = 23,32 - 24,18 мм (0,919 - 0,951 дюйма)

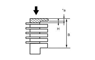
    3. A01MYD3C02
      *a 1,8 мм (0,0709 дюйма)

      Прикладывая усилие не более 4,9 Н (0,5 кгс, 1,1 фунт-силы), с помощью штангенциркуля измерьте общую толщину (размер B) 2 фланцев тормоза № 4, 4 тормозных пластин № 4 и 5 тормозных дисков № 4 с обеих сторон на диаметре и рассчитайте среднее значение.

      Tech Tips

      Размер B = 23,64 - 26,00 мм (0,931 - 1,023 дюйма)

      Зазор уплотнения = размер A - размер B - 0,18 мм (0,00709 дюйма) + 1,8 мм (0,0709 дюйма)

      Зазор уплотнения
      0,5 - 0,8 мм (0,0197 - 0,0314 дюйма)
    4. Если зазор уплотнения не попадает в номинальный диапазон, выберите и установите фланец тормоза № 4, который обеспечивает отвечающий требованиям зазор уплотнения.

      Tech Tips

      Для регулировки зазора уплотнения можно использовать фланцы тормоза № 4 8 типов. Выбирайте фланец с наиболее приемлемой толщиной.

      Толщина H
      Каталожный номер Метка Толщина H
      35689-22020 0 0 мм (0 дюймов)
      35689-22030 2 0,2 мм (0,00787 дюйма)
      35689-22040 4 0,4 мм (0,0157 дюйма)
      35689-22050 6 0,6 мм (0,0236 дюйма)
      35689-22060 8 0,8 мм (0,0315 дюйма)
      35689-22070 10 1,0 мм (0,0394 дюйма)
      35689-22080 12 1,2 мм (0,0472 дюйма)
      35689-22090 14 1,4 мм (0,0551 дюйма)
  4. ПРОВЕРЬТЕ ТОРМОЗНОЙ ДИСК № 4


    1. A01MY88

      Убедитесь в отсутствии износа и подгорания поверхностей трения тормозных дисков № 4, тормозных пластин № 4 и фланца тормоза № 4.

      При необходимости замените их.

      Note


      • Если фрикционные накладки тормозных дисков № 4 отслоились или выцвели, или стерлась хотя бы часть проштампованных номеров, замените все тормозные диски № 4.


      • Перед сборкой новых тормозных дисков № 4 опустите их в трансмиссионную жидкость, как минимум, на 15 минут.

  5. ПРОВЕРЬТЕ ПРОМЕЖУТОЧНЫЙ ВАЛ


    1. A01MXHJ

      С помощью индикатора часового типа проверьте биение промежуточного вала.

      Номинальное биение
      0,03 мм (0,00118 дюйма)

      Если биение превышает номинальное, замените промежуточный вал новым валом.

    2. A01MVUYN01

      С помощью микрометра проверьте наружный диаметр промежуточного вала во всех показанных на рисунке точках.

      Номинальный диаметр
      А
      22,962 - 22,975 мм (0,9041 - 0,9045 дюйма)
      B
      27,759 - 27,775 мм (1,0929 - 1,0935 дюйма)

      Если наружный диаметр меньше номинального, замените промежуточный вал новым валом.

  6. ПРОВЕРЬТЕ ФЛАНЕЦ КОРОННОЙ ШЕСТЕРНИ ЗАДНЕЙ ПЛАНЕТАРНОЙ ПЕРЕДАЧИ В СБОРЕ


    1. A01MW76

      С помощью индикатора часового типа для отверстий измерьте внутренний диаметр коронной шестерни задней планетарной передачи.

      Номинальный внутренний диаметр
      32,19 мм (1,27 дюйма)

      Если внутренний диаметр превышает номинальный, замените фланец коронной шестерни задней планетарной передачи.

  7. ПРОВЕРЬТЕ МУФТУ СВОБОДНОГО ХОДА № 3 В СБОРЕ


    1. A01MYQ2C01
      A01MWAN Заблокировано
      A01MVAU Разблокировано

      Удерживая фланец коронной шестерни задней планетарной передачи в сборе, проверьте вращение муфты свободного хода № 3 в сборе.

    2. Убедитесь, что муфта свободного хода № 3 свободно вращается против часовой стрелки и блокируется при вращении по часовой стрелке.

      Если работа муфты свободного хода № 3 нарушена, замените ее.

  8. ПРОВЕРЬТЕ ЦЕНТРАЛЬНУЮ ПЛАНЕТАРНУЮ ПЕРЕДАЧУ В СБОРЕ


    1. A01MZ61

      С помощью комплекта плоских щупов измерьте осевой зазор ведущей шестерни центральной планетарной передачи.

      Номинальный зазор
      0,12 - 0,68 мм (0,00473 - 0,0267 дюйма)

      Если зазор превышает номинальный, замените центральную планетарную передачу в сборе.

  9. ПРОВЕРЬТЕ ТОРМОЗНОЙ ДИСК № 2


    1. A01MY88

      Убедитесь в отсутствии износа и подгорания поверхностей трения тормозных дисков № 2, тормозных пластин № 2 и фланца тормоза № 2.

      При необходимости замените их.

      Note


      • Если фрикционные накладки тормозных дисков № 2 отслоились или выцвели, или стерлась хотя бы часть проштампованных номеров, замените все тормозные диски № 2.


      • Перед сборкой новых тормозных дисков № 2 опустите их в трансмиссионную жидкость, как минимум, на 15 минут.

  10. ПРОВЕРЬТЕ СТЯЖНУЮ ПРУЖИНУ ПОРШНЯ ТОРМОЗНОГО ЦИЛИНДРА № 2 В СБОРЕ


    1. A01MUUR

      С помощью штангенциркуля измерьте длину пружины с седлом в свободном состоянии.

      Номинальная длина в свободном состоянии
      22,66 мм (0,892 дюйма)

      Если длина в свободном состоянии меньше номинальной, замените стяжную пружину поршня тормозного цилиндра № 2 в сборе.

  11. ПРОВЕРЬТЕ ХОД ПОРШНЯ ТОРМОЗНОГО ЦИЛИНДРА № 2


    1. A01MX8I

      Прерывисто подавая сжатый воздух (под давлением 392 кПа, 4,0 кгс/см2, 57 фунтов на кв. дюйм) убедитесь, что поршень тормозного цилиндра № 2 перемещается плавно.

    2. A01MUKNN01

      Подавая сжатый воздух (под давлением 392 кПа, 4,0 кгс/см2, 57 фунтов на кв. дюйм) в отверстие для масла, как показано на рисунке, с помощью SST и индикатора часового типа измерьте расстояние перемещения (расстояние A) тормозного диска на противоположных сторонах диаметра и рассчитайте среднее значение.

      SST
      09350-30020   ( 09350-06120 )
      Ход поршня
      0,6 - 0,9 мм (0,0237 - 0,0354 дюйма)
    3. Если ход поршня не попадает в номинальный диапазон, выберите и установите фланец тормоза № 2, который обеспечивает отвечающий требованиям ход поршня.

      Tech Tips

      Для регулировки хода поршня можно использовать фланцы тормоза № 2 8 типов. Выбирайте фланец с наиболее приемлемой толщиной.

      Толщина фланца
      Каталожный номер Метка Толщина
      35678-22020 0 2,0 мм (0,0787 дюйма)
      35678-22030 1 2,1 мм (0,0827 дюйма)
      35678-22040 2 2,2 мм (0,0866 дюйма)
      35678-22050 3 2,3 мм (0,0906 дюйма)
      35678-22060 4 2,4 мм (0,0945 дюйма)
      35678-22070 5 2,5 мм (0,0984 дюйма)
      35678-22080 6 2,6 мм (0,102 дюйма)
      35678-22090 7 2,7 мм (0,106 дюйма)
  12. ПРОВЕРЬТЕ СТЯЖНУЮ ПРУЖИНУ ПОРШНЯ ТОРМОЗНОГО ЦИЛИНДРА В СБОРЕ


    1. A01MUL4

      С помощью штангенциркуля измерьте длину пружины с седлом в свободном состоянии.

      Номинальная длина в свободном состоянии
      17,05 мм (0,671 дюйма)

      Если длина в свободном состоянии меньше номинальной, замените стяжную пружину поршня тормозного цилиндра в сборе.

  13. ПРОВЕРЬТЕ ПЕРЕДНЮЮ ПЛАНЕТАРНУЮ ПЕРЕДАЧУ В СБОРЕ


    1. A01MUZH

      С помощью комплекта плоских щупов измерьте осевой зазор ведущей шестерни передней планетарной передачи.

      Номинальный зазор
      0,20-0,60 мм (0,00788-0,0236 дюйма)

      Если зазор превышает номинальный, замените переднюю планетарную передачу в сборе.

    2. A01MV8U

      С помощью нутромера измерьте внутренний диаметр втулки передней планетарной передачи.

      Номинальный внутренний диаметр
      48,78 мм (1,92 дюйма)

      Если внутренний диаметр превышает номинальный, замените переднюю планетарную передачу в сборе.

  14. ПРОВЕРЬТЕ МУФТУ СВОБОДНОГО ХОДА В СБОРЕ


    1. A01MXPGC01
      A01MWAN Заблокировано
      A01MVAU Разблокировано

      Установите муфту свободного хода в сборе на внутреннее кольцо муфты свободного хода.

    2. Удерживая внутреннее кольцо муфты свободного хода, проверьте вращение муфты свободного хода в сборе.

    3. Убедитесь, что муфта свободного хода свободно вращается против часовой стрелки и блокируется при вращении по часовой стрелке.

      Если работа муфты свободного хода нарушена, замените ее.

    4. Снимите муфту свободного хода в сборе с внутреннего кольца муфты свободного хода.

  15. ПРОВЕРЬТЕ ХОД ПОРШНЯ ТОРМОЗНОГО ЦИЛИНДРА № 1


    1. A01MYEP

      Прерывисто подавая сжатый воздух (под давлением 392 кПа, 4,0 кгс/см2, 57 фунтов на кв. дюйм) убедитесь, что поршень тормозного цилиндра № 1 перемещается плавно.

    2. A01MV20N01

      С помощью штангенциркуля измерьте разность уровней (размер A) верхней поверхности поршня тормозного цилиндра № 1 и контактной поверхности фланца тормоза № 1 с обеих сторон на диаметре поршня тормозного цилиндра № 1.

    3. Приложив усилие 4,9 Н (0,5 кгс, 1,1 фунт-силы) или менее, с помощью штангенциркуля измерьте общую толщину (размер B) фланца тормоза № 1, 3 тормозных пластин № 1 и 3 тормозных дисков № 1 с обеих сторон на диаметре и рассчитайте среднее значение.

      Tech Tips

      Размер A = 15,27-15,92 мм (0,602-0,626 дюйма)

      Размер B = 14,50-15,54 мм (0,571-0,611 дюйма)

      Ход поршня = размер A - размер B

      Ход поршня
      0,42 - 0,72 мм (0,0166 - 0,0283 дюйма)
    4. Если величина хода поршня не попадает в номинальный диапазон, возможно, сборка выполнена неправильно, поэтому проверьте и переберите узел.

    5. Если ход поршня по-прежнему выходит за пределы номинального диапазона, подберите другой фланец тормоза № 1, который будет обеспечивать надлежащий ход поршня.

      Tech Tips

      Для регулировки хода поршня можно использовать фланцы тормоза № 1 4 типов. Выбирайте фланец с наиболее приемлемой толщиной.

      Толщина фланца
      Каталожный номер Метка Толщина
      35676-22040 0 2,0 мм (0,0787 дюйма)
      35676-22050 1 2,2 мм (0,0866 дюйма)
      35676-22060 2 2,4 мм (0,0945 дюйма)
      35676-22070 3 2,6 мм (0,102 дюйма)
  16. ПРОВЕРЬТЕ ТОРМОЗНОЙ ДИСК № 1


    1. A01MY88

      Убедитесь в отсутствии износа и подгорания поверхностей трения тормозных дисков № 1, тормозных пластин № 1 и фланца тормоза № 1.

      При необходимости замените их.

      Note


      • Если фрикционные накладки тормозных дисков № 1 отслоились или выцвели, или стерлась хотя бы часть канавки, замените все тормозные диски № 1.


      • Перед сборкой новых тормозных дисков № 1 опустите их в трансмиссионную жидкость, как минимум, на 15 минут.

  17. ПРОВЕРЬТЕ СТЯЖНУЮ ПРУЖИНУ ПОРШНЯ ТОРМОЗНОГО ЦИЛИНДРА № 3 В СБОРЕ


    1. A01MWRH

      С помощью штангенциркуля измерьте длину пружины с седлом в свободном состоянии.

      Номинальная длина в свободном состоянии
      15,72 мм (0,619 дюйма)

      Если длина в свободном состоянии меньше номинальной, замените стяжную пружину поршня тормозного цилиндра № 3 в сборе.

  18. ПРОВЕРЬТЕ ТОРМОЗНОЙ ДИСК № 3 (НАБОР ТОРМОЗНЫХ ДИСКОВ 2-Й ПЕРЕДАЧИ)


    1. A01MY88

      Убедитесь в отсутствии износа и подгорания поверхностей трения тормозных дисков № 3, тормозных пластин № 3 и фланца тормоза № 3.

      При необходимости замените их.

      Note


      • Если фрикционные накладки тормозных дисков № 3 отслоились или выцвели, или стерлась хотя бы часть проштампованных номеров, замените все тормозные диски № 3.


      • Перед сборкой новых тормозных дисков № 3 опустите их в трансмиссионную жидкость, как минимум, на 15 минут.

  19. ПРОВЕРЬТЕ МУФТУ СВОБОДНОГО ХОДА № 2 В СБОРЕ


    1. A01MZ1BC01
      A01MWAN Заблокировано
      A01MVAU Разблокировано

      Удерживая ступицу муфты заднего хода, проверьте вращение муфты свободного хода № 2 в сборе.

    2. Убедитесь, что муфта свободного хода № 2 свободно вращается по часовой стрелке и блокируется при вращении против часовой стрелки.

      Если работа муфты свободного хода № 2 нарушена, замените ее.

  20. ПРОВЕРЬТЕ РАБОТУ КАЖДОГО ПОРШНЯ


    1. A01MVR4C01
      *a Муфта № 1
      *b Муфта № 2
      *c Муфта № 3
      *d Муфта № 4
      *e Тормоз № 1
      *f Тормоз № 2
      *g Тормоз № 3
      *h Тормоз № 4 (впуск)
      *i Тормоз № 4 (выпуск)

      Подавая сжатый воздух в отверстия для заливки масла, показанные на рисунке, проверьте наличие звука срабатывания.

      Если звук отсутствует, разберите узел и проверьте состояние и монтаж входящих в него деталей.

  21. ПРОВЕРЬТЕ МУФТУ СВОБОДНОГО ХОДА № 4 В СБОРЕ


    1. A01MWZ5C01
      A01MWAN Заблокировано
      A01MVAU Разблокировано

      Удерживая ступицу муфты движения по инерции, проверьте вращение муфты свободного хода № 4 в сборе.

    2. Убедитесь, что муфта свободного хода № 4 свободно вращается по часовой стрелке и блокируется при вращении против часовой стрелки.

      Если работа муфты свободного хода № 4 нарушена, замените ее.

  22. ПРОВЕРЬТЕ СТЯЖНУЮ ПРУЖИНУ МУФТЫ ПРЯМОЙ ПЕРЕДАЧИ В СБОРЕ


    1. A01MXIO

      С помощью штангенциркуля измерьте длину пружины с седлом в свободном состоянии.

      Номинальная длина в свободном состоянии
      20,02 мм (0,788 дюйма)

      Если длина в свободном состоянии меньше номинальной, замените стяжную пружину муфты прямой передачи в сборе.

  23. ПРОВЕРЬТЕ СТЯЖНУЮ ПРУЖИНУ МУФТЫ ЗАДНЕГО ХОДА В СБОРЕ


    1. A01MXIO

      С помощью штангенциркуля измерьте длину пружины с седлом в свободном состоянии.

      Номинальная длина в свободном состоянии
      21,03 мм (0,828 дюйма)

      Если длина в свободном состоянии меньше номинальной, замените стяжную пружину муфты заднего хода в сборе.

  24. ПРОВЕРЬТЕ ДИСК МУФТЫ ПРЯМОЙ ПЕРЕДАЧИ (МУФТЫ № 2)


    1. A01MY88

      Проверьте, нет ли износа и подгорания поверхностей трения дисков, пластин и фланца муфты прямой передачи.

      При необходимости замените их.

      Note


      • Если фрикционные накладки дисков муфты прямой передачи отслоились или выцвели, или стерлась хотя бы часть проштампованных номеров, замените все диски муфты прямой передачи.


      • Перед сборкой новых дисков муфты прямой передачи опустите их в трансмиссионную жидкость, как минимум, на 15 мин.

  25. ПРОВЕРЬТЕ ЗАЗОР УПЛОТНЕНИЯ МУФТЫ № 2


    1. A01MW89N01

      Подавая сжатый воздух (под давлением 392 кПа, 4,0 кгс/см2, 57 фунтов на кв. дюйм) в отверстие для масла, как показано на рисунке, с помощью индикатора часового типа измерьте расстояние перемещения (расстояние A) фланца муфты прямой передачи на противоположных сторонах диаметра и рассчитайте среднее значение.

      Tech Tips

      Расстояние перемещения фланца A = 0,24-1,12 мм (0,00944-0,0440 дюйма)

      Зазор уплотнения = расстояние перемещения фланца A - 0,03 мм (0,00118 дюйма)

      Зазор уплотнения
      0,5 - 0,8 мм (0,0197 - 0,0314 дюйма)

      Note

      Для измерения расстояния перемещения установите стандартный фланец (толщина: 3,4 мм (0,134 дюйма)) в положение, соответствующее заштрихованной области на рисунке.

    2. Если зазор уплотнения выходит за пределы номинального диапазона, выберите и установите фланец муфты прямой передачи, который обеспечивает отвечающий требованиям зазор уплотнения.

      Tech Tips

      Для регулировки зазора уплотнения можно использовать фланцы муфты переднего хода 9 типов. Выбирайте фланец с наиболее приемлемой толщиной.

      Толщина фланца
      Каталожный номер Метка Толщина
      35675-22150 0 3,0 мм (0,118 дюйма)
      35675-22160 1 3,1 мм (0,122 дюйма)
      35675-22170 2 3,2 мм (0,126 дюйма)
      35675-22180 3 3,3 мм (0,130 дюйма)
      35675-22190 4 3,4 мм (0,134 дюйма)
      35675-22200 5 3,5 мм (0,138 дюйма)
      35675-22210 6 3,6 мм (0,142 дюйма)
      35675-22220 7 3,7 мм (0,146 дюйма)
      35675-22230 8 3,8 мм (0,150 дюйма)
  26. ПРОВЕРЬТЕ ЗАЗОР УПЛОТНЕНИЯ МУФТЫ № 3


    1. Подавая сжатый воздух (под давлением 392 кПа, 4,0 кгс/см2, 57 фунтов на кв. дюйм) в отверстие для масла, как показано на рисунке, с помощью индикатора часового типа измерьте ход поршня муфты заднего хода (расстояние A) и расстояние перемещения (расстояние B) фланца муфты заднего хода на противоположных сторонах диаметра и рассчитайте среднее значение.

      A01MUXTN01

      Tech Tips

      Ход поршня A = 1,62-2,68 мм (0,0638-0,105 дюйма)

      Расстояние перемещения фланца B = 1,22-1,67 мм (0,0481-0,0657 дюйма)

      Зазор уплотнения = ход поршня A - расстояние перемещения фланца B - 0,02 мм (0,000787 дюйма)

      Зазор уплотнения
      0,4 - 0,7 мм (0,0158 - 0,0275 дюйма)

      Note

      Для измерения расстояния перемещения установите стандартный фланец (толщина: 2,8 мм (0,110 дюйма)) в положение, соответствующее заштрихованной области на рисунке.

    2. Если зазор уплотнения выходит за пределы номинального диапазона, выберите и установите фланец муфты заднего хода, который обеспечивает отвечающий требованиям зазор уплотнения.

      Tech Tips

      Для регулировки зазора уплотнения можно использовать фланцы муфты заднего хода 12 типов. Выбирайте фланец с наиболее приемлемой толщиной.

      Толщина фланца
      Каталожный номер Метка Толщина
      35649-22020 0 2,4 мм (0,0945 дюйма)
      35649-22030 1 2,5 мм (0,0984 дюйма)
      35649-22040 2 2,6 мм (0,102 дюйма)
      35649-22050 3 2,7 мм (0,106 дюйма)
      35649-22060 4 2,8 мм (0,110 дюйма)
      35649-22070 5 2,9 мм (0,114 дюйма)
      35649-22080 6 3,0 мм (0,118 дюйма)
      35649-22090 7 3,1 мм (0,122 дюйма)
      35649-22100 8 3,2 мм (0,126 дюйма)
      35649-22110 9 3,3 мм (0,130 дюйма)
      35649-22120 A 3,4 мм (0,134 дюйма)
      35649-22130 B 3,5 мм (0,138 дюйма)
  27. ПРОВЕРЬТЕ СТЯЖНУЮ ПРУЖИНУ МУФТЫ ПЕРЕДНЕГО ХОДА В СБОРЕ


    1. A01MXIO

      С помощью штангенциркуля измерьте длину пружины с седлом в свободном состоянии.

      Номинальная длина в свободном состоянии
      26,29 мм (1,04 дюйма)

      Если длина в свободном состоянии меньше номинальной, замените стяжную пружину муфты переднего хода в сборе.

  28. ПРОВЕРЬТЕ ДИСК МУФТЫ ДВИЖЕНИЯ ПО ИНЕРЦИИ (МУФТЫ № 4)


    1. A01MY88

      Проверьте, нет ли износа и подгорания поверхностей трения дисков, пластин и фланца муфты движения по инерции.

      При необходимости замените их.

      Note


      • Если фрикционные накладки дисков муфты движения по инерции отслоились или выцвели, или стерлась хотя бы часть проштампованных номеров, замените все диски муфты движения по инерции.


      • Перед сборкой новых дисков муфты движения по инерции опустите их в трансмиссионную жидкость, как минимум, на 15 мин.

  29. ПРОВЕРЬТЕ ЗАЗОР УПЛОТНЕНИЯ МУФТЫ № 1


    1. A01MXKWN01

      Подавая сжатый воздух (под давлением 196 кПа, 2,0 кгс/см2, 28 фунтов на кв. дюйм) в отверстие для масла, как показано на рисунке, с помощью индикатора часового типа измерьте расстояние перемещения (расстояние A) фланца муфты прямой передачи на противоположных сторонах диаметра и рассчитайте среднее значение.

      Tech Tips

      расстояние перемещения фланца A = 0,14 - 0,17 мм (0,00552 - 0,00669 дюйма)

      Зазор уплотнения = расстояние перемещения фланца A - 0,01 мм (0,000394 дюйма)

      Зазор уплотнения
      0,56 - 0,86 мм (0,0221 - 0,0338 дюйма)

      Note

      Для измерения расстояния перемещения установите стандартный фланец (толщина: 3,5 мм (0,138 дюйма)) в положение, соответствующее заштрихованной области на рисунке.

    2. Если зазор уплотнения выходит за пределы номинального диапазона, выберите и установите фланец муфты переднего хода, который обеспечивает отвечающий требованиям зазор уплотнения.

      Tech Tips

      Для регулировки зазора уплотнения можно использовать фланцы муфты переднего хода 10 типов. Выбирайте фланец с наиболее приемлемой толщиной.

      Толщина фланца
      Каталожный номер Метка Толщина
      35635-22010 0 3,0 мм (0,118 дюйма)
      35635-22020 1 3,1 мм (0,122 дюйма)
      35635-22030 2 3,2 мм (0,126 дюйма)
      35635-22040 3 3,3 мм (0,130 дюйма)
      35635-22050 4 3,4 мм (0,134 дюйма)
      35635-22060 5 3,5 мм (0,138 дюйма)
      35635-22070 6 3,6 мм (0,142 дюйма)
      35635-22080 7 3,7 мм (0,146 дюйма)
      35635-22090 8 3,8 мм (0,150 дюйма)
      35635-22100 9 3,9 мм (0,154 дюйма)
  30. ПРОВЕРЬТЕ ДИСК МУФТЫ ПЕРЕДНЕГО ХОДА (МУФТЫ № 1)


    1. A01MY88

      Проверьте, нет ли износа и подгорания поверхностей трения дисков, пластин и фланца муфты переднего хода.

      При необходимости замените их.

      Note


      • Если фрикционные накладки дисков муфты переднего хода отслоились или выцвели, или стерлась хотя бы часть проштампованных номеров, замените все диски муфты переднего хода.


      • Перед сборкой новых дисков муфты передней передачи опустите их в трансмиссионную жидкость, как минимум, на 15 мин.

  31. ПРОВЕРЬТЕ ЗАЗОР УПЛОТНЕНИЯ МУФТЫ № 4


    1. A01MUQGN01

      Подавая сжатый воздух (под давлением 196 кПа, 2,0 кгс/см2, 28 фунтов на кв. дюйм) в отверстие для масла, как показано на рисунке, с помощью индикатора часового типа измерьте расстояние перемещения (расстояние A) фланца муфты движения по инерции на противоположных сторонах диаметра и рассчитайте среднее значение.

      Tech Tips

      Расстояние перемещения фланца A = 0,02 - 1,01 мм (0,000787 - 0,0397 дюйма)

      Зазор уплотнения = расстояние перемещения фланца A - 0,01 мм (0,000394 дюйма)

      Зазор уплотнения
      0,4 - 0,7 мм (0,0158 - 0,0275 дюйма)

      Note

      Для измерения расстояния перемещения установите стандартный фланец (толщина: 3,5 мм (0,138 дюйма)) в положение, соответствующее заштрихованной области на рисунке.

    2. Если зазор уплотнения выходит за пределы номинального диапазона, выберите и установите фланец муфты движения по инерции, который обеспечивает отвечающий требованиям зазор уплотнения.

      Tech Tips

      Для регулировки зазора уплотнения можно использовать фланцы муфты движения по инерции 10 типов. Выбирайте фланец с наиболее приемлемой толщиной.

      Толщина фланца
      Каталожный номер Метка Толщина
      35675-22240 0 3,0 мм (0,118 дюйма)
      35675-22250 1 3,1 мм (0,122 дюйма)
      35675-22260 2 3,2 мм (0,126 дюйма)
      35675-22270 3 3,3 мм (0,130 дюйма)
      35675-22280 4 3,4 мм (0,134 дюйма)
      35675-22280 5 3,5 мм (0,138 дюйма)
      35675-22300 6 3,6 мм (0,142 дюйма)
      35675-22310 7 3,7 мм (0,146 дюйма)
      35675-22320 8 3,8 мм (0,150 дюйма)
      35675-22330 9 3,9 мм (0,154 дюйма)
  32. ПРОВЕРЬТЕ СТУПИЦУ МУФТЫ ПЕРЕДНЕГО ХОДА В СБОРЕ


    1. A01MWQU

      С помощью индикатора часового типа для отверстий измерьте внутренний диаметр втулки ступицы муфты переднего хода.

      Номинальный внутренний диаметр
      23,037 - 23,062 мм (0,9070 - 0,9079 дюйма)

      Если внутренний диаметр превышает номинальный, замените ступицу муфты переднего хода.

  33. ПРОВЕРЬТЕ ДИСК МУФТЫ ЗАДНЕГО ХОДА (МУФТЫ № 3)


    1. A01MY88

      Проверьте, нет ли износа и подгорания поверхностей трения дисков, пластин и фланца муфты заднего хода.

      При необходимости замените их.

      Note


      • Если фрикционные накладки дисков муфты заднего хода отслоились или выцвели, или стерлась хотя бы часть проштампованных номеров, замените все диски муфты заднего хода.


      • Перед сборкой новых дисков муфты задней передачи опустите их в трансмиссионную жидкость, как минимум, на 15 мин.

  34. ПРОВЕРЬТЕ СТУПИЦУ МУФТЫ ЗАДНЕГО ХОДА В СБОРЕ


    1. A01MXMK

      С помощью индикатора часового типа для отверстий измерьте внутренний диаметр втулки ступицы муфты заднего хода.

      Номинальный внутренний диаметр
      33,312 - 33,337 мм (1,3115 - 1,3124 дюйма)

      Если внутренний диаметр превышает номинальный, замените ступицу муфты заднего хода.